GM Service Manual Online
For 1990-2009 cars only
Table 1: Clutch Start Switch
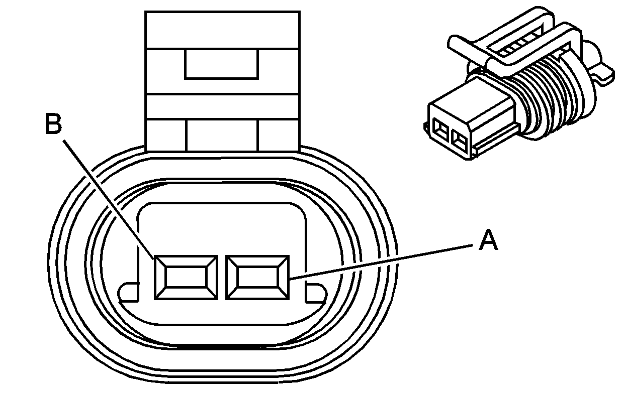
Table 2: Vehicle Speed Sensor

Clutch Start Switch


Object Number: 73231  Size: CH

Connector Part Information

    • 12064860
    • 6-Way F Metri-Pack 150 Series (BLK)

Pin

Wire Color

Circuit No.

Function

A

PPL

420

Cruise Control Release Signal

B

BRN/WHT

379

CPP Switch Signal

C

PNK

639

Ignition 1 Voltage

D

DK GRN

1433

Clutch Start Switch Signal

E

BRN

441

Ignition 3 Voltage

F

GRY

48

CPP Switch Signal

Vehicle Speed Sensor


Object Number: 1377976  Size: CH

Connector Part Information

    • 15336024
    • 2-Way F GT 150 Series Sealed (BLK)

Pin

Wire Color

Circuit No.

Function

A

PPL/WHT

821

VSS High Signal

B

LT GRN/BLK

822

VSS Low Signal