GM Service Manual Online
For 1990-2009 cars only

Exhaust Moan/Vibration (Replace Converter Assembly and Exhaust Muffler Assembly)

Subject:Exhaust Moan/Vibration (Replace Converter Assembly and Exhaust Muffler Assembly)

Models:2004-2005 Chevrolet Silverado 2500HD/3500HD Series Crew Cab Short Box Pickups
2004-2005 GMC Sierra 2500HD/3500HD Series Crew Cab Short Box Pickups
with 6.6L Diesel Engine (VIN 2 -- RPO LLY)



Condition

Some customers may comment on a moan or vibration at vehicle speeds approximately 87-97 km/h (55-60 mph) and at approximately 1700-1800 RPM.

Correction

Replace the catalytic converter assembly and exhaust muffler assembly using the procedure listed below.

  1. Raise and suitably support the vehicle.
  2. Remove the spare tire.
  3. Install adjustable jack stands under the rear axle.
  4. Remove the rear axle vent hose from the rear axle.
  5. Remove the vent hose swivel clip from the rear brake crossover pipe.

  6. Object Number: 665315  Size: SH
  7. Remove the rear shock absorbers lower bolts and nuts.
  8. Lower the rear axle using the adjustable jack stands.

  9. Object Number: 1684757  Size: SH
  10. Loosen the catalytic converter coupling nuts.
  11. With the aid of an assistant, support the exhaust muffler.

  12. Object Number: 1684758  Size: SH
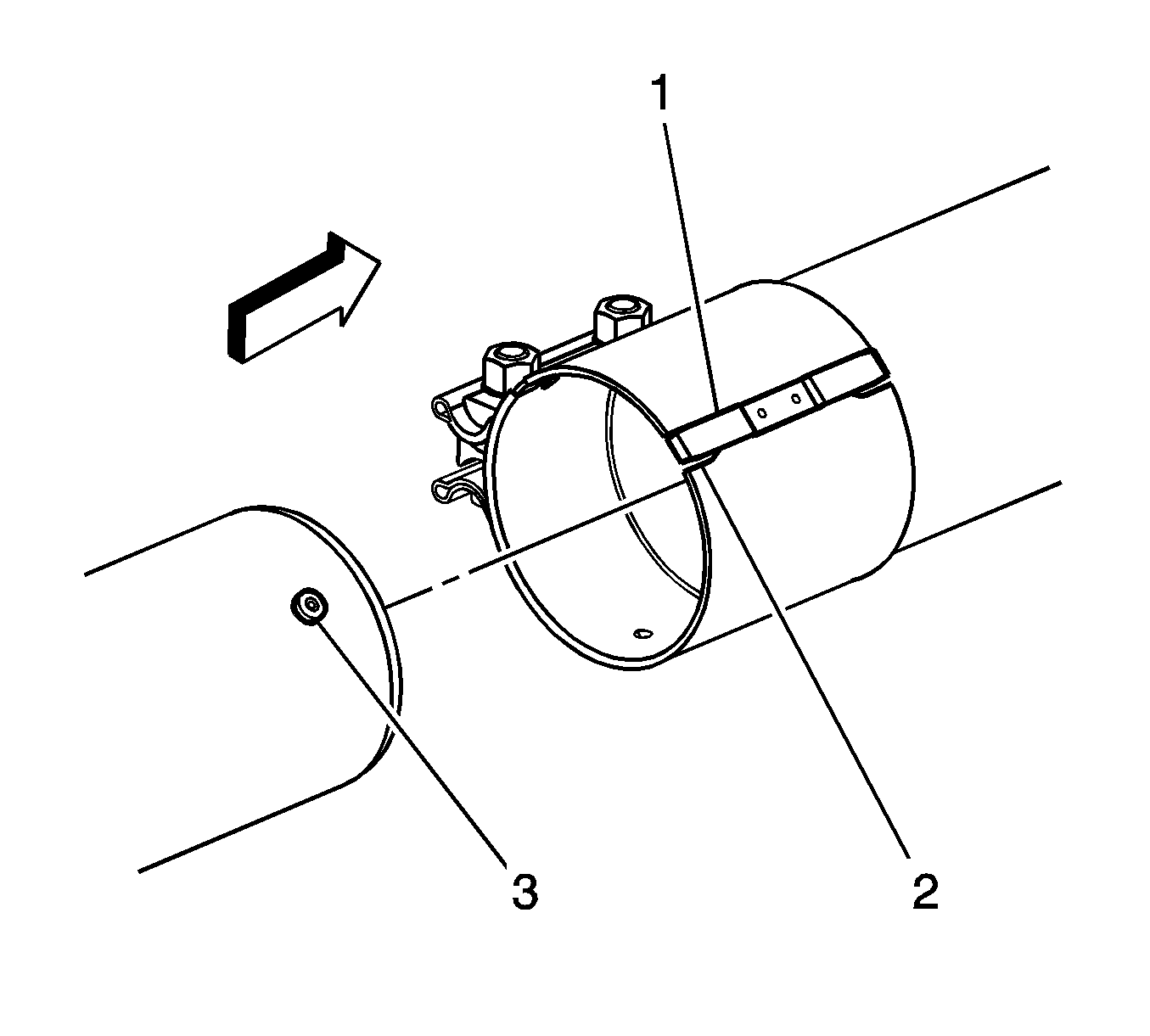
  13. Gently pry up the catalytic converter coupling clip (1) (on the muffler end) in order to disengage the locator button (3) from the coupling clip.
  14. With the aid of an assistant, slide the muffler rearward until the locator button is fully disengaged.

  15. Object Number: 694340  Size: SH
  16. Remove the insulators from the frame hangers.
  17. With the aid of an assistant, remove the muffler assembly from the vehicle.
  18. Support the transmission with a suitable transmission jack.
  19. Remove the transmission mount to transmission support nuts.
  20. Raise the transmission off of the transmission support.

  21. Object Number: 788013  Size: SH
  22. Remove the transmission support crossmember bolts.
  23. Remove the transmission support crossmember.

  24. Object Number: 1684756  Size: SH
  25. Loosen the exhaust pipe clamp.
  26. Slide the exhaust pipe clamp up onto the exhaust pipe.
  27. Slide the catalytic converter hanger out of the insulator.
  28. Remove the catalytic converter.
  29. Apply water based lubricant to the exhaust pipe hanger bracket, in order to aid in installation.
  30. Slide the catalytic converter hanger into the insulator.

  31. Object Number: 668379  Size: SH

    Important: Ensure that the manifold pipe is square to the exhaust pipe adapter.

  32. Slide the exhaust pipe clamp down and around the pipe connection.
  33. Tighten the exhaust pipe clamp.
  34. Tighten
    Tighten the clamp to 40 N·m (30 lb ft).


    Object Number: 647997  Size: SH
  35. Lower the transmission onto the transmission support.
  36. Install the transmission mount to transmission support nuts.
  37. Tighten
    Tighten the bolts to 40 N·m (30 lb ft).

  38. Remove the support from the transmission.

  39. Object Number: 1684758  Size: SH
  40. With the aid of an assistant, align the new muffler, locator button (3) to the catalytic converter coupling groove (2).
  41. Install the muffler until the locator button is fully engaged by the coupling clip (1).

  42. Object Number: 694340  Size: SH

    Important: Apply lubricant to the insulators to aid in installation.

  43. Install the insulators to the frame hangers.

  44. Object Number: 1684757  Size: SH
  45. Tighten the catalytic converter coupling nuts until snug.
  46. Once snug, tighten the catalytic converter coupling nuts.
  47. Tighten
    Tighten the nuts to 45 N·m (33 lb ft).


    Object Number: 665315  Size: SH
  48. Raise the rear axle using the adjustable jack stands.
  49. Install the rear shock absorbers lower bolts and nuts.
  50. Tighten
    Tighten the bolts to 95 N·m (70 lb ft).

  51. Install the rear axle vent hose to the rear axle.
  52. Connect the vent hose swivel clip to the rear brake crossover pipe.
  53. Remove the adjustable jack stands from under the rear axle.
  54. Install the spare tire.
  55. Lower the vehicle.

Parts Information

Part Number

Description

Qty

15229341

Converter Asm. -- Oxidation Catalytic

1

15229356

Muffler Asm. -- Exhaust

1

Warranty Information

For vehicles repaired under warranty, use:

Labor Operation

Description

Labor Time

L9707*

Exhaust System (Complete) - Replace

1.6 hrs

*This is a unique labor operation number for bulletin use only. This number will not be published in the Labor Time Guide.