GM Service Manual Online
For 1990-2009 cars only
Makes
🢒
Chevrolet
🢒
2004
🢒
Chevy C Silverado - 2WD
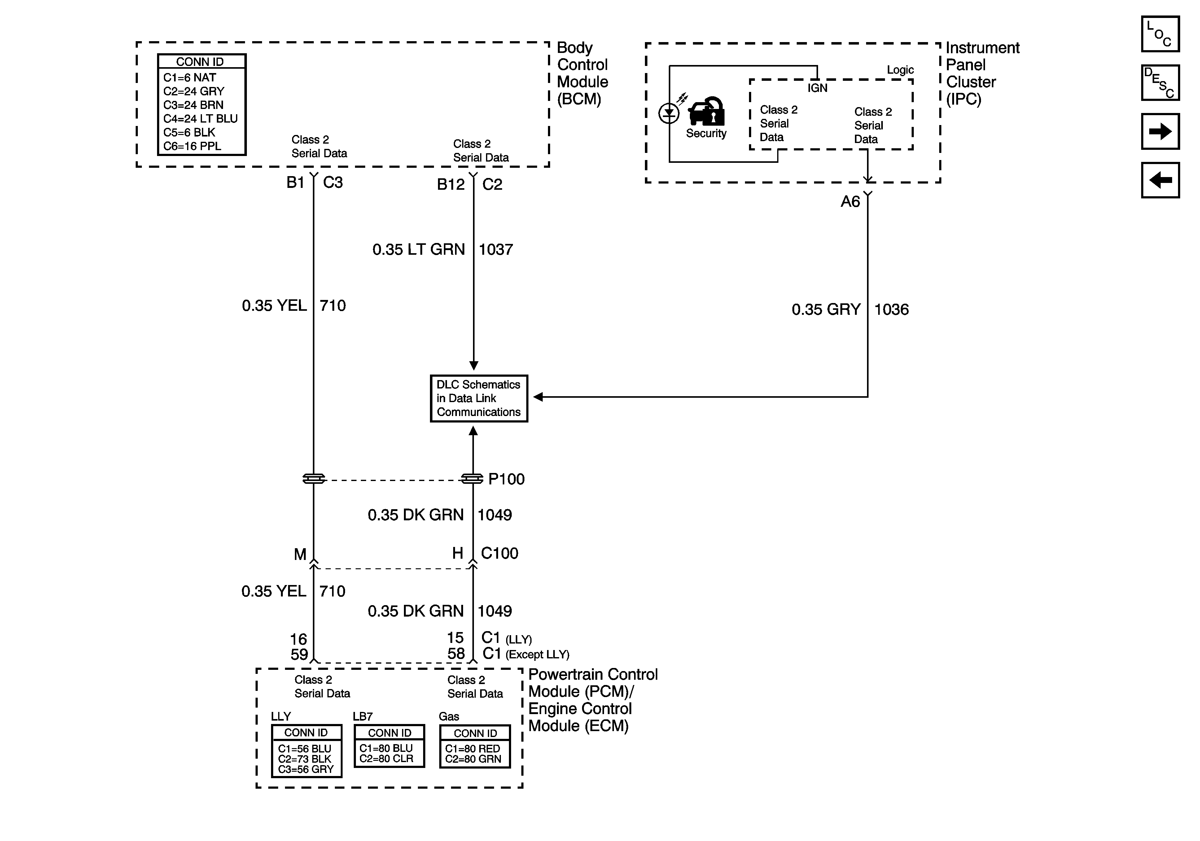
🢒 Class 2 Communication
Class 2 Communication
Class 2 Communication
Master Electrical Component List
Vehicle Theft Deterrent (VTD) Description and Operation
Door Switch Signals
Vehicle Theft Deterrent
SP205 - 2 of 2