GM Service Manual Online
For 1990-2009 cars only
Makes
🢒
Chevrolet
🢒
2004
🢒
Chevy C Silverado - 2WD
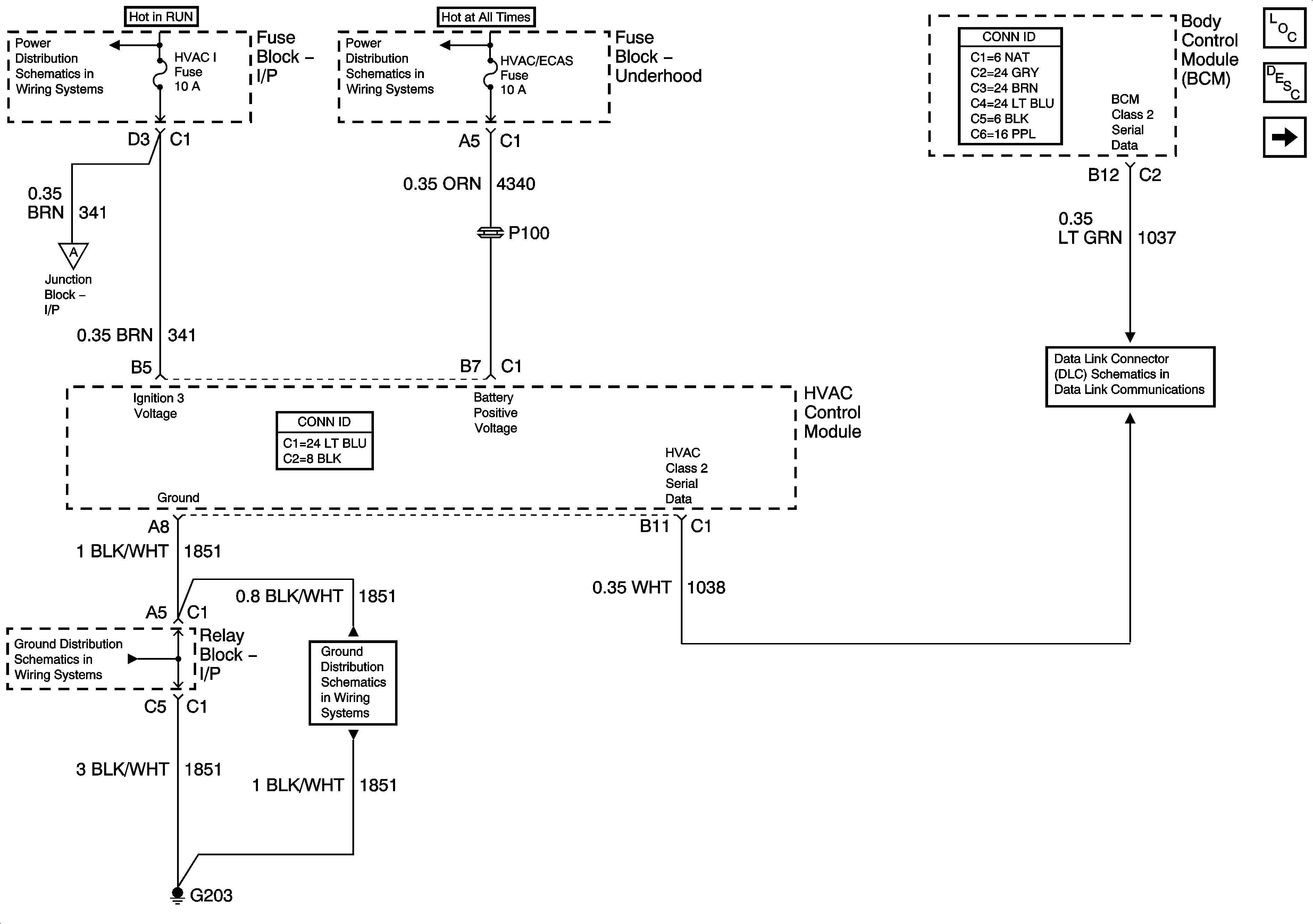
🢒 Power, Ground, and Serial Data
Power, Ground, and Serial Data
Power, Ground, and Serial Data
Master Electrical Component List
Air Temperature Description and Operation
Front Blower Controls
BRAKE, HTR/AC, and HVAC 1 Fuses
HVAC/ECAS, RR HVAC, BLOWER, RR DEFOG, STOP LP, and TREC Fuses
Mode and Recirculation Door Controls
G203 - 1 of 3
G203 - 1 of 3
SP205 - 1 of 2