GM Service Manual Online
For 1990-2009 cars only
Makes
🢒
Chevrolet
🢒
2004
🢒
Chevy C Silverado - 2WD
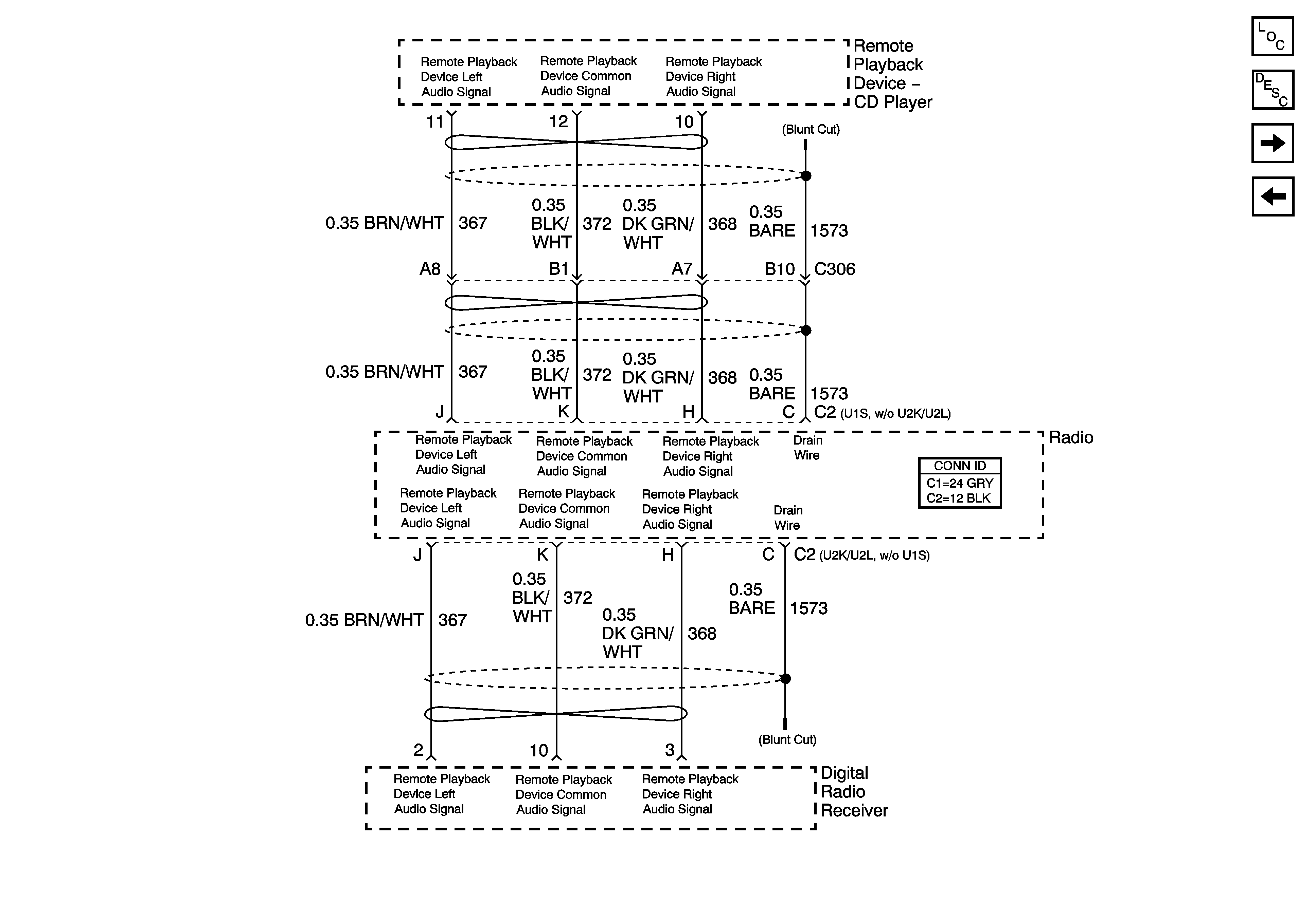
🢒 Audio Signals - 1 of 2
Audio Signals - 1 of 2
Audio Signals - 1 of 2
Master Electrical Component List
Radio/Audio System Description and Operation
Audio Signals - 2 of 2
Power, Ground, Serial Data, and Low Level Audio Signals