GM Service Manual Online
For 1990-2009 cars only
Makes
🢒
Chevrolet
🢒
2004
🢒
Chevy C Silverado - 2WD
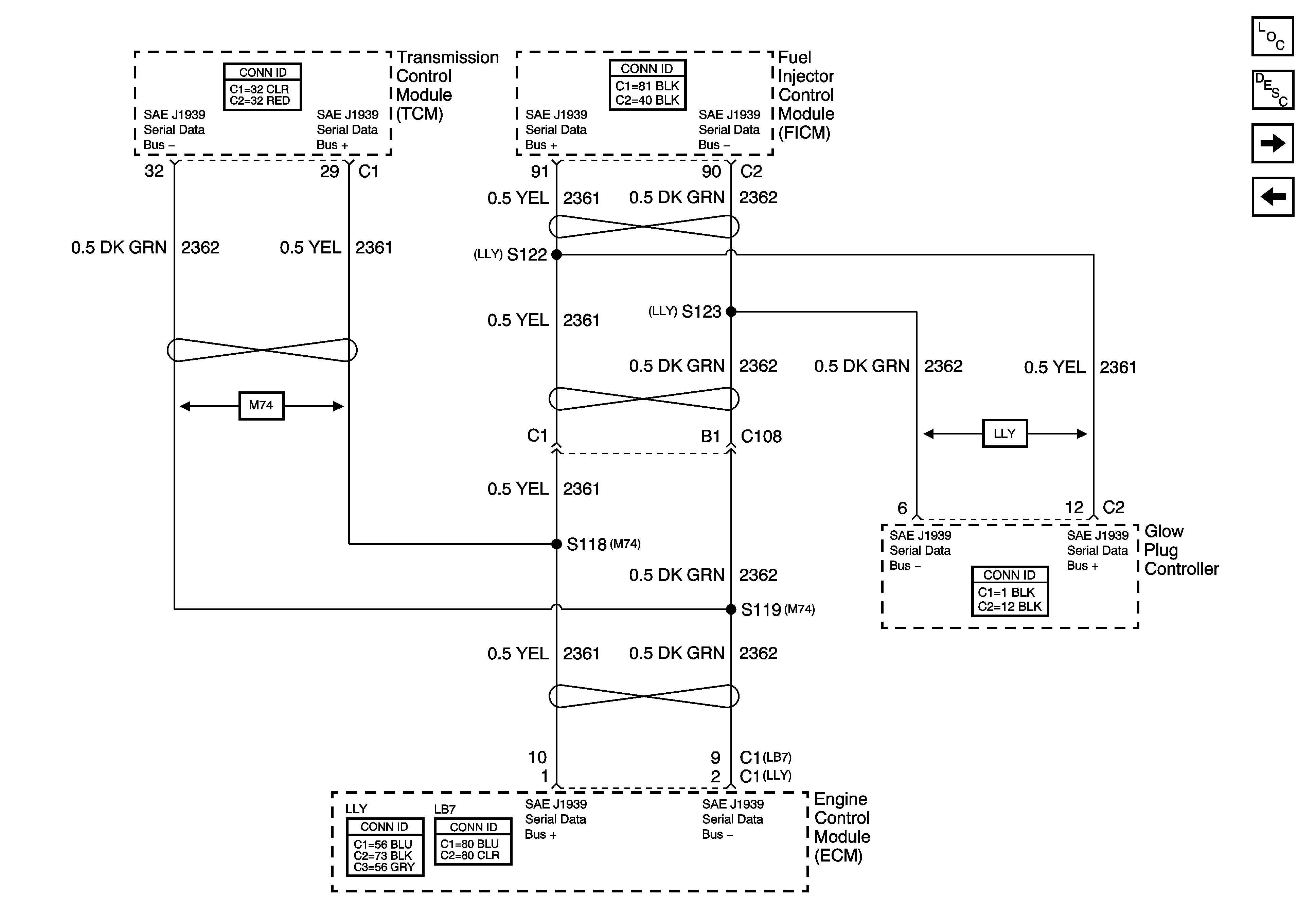
🢒 Controller Area Network (CAN) - Diesel
Controller Area Network (CAN) - Diesel
Controller Area Network (CAN) - Diesel
Master Electrical Component List
Data Link Communications Description and Operation
High Speed GMLAN - Hybrid Only
SP207