GM Service Manual Online
For 1990-2009 cars only

Tools Required

J 41712 Oil Pressure Switch Socket

Removal Procedure

Important: Clean the area around the oil pressure sensor. Do not allow debris to enter the engine.


    Object Number: 782680  Size: SH
  1. Remove the distributor. Refer to Distributor Replacement .
  2. Disconnect the fuel pump/oil pressure sensor electrical connector (3).

  3. Object Number: 348085  Size: SH
  4. Using J 41712 , remove the fuel pump/oil pressure sensor.

  5. Object Number: 348087  Size: SH

    Important: Note the alignment of the engine oil pressure sensor fitting prior to removal.

  6. Remove the fuel pump/oil pressure sensor fitting, if necessary.

Installation Procedure


    Object Number: 348087  Size: SH
  1. If installing the old fitting, apply sealant to the threads of the fitting. Refer to Adhesives, Fluids, Lubricants, and Sealers for the correct part number.
  2. Install the fitting until snug, if necessary.
  3. Notice: Refer to Fastener Notice in the Preface section.


    Object Number: 783691  Size: SH
  4. Tighten the fuel pump/oil pressure sensor fitting.
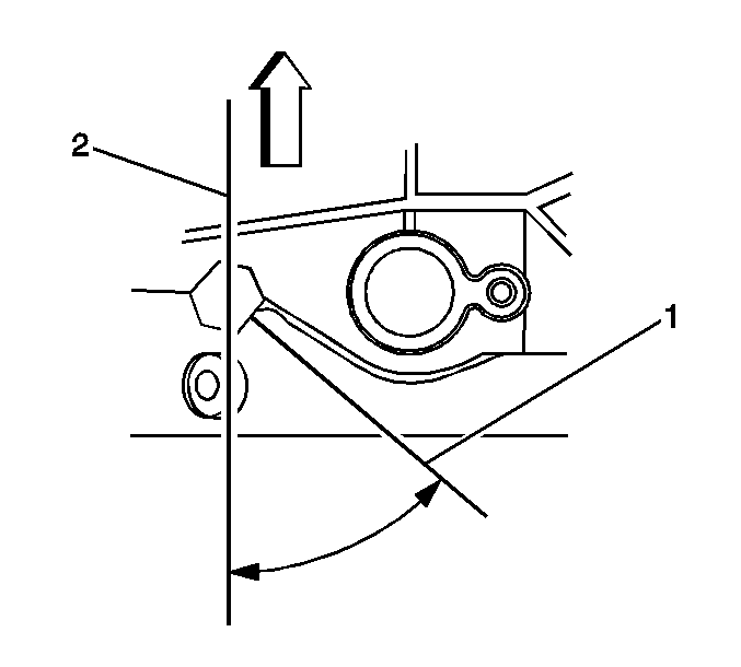
  5. Tighten

    1. Tighten the fitting to 15 N·m (11 lb ft).
    2. Increase torque until the centerline of the fitting (1) is 50 degrees from the centerline of the crankshaft (2).

    Object Number: 348085  Size: SH
  6. If installing the old sensor, apply sealant to the threads of the sensor. Refer to Adhesives, Fluids, Lubricants, and Sealers for the correct part number.
  7. Using J 41712 , install the sensor.
  8. Tighten
    Tighten the sensor to 30 N·m (22 lb ft).


    Object Number: 782680  Size: SH
  9. Connect the fuel pump/oil pressure sensor electrical connector (3).
  10. Install the distributor. Refer to Distributor Replacement .
  11. Check and adjust the engine oil level, if necessary.