GM Service Manual Online
For 1990-2009 cars only
Table 1: Inflatable Restraint Front End Sensor - Left (ALO)
Table 2: Inflatable Restraint Front End Sensor - Right (ALO)
Table 3: Inflatable Restraint Front End Sensor (HVY)
Table 4: Inflatable Restraint I/P Module
Table 5: Inflatable Restraint Steering Wheel Module - Single Stage (HVY)
Table 6: Inflatable Restraint Steering Wheel Module C1 - Dual Stage (ALO)
Table 7: Inflatable Restraint Steering Wheel Module C2 - Dual Stage (ALO)
Table 8: Inflatable Restraint Sensing and Diagnostic Module (SDM)
Table 9: Inflatable Restraint Seat Position Switch - Left (AL0)
Table 10: Inflatable Restraint Seat Position Switch - Right (AL0)
Table 11: Inflatable Restraint Passenger Seat Belt Tension Retractor Sensor (AL0)
Table 12: Inflatable Restraint Passenger Presence System (PPS) Sensor (AL0)
Table 13: Inflatable Restraint Passenger Presence Module (AL0)
Table 14: Inflatable Restraint I/P Module Disable Switch (Except 10 Series and Crew Cab)
Table 15: Inflatable Restraint Side Impact Sensor (SIS) - Right (HP2)

Inflatable Restraint Front End Sensor - Left (ALO)


Object Number: 847309  Size: CH

Connector Part Information

    • 15356720
    • 2-Way F GT 150 Sealed (YE)

Pin

Wire Color

Circuit No.

Function

1

GY

349

Discriminating Sensor - Left - Signal

2

YE

354

Discriminating Sensor - Signal

Inflatable Restraint Front End Sensor - Right (ALO)


Object Number: 847309  Size: CH

Connector Part Information

    • 15356720
    • 2-Way F GT 150 Sealed (YE)

Pin

Wire Color

Circuit No.

Function

1

YE

1834

Forward Discriminating Sensor Signal

2

D-GN

1409

Discriminating Sensor - Right - Signal

Inflatable Restraint Front End Sensor (HVY)


Object Number: 847309  Size: CH

Connector Part Information

    • 15356721
    • 2-Way F GT 150 Sealed (YE)

Pin

Wire Color

Circuit No.

Function

1

YE

1834

Forward Discriminating Sensor Signal

2

D-GN

1409

Discriminating Sensor - Right - Signal

Inflatable Restraint I/P Module


Object Number: 684931  Size: CH

Connector Part Information

    • 15336476
    • 4-Way Metri-Pack 280 Series (YE)

Pin

Wire Color

Circuit No.

Function

A1

YE

3025

I/P Module - Stage 1 - High Control

A2

OG

3024

I/P Module - Stage 1 - Low Control

B1

GY

3027

I/P Module - Stage 2 - High Control (w/Dual Stage)(ALO)

B2

PU

3026

I/P Module - Stage 2 - Low Control (w/Dual Stage)(ALO)

Inflatable Restraint Steering Wheel Module - Single Stage (HVY)


Object Number: 966360  Size: CH

Connector Part Information

    • 54560210
    • 2-Way F ABX-3 Code B (YE)

Pin

Wire Color

Circuit No.

Function

A

WH

347

Steering Wheel Module - High Control

B

D-GN

348

Steering Wheel Module - Low Control

Inflatable Restraint Steering Wheel Module C1 - Dual Stage (ALO)


Object Number: 966373  Size: CH

Connector Part Information

    • 54560208
    • 2-Way F ABX-3 Code B (WH)

Pin

Wire Color

Circuit No.

Function

A

TN

3021

Steering Wheel Module - Stage 1 - High Control

B

BN

3020

Steering Wheel Module - Stage 1 - Low Control

Inflatable Restraint Steering Wheel Module C2 - Dual Stage (ALO)


Object Number: 966368  Size: CH

Connector Part Information

    • 54550271
    • 2-Way F ABX-3 Code G (PK)

Pin

Wire Color

Circuit No.

Function

A

WH

3023

Steering Wheel Module - Stage 2 - High Control

B

PK

3022

Steering Wheel Module - Stage 2 - Low Control

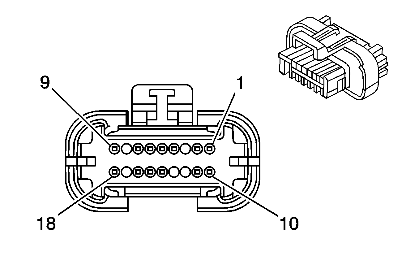
Inflatable Restraint Sensing and Diagnostic Module (SDM)


Object Number: 697020  Size: CH

Connector Part Information

    • 15356922
    • 42-Way F Micro-Pack 100 W (YE)

Pin

Wire Color

Circuit No.

Function

1

YE

1139

Ignition 1 Voltage

2

PK

2306

Passenger Presence Class 2 Serial Data (AL0)

TN/BK

371

I/P Module Disable Switch - Signal (Except 10 Series and Crew Cab)

3

BK/WH

238

Seat Belt Switch - Left

4

RD

1362

Seat Belt Switch - Right - Signal (AL0)

PK

353

I/P Module Suppression Indicator Control (Except 10 Series and Crew Cab)

5

GY

349

Front End Sensor - Left - Signal (ALO)

6

YE

1834

Front End Sensor - Right - Signal

7

--

--

Not Used

8

TN

2163

Side Impact Sensor - Right - Voltage (HP2)

9

YE

3025

I/P Module - Stage 1 - High Control

10

OG

3024

I/P Module - Stage 1 - Low Control

11

D-BU

1363

Low Reference

12

BN

3020

Steering Wheel Module - Stage 1 - Low Control

13

TN

3021

Steering Wheel Module - Stage 1 - High Control

14-21

--

--

Not Used

22

D-BU

1128

SDM Class 2 Serial Data

23

--

--

Not Used

24

L-GN

5055

Seat Position Switch - Left - Signal (AL0)

25

L-BU

5056

Seat Position Switch - Right - Signal (AL0)

26

YE

354

Front End Sensor - Left - Low Reference (ALO)

27

D-GN

1409

Front End Sensor - Right - Low Reference

28

--

--

Not Used

29

D-GN

2164

Side Impact Sensor - Right - Signal (HP2)

30

GY

3027

I/P Module - Stage 2 - High Control (AL0)

31

PU

3026

I/P Module - Stage 2 - Low Control (AL0)

32

BK

2351

Ground

33

PK

3022

Steering Wheel Module - Stage 2 - Low Control (ALO)

--

--

Not Used - 30 Series and Crew Cab (HVY)

34

WH

3023

Steering Wheel Module - Stage 2 - High Control (ALO)

--

--

Not Used - 30 Series and Crew Cab (HVY)

35-42

--

--

Not Used

Inflatable Restraint Seat Position Switch - Left (AL0)


Object Number: 280768  Size: CH

Connector Part Information

    • 12052832
    • 2-Way F Metri-Pack 150 Series (BK)

Pin

Wire Color

Circuit No.

Function

A

L-GN

5055

Seat Position Switch - Left - Signal

B

YE

234

Low Reference

Inflatable Restraint Seat Position Switch - Right (AL0)


Object Number: 280768  Size: CH

Connector Part Information

    • 12052832
    • 2-Way F Metri-Pack 150 Series (BK)

Pin

Wire Color

Circuit No.

Function

A

L-BU

5056

Seat Position Switch - Right - Signal

B

YE

234

Low Reference

Inflatable Restraint Passenger Seat Belt Tension Retractor Sensor (AL0)


Object Number: 684807  Size: CH

Connector Part Information

    • 12110293
    • 3-Way F Metri-Pack 150 Series (BK)

Pin

Wire Color

Circuit No.

Function

A

L-BU

906

Passenger Seat Belt Tension Retractor Sensor - 5-Volt Reference

B

TN

905

Passenger Seat Belt Tension Retractor Sensor - Low Reference

C

YE

904

Passenger Seat Belt Tension Retractor Sensor - Signal

Inflatable Restraint Passenger Presence System (PPS) Sensor (AL0)


Object Number: 516611  Size: CH

Connector Part Information

    • 12059595
    • 3-Way F Metri-Pack 150 Series (BK)

Pin

Wire Color

Circuit No.

Function

A

BN/WH

903

PPS Sensor - Low Reference

B

PU

901

PPS Sensor Signal

C

WH

902

PPS Sensor - 5-Volt Reference

Inflatable Restraint Passenger Presence Module (AL0)


Object Number: 1409310  Size: CH

Connector Part Information

    • 15431683
    • 18-Way F Micropack 100 (BK)

Pin

Wire Color

Circuit No.

Function

1

D-BU

2307

Passenger Air Bag On Indicator Control

2

D-GN

2308

Passenger Air Bag Off Indicator Control

3

--

--

Not Used

4

YE

904

Passenger Seat Belt Tension Retractor Sensor - Signal

5

BK

2351

Ground

6

PU

901

PPS Sensor Signal

7

WH

902

PPS Sensor - 5-Volt Reference

8

--

--

Not Used

9

YE

1139

Ignition 1 Voltage

10

PK

353

I/P Module Suppression Indicator Control

11

TN/BK

371

I/P Module Disable Switch - Signal

12-13

--

--

Not Used

14

TN

905

Passenger Seat Belt Tension Retractor Sensor - Low Reference

15

BN/WH

903

PPS Sensor - Low Reference

16

L-BU

906

Passenger Seat Belt Tension Retractor Sensor - 5-Volt Reference

17

--

--

Not Used

18

PK

2306

I/P Module Disable Switch - Signal

Inflatable Restraint I/P Module Disable Switch (Except 10 Series and Crew Cab)


Object Number: 362753  Size: CH

Connector Part Information

    • 15305286
    • 6-Way F Metri-Pack 150 Series (YE)

Pin

Wire Color

Circuit No.

Function

A

TN/BK

371

I/P Module Disable Switch - Signal

B

YE

1139

Ignition 1 Voltage

C

BN

2409

Interior Park Lamps Supply Voltage

D

BN/WH

230

Instrument Panel Lamps Dimming Control

E

PK

353

I/P Module Suppression Indicator Control

F

BK

1050

Ground

Inflatable Restraint Side Impact Sensor (SIS) - Right (HP2)


Object Number: 1336240  Size: CH

Connector Part Information

    • 15356725
    • 2-Way F GT 150 Sealed (YE)

Pin

Wire Color

Circuit No.

Function

A

D-GN

2164

Side Impact Sensor - Right - Signal

B

TN

2163

Side Impact Sensor - Right - Voltage