Tools Required
| • | J 44257
Main Wiring Harness Connector Remover |
| • | J 44247
Internal Wiring Harness Installer |
Removal Procedure
Caution: Unless directed otherwise, the ignition and start switch must be in the OFF or LOCK position, and all electrical loads must be OFF before servicing
any electrical component. Disconnect the negative battery cable to prevent an electrical spark should a tool or equipment come in contact with an exposed electrical terminal. Failure to follow these precautions may result in personal injury and/or damage to
the vehicle or its components.
- Remove the oil pan and transmission internal oil filter. Refer to
Oil Pan Replacement
.
- Disconnect the external wiring harness from the main transmission connector. Use
J 44257
, if connector is not easily accessible.
Important: The main transmission connector is actually one end of the internal wiring harness that protrudes through the transmission case.
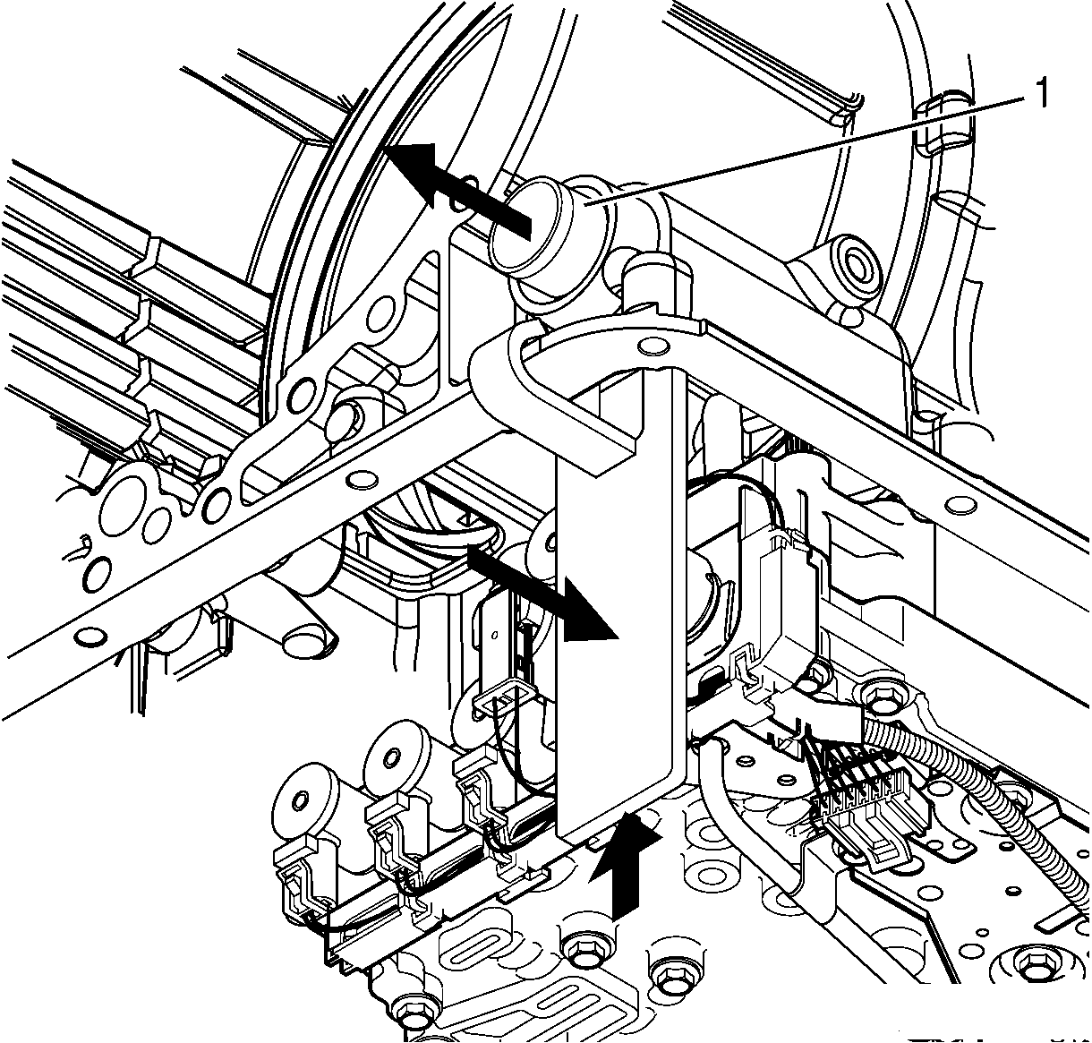
- Place a 30 mm or 1 3/16 inch 12-point deep socket or box-end wrench (2) over the main transmission connector (1).
- Push inward on the socket or wrench to release the retaining feet that attach the connector (1) to the transmission case.
- Remove the wrench. Push inward on the electrical connector to separate from the transmission case.
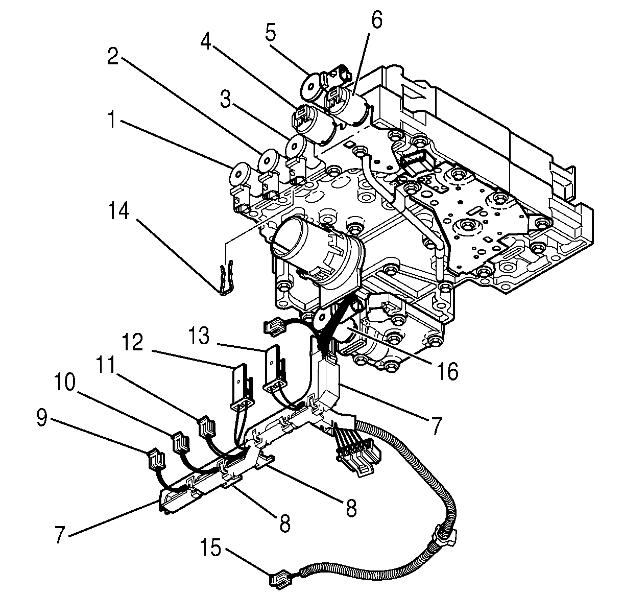
- Disconnect the internal wiring harness connectors (1) from solenoids A through G and from the transmission fluid pressure
(TFP) switch.
Important: The solenoid retainers for E and D solenoid also retain tabs on the wiring harness U-channel. The solenoids will remain in position even after the solenoid retainers are removed.
- Remove the solenoid retainers (2) for solenoids E and D.
- Remove the internal wiring harness from the transmission.
Installation Procedure
- Align the tabs (8) on the new wiring harness U-channel with the solenoid retainer slots for solenoids E (3) and D (2)
on the control valve assembly. Install the solenoid retainers (14) for the E (3) and D (4) solenoids.
Important: The internal wiring harness connectors (7), (9)-(13), and (15) should be in the correct position for installation because of their pre-assembled position in the U-channel.
- Attach the internal wiring harness connectors to solenoids A through F and to the TFP switch.
| • | Connector (13) goes to solenoid (6). |
| • | Connector (12) goes to solenoid (4). |
| • | Connector (7) goes to solenoid (5). |
| • | Connector (10) goes to solenoid (2). |
| • | Connector (11) goes to solenoid (3). |
| • | Connector (9) goes to solenoid (1). |
| • | Connector (15) goes to solenoid (16) |
- Push the main transmission connector (2) outward through hole (1) in the transmission case until the retaining feet on the connector are near
the locked position.
- Use
J 44247
to seat the retaining feet on transmission connector (1).
- Install the oil pan and transmission internal oil filter. Refer to
Oil Pan Replacement
.
- Connect the external wiring harness to the main transmission connector.