GM Service Manual Online
For 1990-2009 cars only

Compressed Natural Gas Tank Filler Pipe Replacement Pickup with Type 2 Tank

Tools Required

J 45878 Combustible Gas Detector

Removal Procedure

    Caution: Natural gas is highly flammable. In order to reduce the risk of fire and personal injury, keep sparks, flames, and smoking materials away from the vehicle while you perform the Compressed Natural Gas (CNG) fuel system service.

    Caution: The Compressed Natural Gas (CNG) system operates at pressures up to 24820 kpa (3600 psi). Relieve the CNG fuel system pressure before servicing CNG fuel system components in order to reduce the risk of fire and personal injury.

  1. Relieve the fuel system pressure. Refer to Fuel Pressure Relief .
  2. Caution: Unless directed otherwise, the ignition and start switch must be in the OFF or LOCK position, and all electrical loads must be OFF before servicing any electrical component. Disconnect the negative battery cable to prevent an electrical spark should a tool or equipment come in contact with an exposed electrical terminal. Failure to follow these precautions may result in personal injury and/or damage to the vehicle or its components.

  3. Disconnect the negative battery cable. Refer to Battery Negative Cable Disconnection and Connection in Engine Electrical in the C/K Pickup Service Manual.

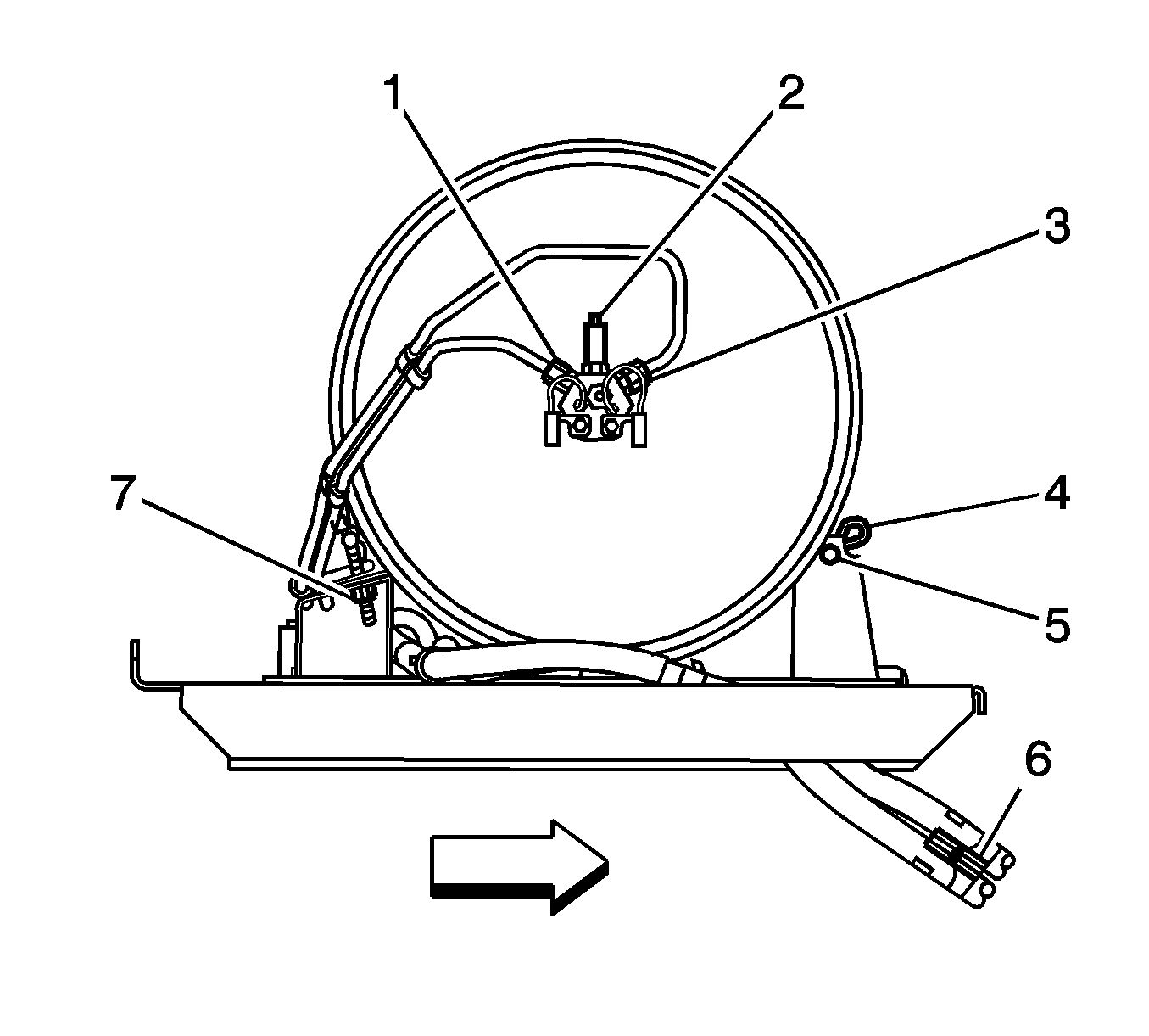
  4. Object Number: 757009  Size: SH
  5. Remove the tank cover (2). Refer to Fuel Tank Cover Replacement .

  6. Object Number: 1489671  Size: SH
  7. Disconnect the fill line (6) at the check valve fitting (5).
  8. Raise and support the vehicle. Refer to Lifting and Jacking the Vehicle in General Information in the C/K Pickup Service Manual.

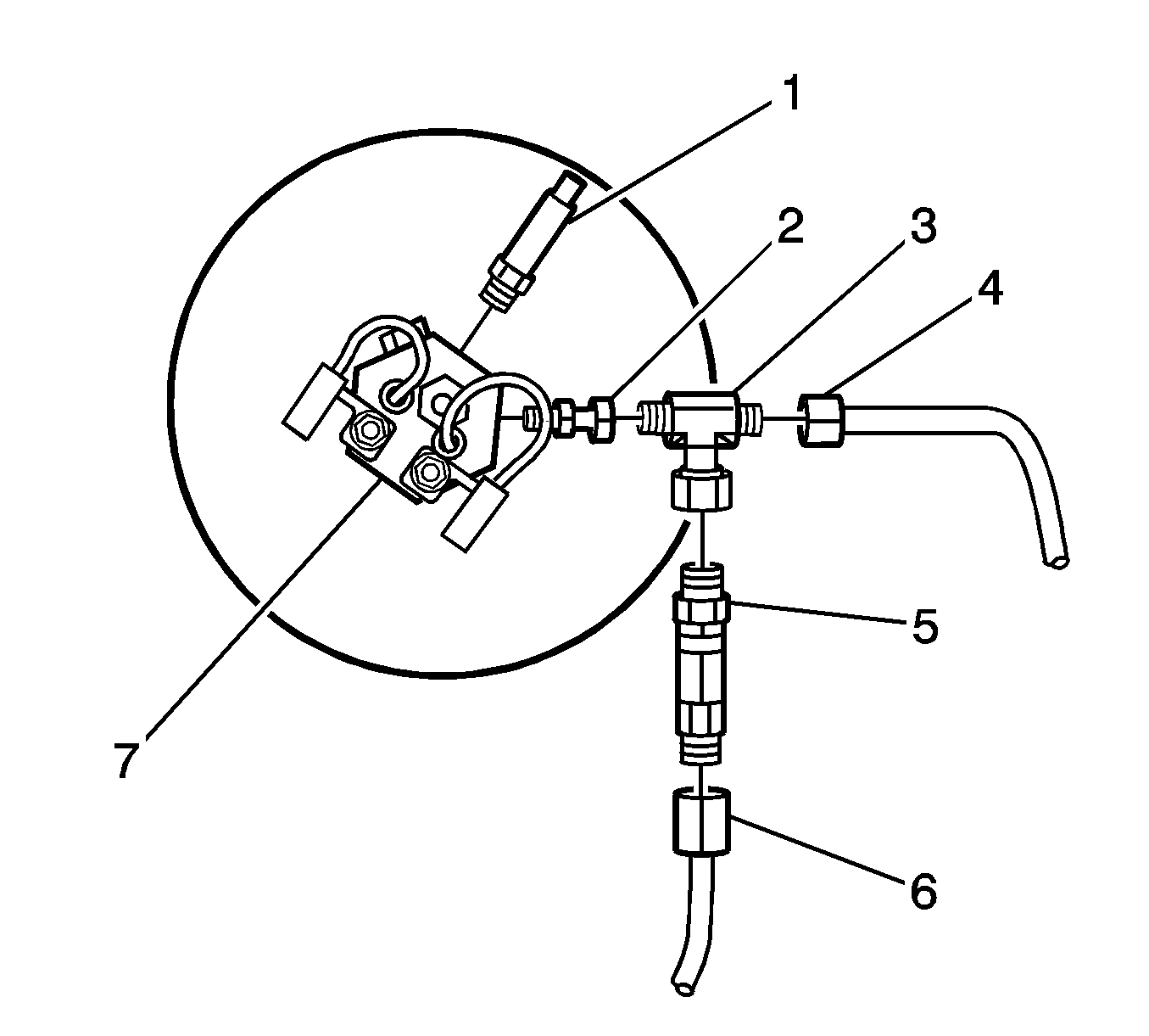
  9. Object Number: 757005  Size: SH
  10. Disconnect the fill line (3) at the fill valve fitting (2).
  11. Remove the fill line from the vehicle.

Installation Procedure

  1. Raise and support the vehicle. Refer to Lifting and Jacking the Vehicle in General Information in the C/K Pickup Service Manual.

  2. Object Number: 757005  Size: SH
  3. Install the fill line into the vehicle.
  4. Caution: Natural gas is stored under high pressure. If a leak occurs, the high pressure could cause a personal injury. In order to prevent Compressed Natural Gas (CNG) fuel leaks, always replace the CNG fuel system O-rings during service.

  5. Connect the fill line (3) to the fill valve (2) with a new O-ring face seal. Lubricate the O-ring with petroleum jelly.
  6. Tighten
    Tighten the fitting to 24 N·m (18 lb ft).

  7. Lower the vehicle.

  8. Object Number: 1489671  Size: SH
  9. Connect the fill line (6) to the check valve fitting (5) with a new O-ring face seal. Lubricate the O-ring with petroleum jelly.
  10. Tighten
    Tighten the fitting to 24 N·m (18 lb ft).

    Caution: Unless directed otherwise, the ignition and start switch must be in the OFF or LOCK position, and all electrical loads must be OFF before servicing any electrical component. Disconnect the negative battery cable to prevent an electrical spark should a tool or equipment come in contact with an exposed electrical terminal. Failure to follow these precautions may result in personal injury and/or damage to the vehicle or its components.

  11. Install the negative battery cable. Refer to Battery Negative Cable Disconnection and Connection in Engine Electrical in the C/K Pickup Service Manual.
  12. Start the vehicle and inspect for CNG fuel leaks at the serviced fittings using the J 45878 or an equivalent liquid leak detector.

  13. Object Number: 757009  Size: SH
  14. Install the tank cover (2). Refer to Fuel Tank Cover Replacement .

Compressed Natural Gas Tank Filler Pipe Replacement Cab/Chassis

Tools Required

J 45878 Combustible Gas Detector

Removal Procedure

    Caution: Natural gas is highly flammable. In order to reduce the risk of fire and personal injury, keep sparks, flames, and smoking materials away from the vehicle while you perform the Compressed Natural Gas (CNG) fuel system service.

    Caution: The Compressed Natural Gas (CNG) system operates at pressures up to 24820 kpa (3600 psi). Relieve the CNG fuel system pressure before servicing CNG fuel system components in order to reduce the risk of fire and personal injury.

  1. Relieve the fuel system pressure. Refer to Fuel Pressure Relief .
  2. Caution: Unless directed otherwise, the ignition and start switch must be in the OFF or LOCK position, and all electrical loads must be OFF before servicing any electrical component. Disconnect the negative battery cable to prevent an electrical spark should a tool or equipment come in contact with an exposed electrical terminal. Failure to follow these precautions may result in personal injury and/or damage to the vehicle or its components.

  3. Disconnect the negative battery cable. Refer to Battery Negative Cable Disconnection and Connection in Engine Electrical in the C/K Pickup service manual.
  4. Remove the truck body as required on ZW9 equipped vehicles in order to gain access to the CNG fuel tank.

  5. Object Number: 296366  Size: SH
  6. Disconnect the fill line (3) at the fill valve (1).

  7. Object Number: 1203083  Size: SH
  8. Disconnect the fill line (1) at the high pressure lock-off (HPL) solenoid.

  9. Object Number: 1203079  Size: SH
  10. Remove the fuel line retaining clips (1).
  11. Remove the check valve mounting bolt (4).
  12. Remove the fill line assembly from the vehicle.

Installation Procedure


    Object Number: 1203079  Size: SH
  1. Install the fill line into the vehicle.
  2. Install the fuel line retaining clips (1).
  3. Caution: Natural gas is stored under high pressure. If a leak occurs, the high pressure could cause a personal injury. In order to prevent Compressed Natural Gas (CNG) fuel leaks, always replace the CNG fuel system O-rings during service.


    Object Number: 296366  Size: SH
  4. Connect the fill line (3) to the fill valve (1) with a new O-ring face seal. Lubricate the O-ring with petroleum jelly.
  5. Tighten
    Tighten the fitting to 37 N·m (27 lb ft).


    Object Number: 1203083  Size: SH
  6. Connect the fill line (1) to the HPL with a new O-ring face seal. Lubricate the O-ring with petroleum jelly.
  7. Tighten
    Tighten the fitting to 37 N·m (27 lb ft).


    Object Number: 1203079  Size: SH
  8. Install the check valve mounting bolt (4).
  9. Tighten
    Tighten the bolt to 12 N·m (9 lb ft).

    Caution: Unless directed otherwise, the ignition and start switch must be in the OFF or LOCK position, and all electrical loads must be OFF before servicing any electrical component. Disconnect the negative battery cable to prevent an electrical spark should a tool or equipment come in contact with an exposed electrical terminal. Failure to follow these precautions may result in personal injury and/or damage to the vehicle or its components.

  10. Install the negative battery cable. Refer to Battery Negative Cable Disconnection and Connection in Engine Electrical in the C/K Pickup service manual.
  11. Start the vehicle and inspect for CNG fuel leaks at the serviced fittings using the J 45878 or an equivalent liquid leak detector.
  12. Install the truck body as required on ZW9 equipped vehicles.