GM Service Manual Online
For 1990-2009 cars only

Fuel Tank Bracket and Mounting Replacement Pickup

Removal Procedure

  1. Remove the CNG fuel tank. Refer to Fuel Tank Replacement .
  2. Raise and support the vehicle. Refer to Lifting and Jacking the Vehicle in General Information in the C/K Pickup service manual.

  3. Object Number: 707418  Size: SH
  4. Remove the exhaust system heat shields.

  5. Object Number: 769755  Size: SH
  6. Remove and discard the frame support bracket nuts (3).
  7. Remove the frame support brackets (4).
  8. Lower the vehicle.
  9. Remove the CNG fuel tank mounting frame.
  10. Discard the fuel tank frame mounting bolts.

Installation Procedure

  1. Position the CNG fuel tank mounting frame into the bed using new mounting bolts.
  2. Raise and support the vehicle. Refer to Lifting and Jacking the Vehicle in General Information in the C/K Pickup service manual.

  3. Object Number: 769755  Size: SH

    Notice: Use the correct fastener in the correct location. Replacement fasteners must be the correct part number for that application. Fasteners requiring replacement or fasteners requiring the use of thread locking compound or sealant are identified in the service procedure. Do not use paints, lubricants, or corrosion inhibitors on fasteners or fastener joint surfaces unless specified. These coatings affect fastener torque and joint clamping force and may damage the fastener. Use the correct tightening sequence and specifications when installing fasteners in order to avoid damage to parts and systems.

  4. Install the frame support brackets (4) using new nuts (3).
  5. Tighten
    Tighten the nuts to 81 N·m (60 lb ft).


    Object Number: 707418  Size: SH
  6. Install the exhaust system heat shields and bolts.
  7. Tighten
    Tighten the bolts to 9 N·m (80 lb in).

  8. Install the CNG fuel tank. Refer to Fuel Tank Replacement .

Fuel Tank Bracket and Mounting Replacement Cab/Chassis

Tools Required

J 45878 Combustible Gas Detector

Removal Procedure

  1. Remove the CNG fuel tank. Refer to Fuel Tank Replacement .

  2. Object Number: 1203079  Size: SH
  3. Remove the fuel line hold-down clips (1,4).
  4. Disconnect the fuel line at the fuel filter inlet (2).
  5. Disconnect the fuel line at the high pressure regulator (HPR) inlet (3).
  6. Remove the fuel lines from the vehicle.

  7. Object Number: 1203089  Size: SH
  8. Remove the fuel filter bracket mounting bolts (2,4)
  9. Remove the fuel filter/fuel line assembly from the vehicle.

  10. Object Number: 757008  Size: SH
  11. Partially drain the engine coolant. Refer to Cooling System Draining and Filling in Engine Cooling in the C/K Pickup Service Manual.
  12. Loosen the hose clamps (2,6) enough to move the clamps away from the HPR coolant fittings.
  13. Disconnect the HPR coolant hoses (3,5) from the HPR.
  14. Pull the HPR coolant hoses through the tank mounting frame.
  15. Disconnect the HPR fuel outlet line (4).

  16. Object Number: 327075  Size: SH
  17. Remove the HPR fuel inlet fitting (6). Capture the filter spring (4), filter (3) and seal (2) that are located behind the inlet fitting.

  18. Object Number: 757008  Size: SH

    Important: Do not hold the HPR at the cover hex flange. As required, wedge a wrench between the HPR and the tank frame in order to keep the HPR from spinning in the bracket.

  19. Remove the HPR mounting nut (1) and washer.
  20. Remove the HPR from the mounting bracket.

  21. Object Number: 1203085  Size: SH
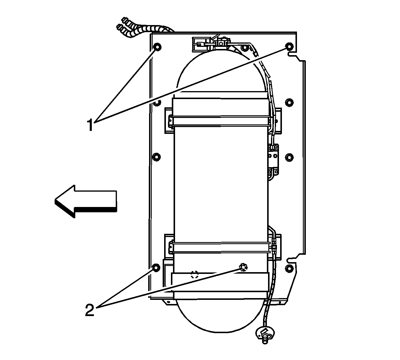
  22. Remove and discard the tank mounting plate to vehicle frame bolts and nuts (1,2).
  23. Remove the CNG fuel tank mounting plate from the vehicle.

Installation Procedure

  1. Position the CNG fuel tank mounting plate onto the vehicle.

  2. Object Number: 1203085  Size: SH

    Notice: Use the correct fastener in the correct location. Replacement fasteners must be the correct part number for that application. Fasteners requiring replacement or fasteners requiring the use of thread locking compound or sealant are identified in the service procedure. Do not use paints, lubricants, or corrosion inhibitors on fasteners or fastener joint surfaces unless specified. These coatings affect fastener torque and joint clamping force and may damage the fastener. Use the correct tightening sequence and specifications when installing fasteners in order to avoid damage to parts and systems.

    Important: On vehicles equipped with a Type 4 fuel tank, ensure that the frame reinforcement plates are installed only on the forward two frame mount bolts.

  3. Install the tank mounting plate to the vehicle frame with new bolts and nuts (1,2).
  4. Tighten
    Tighten the nuts to 110 N·m (81 lb ft).


    Object Number: 757008  Size: SH

    Important: Do not hold the HPR at the cover hex flange. As required, wedge a wrench between the HPR and the tank frame in order to keep the HPR from spinning in the bracket.

  5. Install the HPR assembly (8) to the mounting bracket.
  6. Install the HPR mounting nut (1) and washer.
  7. Tighten
    Tighten the nut to 54 N·m (40 lb ft).


    Object Number: 327075  Size: SH
  8. Install the filter spring (4), filter (3) and seal (2) into the HPR inlet port.
  9. Caution: Natural gas is stored under high pressure. If a leak occurs, the high pressure could cause a personal injury. In order to prevent Compressed Natural Gas (CNG) fuel leaks, always replace the CNG fuel system O-rings during service.

  10. Install the HPR fuel inlet line fitting (6) with a new O-ring. Lubricate the O-ring with petroleum jelly.
  11. Tighten
    Tighten the fuel line fitting to 48 N·m (35 lb ft).


    Object Number: 757008  Size: SH
  12. Pull the HPR coolant hoses through the tank mounting frame.
  13. Connect the HPR coolant hoses (3,5) to the HPR.
  14. Install the HPR fuel outlet line (4) with a new O-ring. Lubricate the O-ring with petroleum jelly.
  15. Tighten
    Tighten the fuel line fitting to 37 N·m (27 lb ft).


    Object Number: 1203089  Size: SH
  16. Install the fuel filter/fuel line assembly into the vehicle.
  17. Install the fuel filter bracket mounting bolts (2,4).
  18. Tighten
    Tighten the bolts to 12 N·m (9 lb ft).


    Object Number: 1203079  Size: SH
  19. Install the HPR fuel inlet line (3) with a new O-ring. Lubricate the O-ring with petroleum jelly.
  20. Tighten
    Tighten the fuel line fitting to 37 N·m (27 lb ft).

  21. Install the fuel filter inlet line (2) with a new O-ring. Lubricate the O-ring with petroleum jelly.
  22. Tighten
    Tighten the fuel line fitting to 37 N·m (27 lb ft).

  23. Install the fuel line mounting clips (1,4).
  24. Tighten
    Tighten the check valve fuel line mounting clip bolt (4) to 12 N·m (9 lb ft).

  25. Install the CNG fuel tank. Refer to Fuel Tank Replacement .
  26. Fill the cooling system. Refer to Cooling System Draining and Filling in Engine Cooling in the C/K Pickup Service Manual.
  27. Fill the CNG fuel system.
  28. Start the engine and use the J 45878 in order to inspect for CNG fuel system leaks at each serviced fitting.