********************************************************************** GM OF CANADA DEALERS REQUIRE PRIOR DSM APPROVAL WHEN REPLACEMENT OF MORE THAN TWO HINGES IS REQUIRED. **********************************************************************
OWNERS MAY REPORT ONE OR MORE DOORS ARE DIFFICULT TO OPEN AND/OR CLOSE DUE TO BINDING. THIS CONDITION IS NOTICED EITHER WHILE TRYING TO SWING THE DOOR OUT, OR TRYING TO CLOSE THE DOOR IN ITS LATCHED POSITION.
METAL TO METAL INTERACTION BETWEEN THE DOOR HINGE PIN AND BRONZE HINGE PIN BUSHING. METAL TO METAL REACTION MAY ALLOW CORROSION, OR ENVIRONMENTAL CONTAMINATES MAY DRY OUT HINGE PIN LUBRICANTS.
IMPROVED DOOR HINGES HAVE BEEN DEVELOPED FOR ALL SWING OUT DOOR ASSEMBLIES. THE FRONT, SIDE CARGO, AND BACK CARGO DOOR HINGES NOW HAVE A TEFLON COATED HINGE PIN BUSHING THAT ALLOWS THE DOORS TO SWING WITH LESS RESISTANCE. INSTALL NEW DOOR HINGES IF THE ABOVE CONDITION EXISTS. IT MAY NOT BE NECESSARY TO REMOVE ALL HINGES. REPAIR ONLY THE HINGE/HINGES THAT ARE BINDING.
SERVICE PROCEDURE
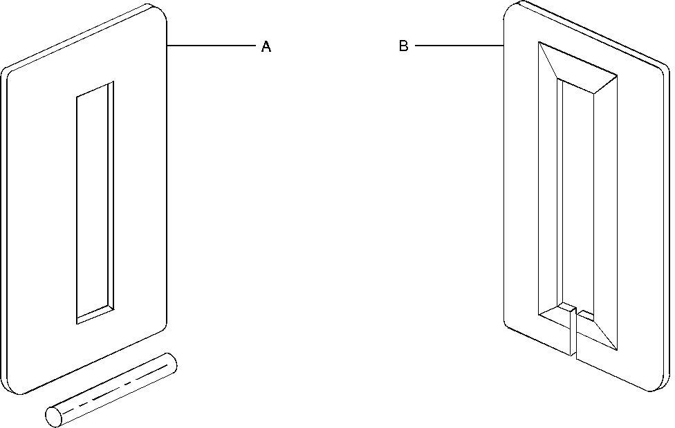
1. STARTING WITH THE UPPER HINGE, REMOVE THE HINGE COVER ASSEMBLY. MID 1993, THE HINGE COVER WAS CHANGED FOR ASSEMBLY PURPOSES. BE AWARE OF THE DIFFERENT TYPES OF HINGE COVERS. (REFER TO FIGURE #1, ITEMS 1 + 2).
A.) MID-1993 AND PRIOR MODEL YEARS, THE HINGE COVER WAS COMPRISED OF A COVER, SEAL, AND A ROLL PIN. TO REMOVE, PRESS OUT THE ROLL PIN, REMOVE THE COVER, AND PEEL AWAY THE SEAL FROM THE DOOR/BODY SKIN. CLEAN SURFACE AREA AT DOOR/BODY SKIN.
B.) MID-1993 THROUGH 1995 MODELS HAVE A VINYL HINGE COVER THAT IS APPLIED WITH AN ADHESIVE BACKING. TO REMOVE, PEEL COVER AWAY FROM DOOR/BODY SKIN. DO NOT USE A SHARP METAL EDGED TOOL BECAUSE DAMAGE TO EXTERIOR PAINT MAY RESULT. CLEAN SURFACE AREA AT DOOR/BODY SKIN.
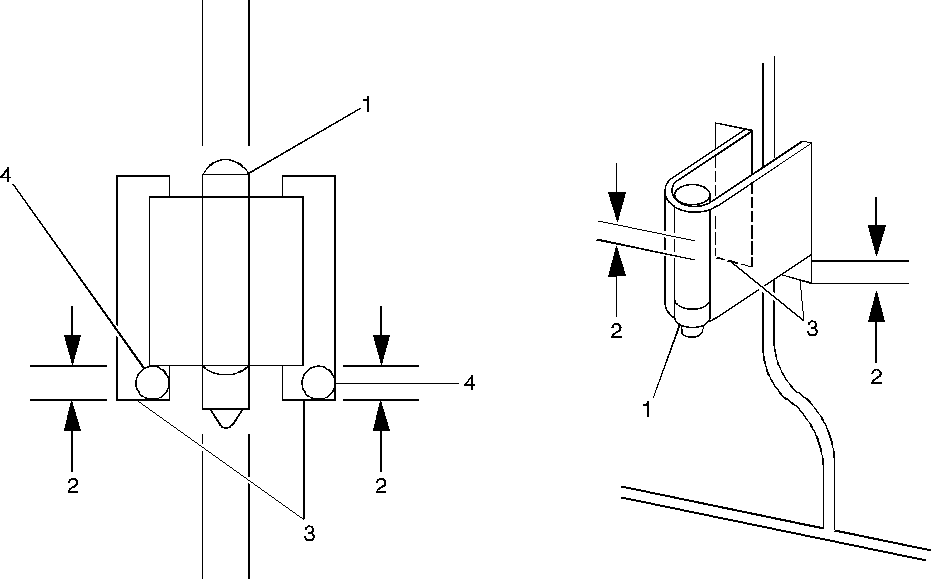
2. MEASURE THE DISTANCE BETWEEN THE LOWER PART OF THE HINGE ASSEMBLY (FIGURE #2, ITEM 1) AND THE LOWER PART OF THE DOOR/BODY SHEET METAL (FIGURE #2, ITEM 3). RECORD THIS INFORMATION FOR USE DURING INSTALLATION OF THE NEW HINGE. (REFER TO FIGURE #2, ITEM 2). 3. MARK THE HINGE PRESENTLY INSTALLED ON BOTH THE DOOR AND THE BODY SIDE WITH A GREASE OR LEAD PENCIL (FIGURE #3, ITEM 2). FOR THE SIDE AND BACK CARGO DOORS, THE HINGES ARE INSTALLED INSIDE THE DOOR OR BODY SHEET METAL. THIS MARK SHOULD INDICATE THE OUTLINE OF THE DOOR/BODY SKIN TO HINGE RELATIONSHIP. FOR THE FRONT (DRIVER/PASSENGER) DOOR ALIGNMENT, MARK THE OLD HINGE LOCATION TO BODY PRIOR TO REMOVING DOORS. THIS WILL ALLOW FOR A STARTING POINT FOR DOOR ADJUSTMENT. 4. REMOVE THE HINGE BOLTS FROM BOTH THE DOOR AND BODY SIDES. REMEMBER TO DO 1 HINGE AT A TIME. THE DOOR ASSEMBLY MAY NEED TO BE SUPPORTED AT THIS TIME. 5. CLOSE THE DOOR AND REMOVE THE HINGE ASSEMBLY. 6. TRANSFER THE PENCILED MARKINGS FROM THE OLD HINGE ASSEMBLY TO THE NEW HINGE ASSEMBLY AS CLOSE AS POSSIBLE. THIS MARKING PROVIDES THE RELATIONSHIP OF THE HINGE AND DOOR TO BODY FIT. 7. INSERT THE NEW HINGE ASSEMBLY INTO DOOR AND BODY CAVITY. WITH THE RECORDED DIMENSION BETWEEN THE LOWER HINGE ASSEMBLY AND THE LOWER DOOR/BODY SHEET METAL, SHIM THE HINGE ASSEMBLY. A DRILL BIT WILL WORK TO SET DESIRED HEIGHT (FIGURE #2, ITEM 4) STARTING WITH THE DOOR SIDE FIRST. (REFER TO FIGURE #2). 8. ALIGN DOOR TO MARKINGS AND INSTALL BOLTS AND TIGHTEN UNTIL SNUG. 9. REPEAT STEPS 7 + 8 ON THE BODY SIDE. 10. ONCE THE BOLTS ARE SNUG, CLOSE THE DOOR AND INSPECT FOR PROPER DOOR TO BODY ALIGNMENT. ADJUST THE FITS ACCORDINGLY. ONCE THE DOOR AND HINGE ARE IN PLACE, TORQUE THE DOOR HINGE BOLTS TO 33 N.M (25 LBS FT) AND THE BODY PILLAR BOLTS TO 43 N.M (30 LBS FT). 11. REPEAT STEPS 1 THROUGH 10 FOR LOWER HINGE ASSEMBLY. 12. INSTALL DOOR HINGE COVERS. PRIOR TO INSTALLING THE DOOR HINGE COVER, THE GAP BETWEEN THE BODY AND THE DOOR HINGE ASSEMBLY MUST BE SEALED TO PREVENT WATER INTRUSION INTO THE BODY CAVITY.
FOR DOOR HINGE COVERS MID-1993 AND PRIOR (FIGURE #1, ITEM 1):
1. CLEAN THE BACK SIDE OF THE COVER, REMOVING ALL EXISTING SEALER. 2. APPLY A BODY ADHESIVE/SEALER TO THE BACK PORTION OF THE COVER. 3. INSTALL COVER AND PRESS ONTO THE BODY. HEAT MAY BE APPLIED TO AIDE CURING TIME OF THE SEALER. 4. INSTALL ROLL PIN TO THE MATING HOLE ON HINGE ASSEMBLY. 5. TOUCH UP PAINT AS REQUIRED ON COVER AND ROLL PIN.
FOR DOOR HINGE COVERS MID-1993 - 1995 (FIGURE #1, ITEM 2):
1. CLEAN THE PAINTED CONTACT SURFACE AREA ON THE DOOR BODY OUTER SKIN WITH ISOPROPYL ALCOHOL OR EQUIVALENT AND ALLOW SURFACE TO DRY. 2. REMOVE THE ADHESIVE PROTECTIVE PLASTIC FROM THE BACK SIDE OF THE COVER. 3. PLACE THE COVER OVER THE HINGE (SPLIT END DOWN) AND PRESS INTO PLACE. 4. USE A HEATING GUN TO PROMOTE A BOND OF THE ADHESIVE. AMBIENT TEMPERATURE MAY NOT BE SUFFICIENT TO BOND ADHESIVE. HEAT MUST BE APPLIED, OR THE COVER MAY NOT STICK.
PARTS INFORMATION
P/N DESCRIPTION QTY 15725849 HINGE ASM-FRT S/D (UPPER) (LH) 1 15725850 HINGE ASM-FRT S/D (UPPER) (RH) 1 15725887 HINGE ASM-FRT S/D (LOWER) (LH) 1 15725888 HINGE ASM-FRT S/D (LOWER) (RH) 1 15725853HINGE ASM-SIDE INTER FRONT DOOR (60) (UPPER) 1 15725854HINGE ASM-SIDE INTER FRONT DOOR (60) (LOWER) 1 15725871HINGE ASM-SIDE INTER REAR DOOR (40) (UPPER) 1 15725872HINGE ASM-SIDE INTER REAR DOOR (40) (LOWER) 1 15725883 HINGE ASM-BACK DOOR (UPPER) (LH) 1 15725884 HINGE ASM-BACK DOOR (UPPER) (RH) 1 15725877 HINGE ASM-BACK DOOR (LOWER) (LH) 1 15725878 HINGE ASM-BACK DOOR (LOWER) (RH) 1 15972494 DOOR HINGE COVER 1 PER HINGE
PARTS ARE CURRENTLY AVAILABLE FROM GMSPO.
WARRANTY INFORMATION
FOR VEHICLES ELIGIBLE FOR REPAIR UNDER WARRANTY, USE:
LABOR OP DESCRIPTION LABOR TIME B4012 FRONT DOOR HINGE RH UPPER USE PUBLISHED B4013 FRONT DOOR HINGE LH UPPER LABOR OPERATION B4014 FRONT DOOR HINGE RH LOWER TIME B4015 FRONT DOOR HINGE LH LOWER B5015 SWING OUT FRONT UPPER B5016 SWING OUT FRONT LOWER B5017 SWING OUT REAR UPPER B5018 SWING OUT REAR LOWER B6112 BACK DOOR RH UPPER B6113 BACK DOOR LH UPPER B6114 BACK DOOR RH LOWER B6115 BACK DOOR LH LOWER
ADD: TO REFINISH/CLEAR COAT 0.3 HR
FIGURES: 3
CAPTIONS: FIGURE 1 - HINGE COVERS FIGURE 2 - DOOR HINGE TO BODY CLEARANCE FIGURE 3 - DOOR HINGE TO BODY SKIN
GENERAL MOTORS BULLETINS ARE INTENDED FOR USE BY PROFESSIONAL TECHNICIANS, NOT A "DO-IT-YOURSELFER". THEY ARE WRITTEN TO INFORM THOSE TECHNICIANS OF CONDITIONS THAT MAY OCCUR ON SOME VEHICLES, OR TO PROVIDE INFORMATION THAT COULD ASSIST IN THE PROPER SERVICE OF A VEHICLE. PROPERLY TRAINED TECHNICIANS HAVE THE EQUIPMENT, TOOLS, SAFETY INSTRUCTIONS AND KNOW-HOW TO DO A JOB PROPERLY AND SAFELY. IF A CONDITION IS DESCRIBED, DO NOT ASSUME THAT THE BULLETIN APPLIES TO YOUR VEHICLE, OR THAT YOUR VEHICLE WILL HAVE THAT CONDITION. SEE A GENERAL MOTORS DEALER SERVICING YOUR BRAND OF GENERAL MOTORS VEHICLE FOR INFORMATION ON WHETHER YOUR VEHICLE MAY BENEFIT FROM THE INFORMATION.
COPYRIGHT 1995 GENERAL MOTORS CORPORATION. ALL RIGHTS RESERVED.