GM Service Manual Online
For 1990-2009 cars only

Assembly Procedure

Refer to the following transmission component locator graphics as needed:


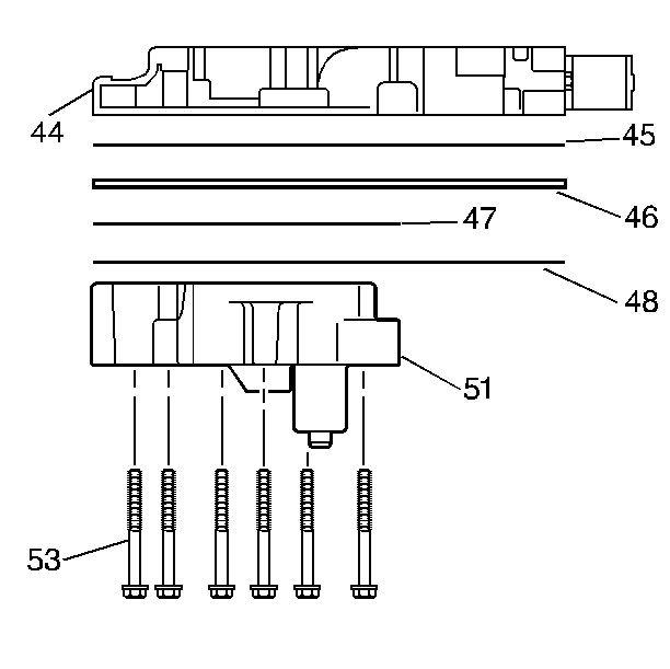
Object Number: 102567  Size: SH

(44)Control Valve Body Assembly
(45)Valve Body to Spacer Plate Gasket
(46)Valve Body Spacer Plate
(47)Accumulator Housing to Spacer Plate Gasket
(48)Spacer Plate to Case Gasket
(51)Accumulator Housing
(53)Accumulator Housing to Valve Body Bolt

  1. Install the guide pins into the valve body.
  2. Install the gasket.
  3. Install the spacer plate.
  4. Install the gasket.
  5. Install the accumulator housing assembly onto the valve body assembly.
  6. Install the bolts using an 8 mm socket, through the accumulator housing into the valve body assembly.
  7. Install the guide pins.

Installation Procedure

Refer to the following transmission component locator graphics as needed:


Object Number: 102561  Size: MH

(54)Ball 6.35 mm (0.25 in) Diameter
(75)PWM Solenoid Screen


Object Number: 102567  Size: SH

(44)Control Valve Body Assembly
(45)Valve Body to Spacer Plate Gasket
(46)Valve Body Spacer Plate
(47)Accumulator Housing to Spacer Plate Gasket
(48)Spacer Plate to Case Gasket
(51)Accumulator Housing
(53)Accumulator Housing to Valve Body Bolt


Object Number: 102570  Size: LH

(33)Electrical Cable Clamp
(34)Electrical Wiring Harness Assembly
(35)Hex Head Bolt, M6 x 1.0 x 55.0
(35)Hex Head Bolt, M6 x 1.0 x 55.0
(35)Hex Head Bolt, M6 x 1.0 x 55.0
(35)Hex Head Bolt, M6 x 1.0 x 55.0
(36)Bolt, M6 x 1.0 x 35.0 LG Valve Body to C.P.
(37)Lube Pipe Retainer
(38)Lube Pipe Clamp
(39)Lube Pipe
(40)Automatic Transmission Fluid Pressure Switch Assembly
(41)Manual Detent Spring Assembly
(43)Fluid Level Indicator (Dipstick) Stop
(44)Control Valve Body Assembly
(51)Accumulator Housing
(75)PWM Solenoid Screen
(76)Special Bolt


Object Number: 102572  Size: SH

(33)Electrical Cable Clamp
(33)Electrical Cable Clamp
(33)Electrical Cable Clamp
(38)Lube Pipe Clamp
(43)Fluid Level Indicator (Dipstick) Stop

  1. Install the eight check balls in the proper location into the case fluid passages.
  2. Install the gasket.
  3. Install the complete valve body assembly onto the case.
  4. Be sure to attach the manual shaft to the detent lever and the pin assembly.
  5. Install the pressure switch manifold (PSM) onto the valve body assembly.
  6. Install the spring and roller assembly into place.
  7. Install the three wiring clips and the fluid indicator stop.
  8. Install the twenty-one bolts using a 10-mm socket.
  9. Tighten
    Tighten the bolts to 11 N·m(96 lb in).

    Notice: Use the correct fastener in the correct location. Replacement fasteners must be the correct part number for that application. Fasteners requiring replacement or fasteners requiring the use of thread locking compound or sealant are identified in the service procedure. Do not use paints, lubricants, or corrosion inhibitors on fasteners or fastener joint surfaces unless specified. These coatings affect fastener torque and joint clamping force and may damage the fastener. Use the correct tightening sequence and specifications when installing fasteners in order to avoid damage to parts and systems.

  10. Install the six bolts using an 8-mm socket into the PSM (Pressure Switch Manifold).
  11. Tighten
    Tighten the bolts to 11 N·m(96 lb in).

  12. Attach the wiring harness to the six connectors. (Put the large end into the case first.):
  13. • The pressure switch
    • Solenoid A (1/2)
    • Solenoid B (2/3)
    • The temperature sensor
    • The PWM solenoid
    • The force motor
  14. Install the lube pipe long end into the case.
  15. Install the lube pipe clip with the short bolt.
  16. Tighten
    Tighten the bolt to 11 N·m (96 lb in).

  17. Install the twenty-one bolts using a 10-mm socket in order to attach the valve body to the case.
  18. Tighten
    Tighten the bolts to 11 N·m (96 lb in).

  19. Install the transmission oil pan and the transmission oil filter. Refer to Automatic Transmission Fluid and Filter Replacement
  20. Raise the transmission if the transmission was lowered for clearance.
  21. Remove the safety stands.
  22. Lower the vehicle.
  23. Connect the battery negative cable assembly to the battery negative terminal.
  24. Tighten
    Tighten the terminal bolt to 15 N·m (11 lb ft).