GM Service Manual Online
For 1990-2009 cars only
Makes
🢒
Chevrolet
🢒
1996
🢒
Chevy G Van
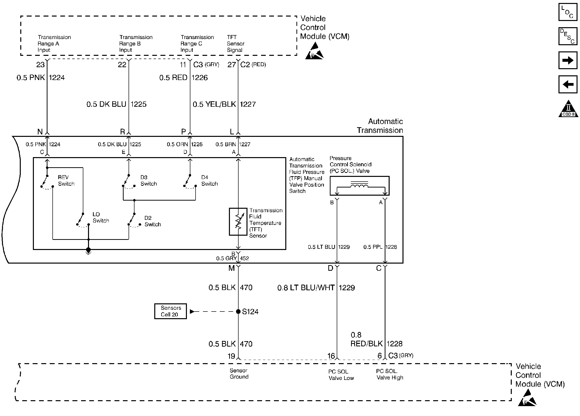
🢒 A/T 4L60E, TFT Sensor, PC Solenoid (5.0L/5.7L)
A/T 4L60E, TFT Sensor, PC Solenoid (5.0L/5.7L)
A/T 4L60E, TFT Sensor, PC Solenoid (5.0L/5.7L)
Engine Controls Components 5.0L/5.7L/7.4L
OBD II Symbol Description Notice
Handling ESD Sensitive Parts Notice
Handling ESD Sensitive Parts Notice
TCC/Stoplamp Switch, A/T 4L80E (5.0L/5.7L)
TCC/Stoplamp Switch, A/T 4L60E (5.0L/5.7L)