GM Service Manual Online
For 1990-2009 cars only

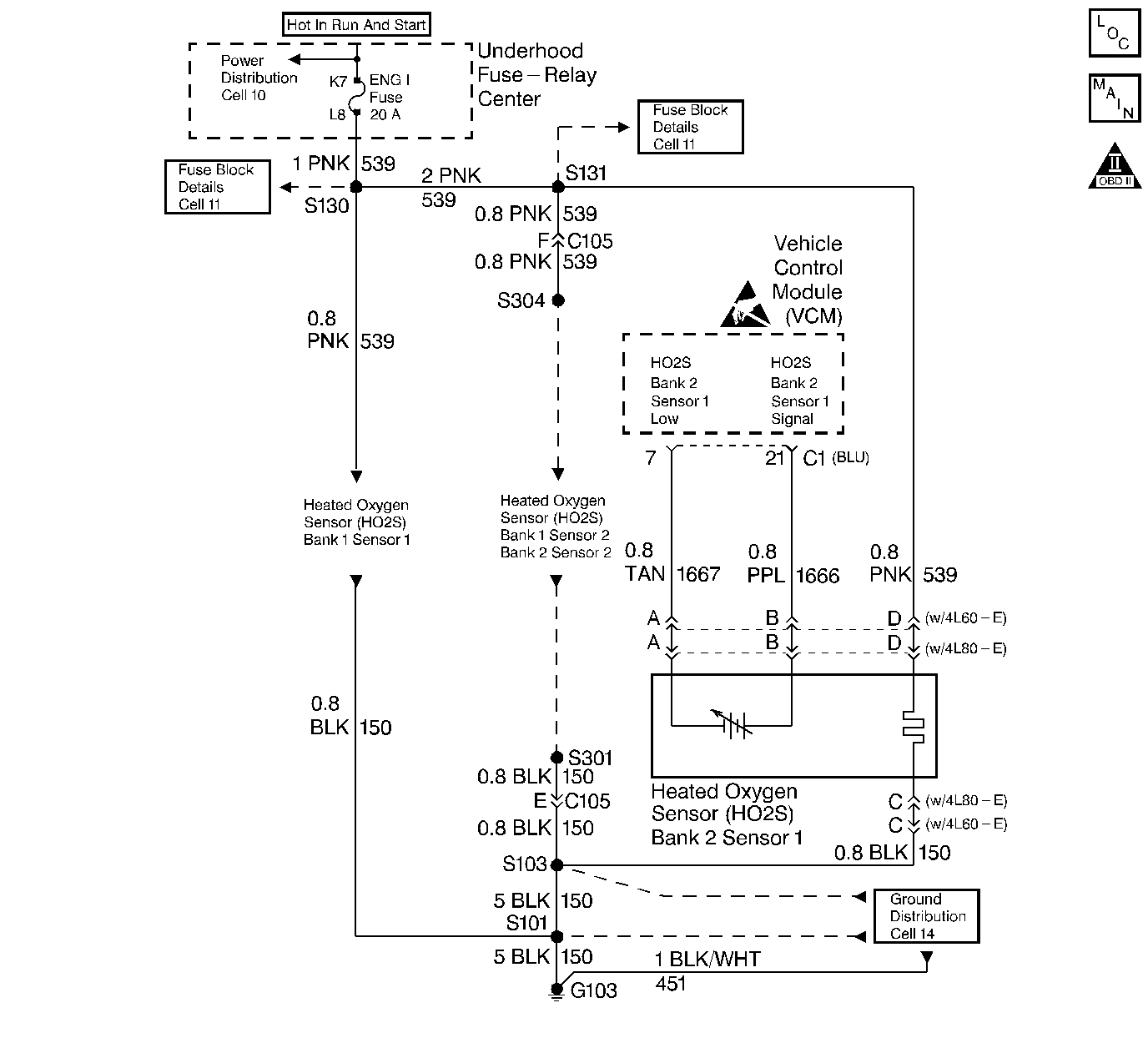
Object Number: 46221  Size: LF
Handling ESD Sensitive Parts Notice
Engine Controls Components 5.0L/5.7L/7.4L
Engine Controls Schematics
OBD II Symbol Description Notice

Circuit Description

Use this diagnostic test in conjunction with the HO2S (Bank 2, Sensor 1) slow response diagnostic test (P0153). The ratio of the response times that were calculated are compared to the calibrated limits. If the number of both the lean to rich transitions (switches) and the rich to lean transitions were both zero, then the ratios will set to 0. Otherwise, the ratio is calculated based on which average response time was greater. DTC P1154 is a type B DTC.

Conditions for Setting the DTC

The following conditions sets the DTC:

    • No fuel trim DTCs
    • L/R switches less than 30.
    • R/L switches less than 30.
    • No TP sensor DTCs
    • No EVAP DTCs
    • No IAT sensor DTCs
    • No MAP DTCs
    • No EGR DTCs
    • No ECT sensor DTCs
    • The DTC P0155 is not set
    • Closed Loop
    • HO2S voltage between 0.300 volts and 0.600 volts
    • Throttle position greater than 10% but less than 20%
    • The average response time calculations completed for this ignition cycle
    • The ratio of H02S LR/RL transitions is less than expected

Action Taken When the DTC Sets

The VCM turns the MIL (Malfunction Indicator Lamp) ON after 2 consecutive test failures.

The VCM records the operating conditions at the time the diagnostic fails. The Freeze Frame and Failure Records store this information.

Conditions for Clearing the MIL/DTC

The VCM turns the MIL OFF after 3 consecutive drive trips that the diagnostic runs and does not fail.

A Last Test Failed (current) DTC clears when the diagnostic runs and does not fail.

A History DTC clears after 40 consecutive warm-up cycles with no failures of any emission related diagnostic test.

The VCM battery voltage is interrupted.

The scan tool Clear Info function is used.

Diagnostic Aids

Important: Never solder the HO2S wires. For proper wire and connector repairs, refer to Wiring Repairs.

Check for the following conditions:

    • An improperly installed air intake duct
    • The air intake duct for collapsed ducting, restrictions, or a missing or plugged air filter
    • Throttle body and intake manifold vacuum leaks
    • A damaged or blocked throttle body inlet
    • Exhaust system for corrosion, leaks, or loose or missing hardware
    • The HO2S is installed securely and the pigtail harness is not contacting the exhaust manifold or wires
    • HO2S contamination
    • The vacuum hoses for splits, kinks, and proper connections
    • Excessive water, alcohol, or other contaminants in the fuel
    • VCM sensor grounds that are clean, tight, and properly positioned

Test Description

The numbers below refer to the step numbers in the diagnostic table.

  1. This step check if the other possible causes of this DTC have already been diagnosed.

  2. With the engine running warm, coolant at least 85° C (185° F) and at fast idle, the Oxygen sensor voltage should rapidly swing above 0.60 volts and below 0.30 volts.

  3. This step checks to see if the HO2S voltage is swinging between rich and lean very slowly or not at all.

  4. This step checks for causes of the HO2S failure. If the HO2S sensor is replaced without finding the cause of the contamination, the replacement sensor may become contaminated.

Step

Action

Value(s)

Yes

No

1

Important: Before clearing DTCs, use the scan tool in order to record the freeze frame and the failure records for reference because the Clear Info function will lose the data.

Was the Powertrain On-Board Diagnostic (OBD) System Check performed?

--

Go to Step 2

Go to Powertrain On Board Diagnostic (OBD) System Check

2

Connect the scan tool.

Are any other DTC stored?

--

Go to The Applicable DTC Table

Go to Step 3

3

  1. Start the engine.
  2. Idle until the normal operating temperature is reached.
  3. Observing the ECT display on the scan tool, operate the engine at a steady speed within the specified value for two minutes.

After 2 minutes does the HO2S (Bank 2, sensor 1) voltage rapidly swing above and below the specified value?

1200-2000 RPM

0.30 V-0.60 V

Go to Step 4

Go to Step 5

4

With the engine running at the specified value, observe the scan tool display.

Does the scan tool display indicate a Closed Loop?

1200-2000 RPM

Refer to Diagnostic Aids

Go to Step 8

5

Does the front HO2S (Bank 2, Sensor 1) voltage stay within the specified value longer than it swings outside this value?

0.30 V-0.60 V

Go to Step 10

Go to Step 6

6

Check the VCM connector terminal contact at the H02S Front High and Low signal circuits.

Was a problem found?

--

Go to Step 10

Go to Step 7

7

Check for a poor connection at the HO2S (Bank 2, Sensor 1) connector.

Was a problem found?

--

Go to Step 10

Go to Step 8

8

Replace the HO2S (Bank 2, Sensor 1). Refer to Heated Oxygen Sensor Replacement .

Is the action complete?

--

Go to Step 11

9

Check the following for possible cause of Oxygen sensor contamination:

    • Leaded fuel
    • Incorrect gasket sealer
    • Over rich operation.

Was a problem found?

--

Go to Step 10

Go to Step 11

10

Repair as necessary. Replace as necessary.

Is the action complete?

--

Go to Step 11

--

11

  1. Using the scan tool, select the DTC and the Clear Info.
  2. Start the Engine.
  3. Idle at the normal operating temperature.
  4. Select the DTC and the Specific.
  5. Enter the DTC number which was set.
  6. Operate the vehicle within the conditions for setting this DTC as specified in the supporting text.

Does the scan tool indicate that this diagnostic ran and passed?

--

Go to Step 12

Go to Step 2

12

Using the scan tool, select the Capture Info and the Review Info.

Are any DTCs displayed that have not been diagnosed?

--

Go to The Applicable DTC Table

System OK