GM Service Manual Online
For 1990-2009 cars only

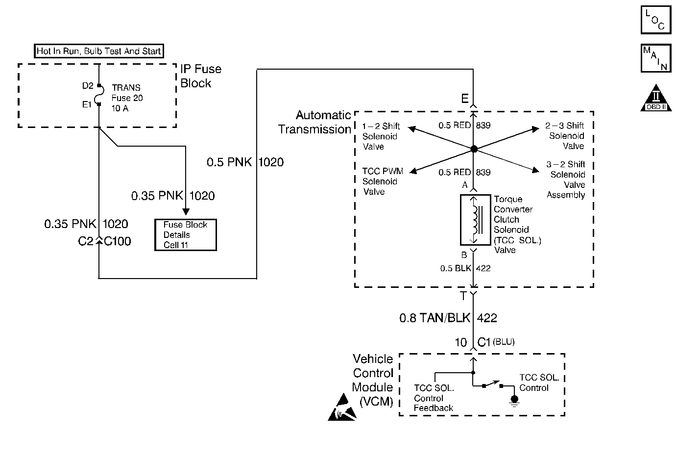
Object Number: 42356  Size: MF
Automatic Transmission Components
Automatic Transmission Controls Schematics
OBD II Symbol Description Notice
Handling ESD Sensitive Parts Notice

Circuit Description

The Torque Converter Clutch Solenoid Valve (TCC Sol. Valve) is an electrical device used with the TCC PWM Sol. Valve in order to control the fluid acting on the TCC valve. The TCC valve controls TCC application and release. The solenoid is a normally-open, ON/OFF device. The TCC Sol. Valve attaches to the transmission case assembly extending into the pump cover. The VCM monitors the TP voltage, the vehicle speed, and other inputs in order to determine when to energize the TCC Sol. Valve. The TCC Sol. Valve receives ignition voltage on circuit 1020. The VCM controls the solenoid by providing the ground path through circuit 422.

When the VCM detects a continuous open or a short to ground in the TCC Sol. Valve circuit or in the TCC Sol. Valve, then DTC P1864 sets. DTC P1864 is a type A DTC.

Conditions for Setting the DTC

    • The system voltage is 10-17 volts.
    • The engine is running.
    • The VCM commands first gear only.
    • All of the above conditions are met for 5 seconds and either of the following fail conditions occurs for 5 seconds:
       - The VCM commands the solenoid ON and the voltage remains high (B+).
       - The VCM commands the solenoid OFF and the voltage remains low (0 volt).

Action Taken When the DTC Sets

    • The VCM inhibits TCC engagement.
    • The VCM inhibits 4th gear if the transmission is in hot mode.
    • The VCM freezes shift adapts from being updated.
    • The VCM commands maximum line pressure.
    • The VCM illuminates the Malfunction Indicator Lamp (MIL).

Conditions for Clearing the MIL/DTC

    • The VCM turns OFF the MIL after three consecutive ignition cycles without a failure reported.
    • A scan tool can clear the DTC from the VCM history. The VCM clears the DTC from the VCM history if the vehicle completes 40 warm-up cycles without a failure reported.
    • The VCM cancels the DTC default actions when the fault no longer exists and the ignition is OFF long enough in order to power down the VCM.

Diagnostic Aids

    • Inspect the wiring for poor electrical connections at the VCM. Inspect the wiring for poor electrical connections at the transmission 20-way connector. Look for the following conditions:
       - A bent terminal
       - A backed out terminal
       - A damaged terminal
       - Poor terminal tension
       - A chafed wire
       - A broken wire inside the insulation
    • When diagnosing for an intermittent short or open condition, massage the wiring harness while watching the test equipment for a change.
    • With the TCC engaged, the TCC slip speed should be -20 to +20 RPM.
    • A short to ground in the TCC Sol. Valve circuit may also set a DTC P0742 TCC System Stuck On .

Test Description

The numbers below refer to the step numbers on the diagnostic table.

  1. This step tests for voltage to the solenoid.

  2. This step tests the ability of the VCM and wiring to control the ground circuit.

  3. This step tests the resistance of the TCC Sol. Valve and the Automatic Transmission Wiring Harness Assembly.

DTC P1864 Torque Converter Clutch Solenoid Valve (TCC Sol. Valve) Circuit - Electrical

Step

Action

Value(s)

Yes

No

1

Was the Powertrain On-Board Diagnostic (OBD) System Check performed?

--

Go to Step 2

Go to Section 6:

Powertrain On Board Diagnostic (OBD) System Check (4.3L)

Powertrain On Board Diagnostic (OBD) System Check (5.0L and 5.7L)

2

  1. Install the scan tool (tech 1) ®.
  2. With the engine OFF, turn the ignition switch to the RUN position.
  3. Important: Before clearing the DTCs, use the scan tool in order to record the Freeze Frame and Failure Records for reference. The Clear Info function will erase the data.

  4. Record the DTC Freeze Frame and Failure Records.
  5. If DTCs P0753, P0758, P1860, and P1886 are also set, inspect the TRANS fuse.

Is the fuse open?

--

Go to Step 3

Go to Step 4

3

Inspect the following components for a short to ground.

    • Circuit 1020
    • The solenoid
    • The Automatic Transmission Wiring Harness Assembly

Refer to Electrical Diagnosis, Section 8.

Did you find and correct a problem?

--

Go to Step 12

--

4

  1. Turn the ignition switch OFF.
  2. Disconnect the transmission 20-way connector (additional DTCs may set).
  3. Install the J 39775 Jumper Harness on the engine harness connector.
  4. With the engine OFF, turn the ignition switch to the RUN position.
  5. Connect a test lamp from cavity E of the J 39775 Jumper Harness to a known good ground. (connector end view)

Is the test lamp ON?

--

Go to Step 6

Go to Step 5

5

Repair the open or short to ground in ignition feed circuit 1020 to the TCC Sol. Valve.

Refer to Electrical Diagnosis, Section 8.

Is the repair complete?

--

Go to Step 12

--

6

  1. Install the test lamp from cavity E to cavity T of the J 39775 Jumper Harness. (connector end view)
  2. Command the TCC Sol. Valve ON and OFF three times.

Does the test lamp turn ON when the TCC Sol. Valve is commanded ON, and OFF when commanded OFF?

--

Go to Step 8

Go to Step 7

7

  1. Inspect circuit 422 for an open or short to ground.
  2. Repair the circuit if necessary.

Refer to Electrical Diagnosis, Section 8.

Did you find a problem?

--

Go to Step 12

Go to Step 9

8

  1. Install the J 39775 Jumper Harness on the transmission 20-way connector.
  2. Using the J 39200 DVOM and the J 35616-A Connector Test Adapter Kit, measure the resistance between terminal T and terminal E. (Connector End View )

Is the resistance within the specified range?

21-33ohms

Go to Step 10

Go to Step 11

9

Replace the VCM.

Refer to VCM Replacement/Programming (Vehicle Control Module) , Section 6.

Is the replacement complete?

--

Go to Step 12

--

10

Measure the resistance between terminal E and ground, and terminal T and ground.

Are both readings greater than the specified value?

250kohms

Go to Diagnostic Aids

Go to Step 11

11

Replace the A/T Wiring Harness Assy. (this includes the TCC Sol. Valve).

Refer to Automatic Transmission Wiring Harness Assembly Replacement, in On-Vehicle Service.

Is the replacement complete?

--

Go to Step 12

--

12

In order to verify your repair, perform the following procedure:

  1. Select DTC.
  2. Select Clear Info.
  3. Operate the vehicle and ensure that the following conditions are met:
  4. • The VCM commands the TCC Sol. Valve ON, and the voltage drops to zero.
    • The VCM commands the TCC Sol. Valve OFF, and the voltage increases to B+.
    • All conditions met for 5 seconds.
  5. Select Specific DTC. Enter DTC P1864.

Has the test run and passed?

--

System OK

Begin the diagnosis again. Go to Step 1