GM Service Manual Online
For 1990-2009 cars only
Makes
🢒
Chevrolet
🢒
2000
🢒
Chevy K Pickup - 4WD
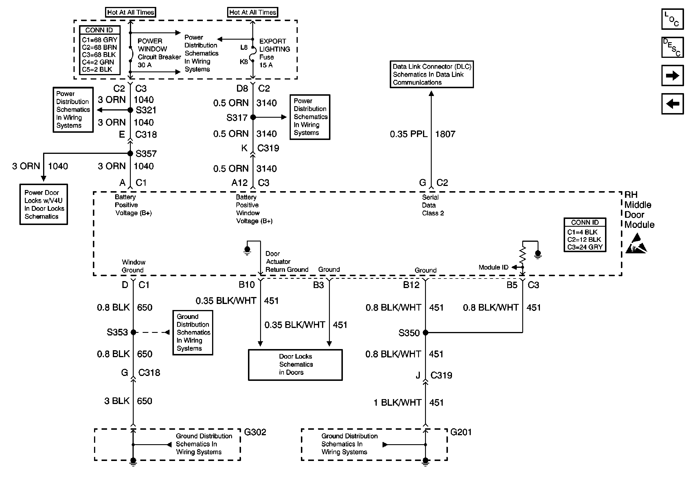
🢒 Right Middle Door Module (RMDM) Power, Gd., Inputs and Outputs (w/V4U)
Right Middle Door Module (RMDM) Power, Gd., Inputs and Outputs (w/V4U)
Right Middle Door Module (RMDM) Power, Gd., Inputs and Outputs (w/ V4U)
Power Door Systems Components
Door Description
Left Rear Door Module (LRDM) Power, Gd., Inputs and Outputs
Left Middle Door Module (LMDM) Power, Gd., Inputs and Outputs (w/ V4U)
Handling ESD Sensitive Parts Notice
Rear Fuse Block Battery Voltage
Serial Data Class 2 (2 of 3)
PWR WDO Circuit Breaker
AUDIO AMP and EXP LTG/LK Fuses
PWR WDO Circuit Breaker
G302-V4U/B9Q
G302-V4U/B9Q
RH Middle Door Power Door Lock (w/ V4U)
G201-V4U/BQ9