GM Service Manual Online
For 1990-2009 cars only

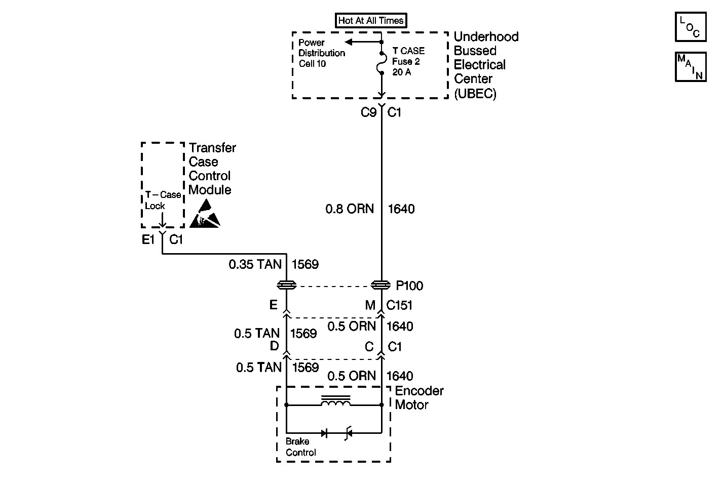
Object Number: 380636  Size: MF
Transfer Case Control Components
Transfer Case Control Schematics

Circuit Description

The Auto Transfer Case (ATC) Control Module controls the Transfer Case Lock Solenoid. The lock is energized (locking action released, by grounding circuit 1569) during gear shifts and in AUTO (Adapt) mode of operation. When power or ground is removed from the lock solenoid (locking action applied, releasing the ground on circuit 1569), the Transfer Case Motor is prevented from moving. In this manner the system is capable of providing a 4H and 4L lock-up without the need of additional vehicle power to hold the Transfer Case in these positions.

This DTC detects a shorted lock solenoid coil, or circuit 1569 shorted to a 12 V circuit.

Conditions for Setting the DTC

Auto Transfer Case Lock output reads back as a high voltage when a low voltage is expected.

Action Taken When the DTC Sets

    • The system will try to turn the lock solenoid on, grounding circuit 1569; if unable to energize the solenoid, the system will not attempt to energize the solenoid again during that ignition cycle.
    • All shifting will be disabled.
    • The SERVICE indicator (4WD/AWD) lamp will be latched on for the remainder of current ignition cycle.

Conditions for Clearing the DTC

    • The Auto Transfer Case (ATC) Control Module will clear the DTC if the condition for setting the DTC no longer exists.
    • A history DTC will clear after 100 consecutive ignition cycles without a fault present.
    • History DTCs can be cleared using a scan tool.

Test Description

The number(s) below refer to the step number(s) on the diagnostic table.

  1. This step determines if the internal resistance of the encoder motor lock circuit is within the specified resistance.

  2. This step determines if circuit 1569 is shorted to voltage.

Step

Action

Value(s)

Yes

No

1

Was the Transfer Case Diagnostic System Check performed?

--

Go to Step 2

Go to Transfer Case Diagnostic System Check

2

  1. Disconnect the transfer case encoder motor harness.
  2. Use a J 39200 Digital Multimeter DMM in order to measure the resistance across the encoder motor lock circuit.

Is the resistance reading within the specified values?

20-80 ohms

Go to Step 3

Go to Step 4

3

  1. Turn the ignition to the OFF position.
  2. Disconnect the transfer case shift control module connectors.
  3. Connect a J 39200 DMM from the transfer case shift control module harness connector C1 terminal E1 to ground in order to measure voltage.
  4. Turn the ignition to the run position.

Is the voltage greater than the specified values?

0-0.5 V

Go to Step 6

Go to Step 5

4

Replace the transfer case encoder motor (lock solenoid). Refer to Motor/Encoder Replacement .

Is the repair complete?

--

Go to Step 7

--

5

Replace the transfer case shift control module. Refer to Transfer Case Shift Control Module Replacement .

Is the repair complete?

--

Go to Step 7

--

6

Repair a short to voltage condition in CKT 1569. Refer to Wiring Repairs in Wiring Systems.

Are the repairs complete?

--

Go to Step 7

--

7

Reconnect all ATC system components, make sure all components are properly mounted.

Have all the ATC components been reconnected and properly mounted?

--

Go to Step 8

--

8

Clear all the ATC DTCs.

Are all the ATC DTCs cleared?

--

Go to Transfer Case Diagnostic System Check

--