GM Service Manual Online
For 1990-2009 cars only

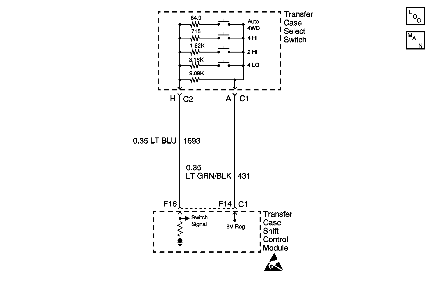
Object Number: 527781  Size: MF
Transfer Case Control Components
Transfer Case Control Schematics

Circuit Description

The range/mode switch circuit consists of four normally open switches. The transfer case shift control module supplies a regulated 8 volt, DC to the switch through the 8 V Reg circuit. The current travel through a 9.09 K ohms resistor located inside the switch. It returns current to the transfer case shift control module through the switch signal circuit.

The transfer case shift control module constantly monitors this signal voltage to determine the condition of the mode switch circuit. If no buttons are pressed, and the transfer case shift control module detects a voltage level outside the possible range (approx.-0.5 to 1.0 volts) for longer than 5 minutes, the transfer case shift control module will set this DTC or if a button is held down or sticks for a period longer than 5 minutes.

When each of the switches is depressed they will complete a circuit through their own specific resistor. The transfer case shift control module continuously monitors the switch input to determine whether the 4HI, AUTO 4WD, 2HI, and 4LO button selections are made by the driver. Neutral may be obtained if the following conditions are met:

    • The engine is running.
    • The automatic transmission is in neutral (or the clutch pedal is depressed on a manual transmission application).
    • The vehicle speed is below 3 MPH.
    • The transfer case is in the 2HI mode.

Once these conditions have been met, pressing and holding both the 2HI and 4LO buttons for 10 seconds will shift the transfer case into neutral, turning on the red neutral indicator lamp.

Conditions for Setting the DTC

    • The system constantly monitors the voltage on the switch signal circuit.
    • If the system detects a voltage level outside the possible range produced when no buttons are depressed, (approx.-0.5 to 1.0 volts), the DTC is logged.

Action Taken When the DTC Sets

    • All shifting will be disabled.
    • The SERVICE indicator (4WD/AWD) lamp will be latched on for the remainder of the current ignition cycle.

Conditions for Clearing the DTC

    • The transfer case shift control module will clear the current DTC if the condition for setting the DTC no longer exists.
    • A history DTC will clear after 100 consecutive ignition cycles without a fault present.
    • History DTCs can be cleared using a scan tool.

Test Description

The number(s) below refer to the step number(s) on the diagnostic table.

  1. Tests for proper operation of the transfer case mode select switch.

  2. Tests for proper voltage supply to the transfer case mode select switch.

  3. Tests the transfer case mode select switch for proper resistance values in all switch states.

  4. Tests the switch signal circuit for a short to voltage.

  5. Tests the switch signal circuit for an open or short to ground.

  6. Tests the switch signal circuit for a short to the 8 V Reg circuit.

  7. Determines whether the 8 V Reg circuit is greater than or less than the specified voltage.

  8. Tests the 8 V Reg circuit for a short to voltage.

  9. Tests the 8 V Reg circuit for an open or short to ground.

DTC B2725 Mode Switch Circuit Malfunction

Step

Action

Value(s)

Yes

No

1

Was the Transfer Case Diagnostic System Check performed?

--

Go to Step 2

Go to Diagnostic System Check

2

Important:: Neutral Range will only be obtained by pressing and holding both the 2 HI and the 4 LO buttons simultaneously for 10 seconds. Refer to Circuit Description.

  1. Install a Scan Tool.
  2. Start the engine.
  3. Place the transmission into NEUTRAL (or clutch pedal depressed on the manual transmission applications).
  4. Set the park brake.
  5. With a scan tool, observe the Commanded Mode Indicator data parameter in the Transfer Case data list.
  6. Depress each of the Mode/Range buttons.

Does the scan tool indicate that the Commanded Mode Indicator data parameter is indicating the correct state?

--

Go to Testing for Intermittent Conditions and Poor Connections

Go to Step 3

3

  1. Turn the ignition to OFF.
  2. Disconnect the selector mode switch.
  3. Turn the ignition to ON, with the engine OFF.
  4. Measure the voltage from 8 V Reg Circuit to a good ground.

Does the voltage measure within the specified range?

7-9 V

Go to Step 4

Go to Step 8

4

  1. Connect a DMM between the Selector Mode Switch Signal Circuit and the 8 V Reg circuit at the switch.
  2. Measure the resistance through the selector mode switch while depressing the range buttons and comparing the values.

Does the DMM indicate all resistance values within the specified ranges?

Normal 8.63-9.54 K ohms Auto 4 WD 61.7-68.1 ohms 4 HI 656-670 ohms 2 HI 1.50-1.53 K ohms 4 LO 2.32-2.37 K ohmsNeutral 1.015-1.035 Kohms

Go to Step 5

Go to Step 11

5

  1. Turn the ignition OFF.
  2. Disconnect the transfer case shift control module.
  3. Turn the ignition ON, with the engine OFF.
  4. Test the switch signal circuit for a short to voltage. Refer to Circuit Testing and Wiring Repairs in Wiring Systems.

Was the condition found and corrected?

--

Go to Step 13

Go to Step 6

6

Test the switch signal circuit for an open or short to ground. Refer to Circuit Testing and Wiring Repairs in Wiring Systems.

Was the condition found and corrected?

--

Go to Step 13

Go to Step 7

7

Test the switch signal circuit for a short to the 8 V Reg circuit. Refer to Circuit Testing and Wiring Repairs in Wiring Systems.

Was the condition found and corrected?

--

Go to Step 13

Go to Step 12

8

Was the voltage measured in Step 3 greater than the specified value?

9 V

Go to Step 9

Go to Step 10

9

  1. Turn OFF the ignition.
  2. Disconnect the transfer case shift control module.
  3. Turn ON the ignition, with the engine OFF.
  4. Test the 8 V Reg circuit for a short to voltage. Refer to Circuit Testing and Wiring Repairs in Wiring Systems.

Was the condition found and corrected?

--

Go to Step 13

Go to Step 12

10

  1. Turn OFF the ignition.
  2. Disconnect the transfer case shift control module.
  3. Turn ON the ignition, with the engine OFF.
  4. Test the 8 V Reg circuit for an open or short to ground. Refer to Circuit Testing and Wiring Repairs in Wiring Systems.

Was the condition found and corrected?

--

Go to Step 13

Go to Step 12

11

Replace the selector mode switch. Refer to Transfer Case Shift Control Switch Replacement .

Is the repair complete?

--

Go to Step 13

--

12

Replace the transfer case shift control module. Refer to Transfer Case Shift Control Module Replacement .

Is the repair complete?

--

Go to Step 13

--

13

  1. Use the scan tool in order to clear the DTCs.
  2. Operate the vehicle within the Conditions for Running the DTC as specified in the supporting text.

Does the DTC reset?

--

Go to Step 2

System OK