GM Service Manual Online
For 1990-2009 cars only

EVAP System Overview


Object Number: 678941  Size: LF
(1)EVAP Canister Purge Solenoid
(2)EVAP Canister
(3)Fuel Fill Neck/Fill Cap
(4)Rollover Valve/Fuel Tank Pressure (FTP) Sensor
(5)Fuel Tank
(6)EVAP Canister Vent Solenoid
(7)Vent Hose/Pipe
(8)EVAP Vapor Pipe
(9)EVAP Purge Pipe
(10)EVAP Service Port

This tank configuration is available on the Cab/Chassis and the Utility.

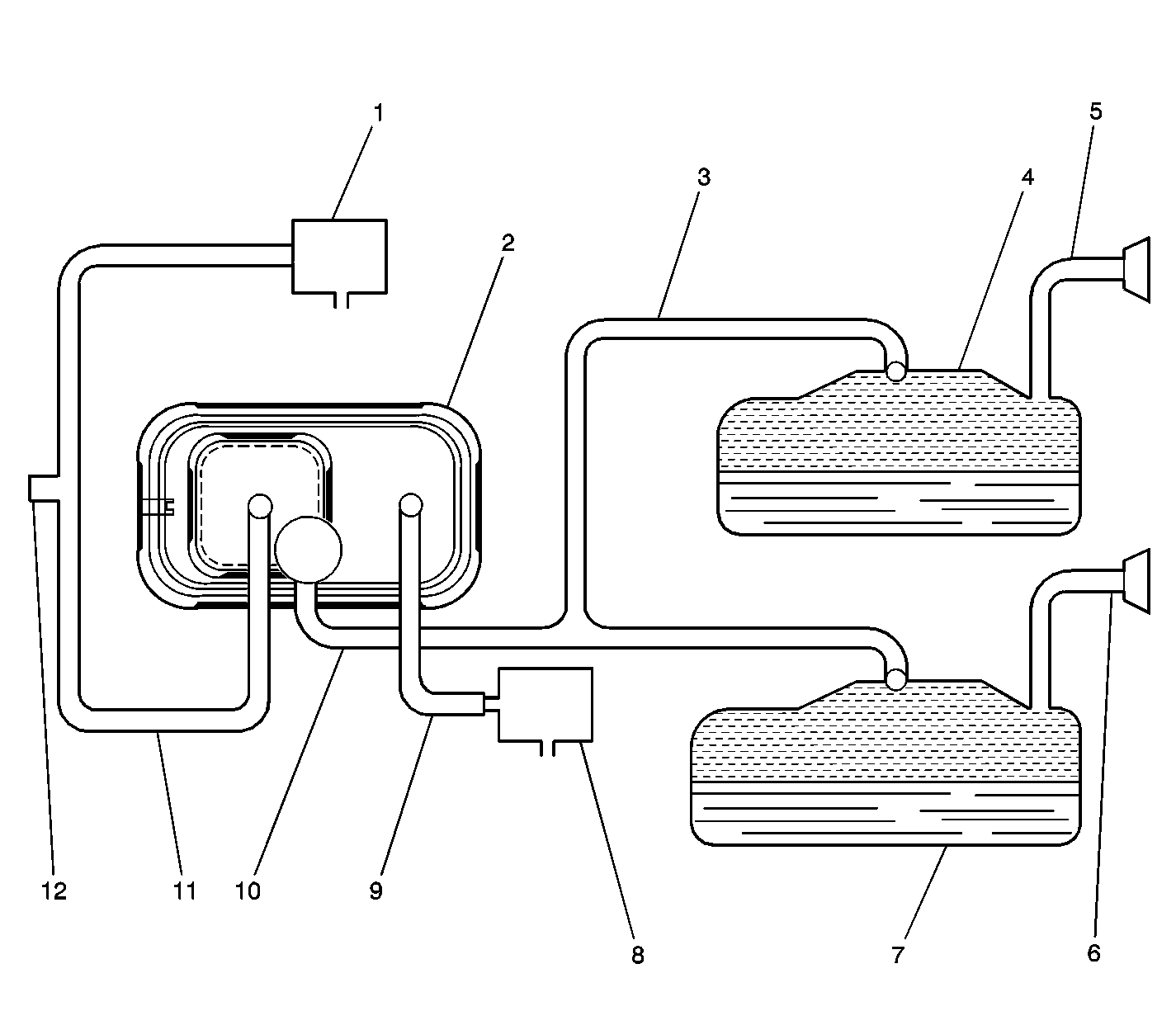
EVAP Hose/Pipe Routing W/Dual Tanks and One Fill Neck


Object Number: 678911  Size: LF
(1)EVAP Canister Purge Valve
(2)EVAP Canister
(3)EVAP Vapor Pipe
(4)Front Fuel Tank
(5)Fuel Fill Neck
(6)Rear Fuel Tank
(7)EVAP Canister Vent Valve
(8)Vent Hose/Pipe
(9)EVAP Purge Pipe
(10)EVAP Service Port

This tank configuration is only available on the Utility.

EVAP Hose/Pipe Routing W/Dual Tanks and Two Fill Necks


Object Number: 678920  Size: LF
(1)EVAP Canister Purge Valve
(2)EVAP Canister
(3)EVAP Vapor Pipe
(4)Front Fuel Tank
(5)Front Fuel Fill Neck
(6)Rear Fuel Fill Neck
(7)Rear Fuel Tank
(8)EVAP Canister Vent Valve
(9)Vent Hose/Pipe
(10)EVAP Vapor Pipe
(11)EVAP Purge Pipe
(12)EVAP Service Port

This tank configuration is only available on the Cab/Chassis.

The evaporative emissions (EVAP) control system used on all vehicles is the charcoal canister storage method. This method transfers fuel vapor from the fuel tank to an activated carbon charcoal storage canister, to hold the vapors when the vehicle is not operating. When the engine is operating, the fuel vapor is purged from the carbon element by intake air flow and consumed in the normal combustion process.

EVAP Canister

EVAP Canister


Object Number: 11795  Size: LH
(1)Purge Tube to Solenoid
(2)Buffer Tube
(3)Charcoal Bed
(4)EVAP Charcoal Canister
(5)Volume Compensator
(6)Fresh Air Inlet from Air Separator
(7)Liquid Fuel Trap
(8)Vapor Tube from Fuel Tank

EVAP System

The evaporative system includes the following components:

    • The fuel tank
    • The evaporative emission canister vent solenoid
    • The fuel tank pressure sensor
    • The fuel pipes and hoses
    • The vapor lines
    • The fuel cap
    • The evaporative emission canister
    • The purge lines
    • The purge valve solenoid

EVAP System Operation

EVAP Purge Solenoid


Object Number: 390242  Size: SH
(1)EVAP Purge Solenoid Electrical Connector
(2)Isolater
(3)Shoulder Bolt with Slip Washer
(4)Vacuum Port

The EVAP purge solenoid valve is mounted on the top of the intake manifold. The EVAP purge solenoid valve isolator (2) and mounting fastener (3) must never be substituted. The EVAP purge solenoid valve allows manifold vacuum to purge the canister through the vacuum port (4). The powertrain control module (PCM) supplies a ground to energize the EVAP purge solenoid valve, purge ON. The EVAP purge solenoid control is pulse width modulated (PWM) or turned ON and OFF several times a second.

Fuel Tank Pressure Sensor


Object Number: 18839  Size: SH

The EVAP canister purge pulse width modulation (PWM) duty cycle varies according to the operating conditions determined by the mass air flow, the fuel trim, the engine coolant temperature, and the intake air temperature . For certain EVAP tests, the diagnostic is disabled if the throttle position (TP) angle increases to above 75 percent.

The evaporative leak detection diagnostic strategy is based on applying vacuum to the EVAP system and monitoring for vacuum decay.

The fuel level sensor input to the powertrain control module (PCM) is used to determine if the fuel level in the tank is within a range that allows the EVAP diagnostic tests to run. To ensure sufficient volume in the tank to begin the various diagnostic tests, the fuel level must be between 15-85 percent.

The PCM monitors the fuel tank pressure (FTP) vacuum level via the fuel tank pressure sensor input.

Results of Incorrect Operation

    •  Rough idle, stalling, and reduced driveability may be caused by the following:
       -  A malfunctioning purge solenoid
       -  A damaged canister
       -  Any hoses or lines split, cracked, or not connected properly
    • Evidence of fuel loss or fuel vapor odor can be caused by the following:
       - Any liquid fuel leaking from the fuel lines
       - A cracked or damaged canister
       - An inoperative canister control valve
       - Any vacuum hoses that are:
   • Disconnected
   • Mis-routed
   • Kinked
   • Deteriorated
   • Damaged

EVAP Canister Vent Valve


Object Number: 385856  Size: SH

The evaporative leak detection diagnostic strategy is based on applying vacuum to the EVAP system and monitoring vacuum decay.

The PCM monitors vacuum level via the fuel tank pressure sensor input. At an appropriate time, the EVAP purge solenoid and the EVAP vent solenoid (2) are turned ON, allowing engine vacuum to draw a small vacuum on the entire evaporative emission system. After the desired vacuum level has been achieved, the EVAP purge solenoid is turned OFF, sealing the system. A leak is detected by monitoring for a decrease in vacuum level over a given time period, all other variables remaining constant. A small leak in the system causes DTC P0442 to be set.

If the desired vacuum level cannot be achieved in the test described above, a large leak or a faulty EVAP purge solenoid is indicated. This can be caused by the following conditions:

    •  A disconnected or faulty fuel tank pressure sensor
    •  A missing or faulty fuel cap
    •  A disconnected, damaged, pinched, or blocked EVAP purge line
    •  A disconnected or damaged EVAP vent hose
    •  A disconnected, damaged, pinched, or blocked fuel tank vapor line
    • A disconnected or faulty EVAP canister solenoid
    • A disconnected or faulty EVAP vent solenoid
    • An open ignition feed circuit to the EVAP vent or purge solenoid
    • A damaged EVAP canister

Any of the above conditions sets DTC  P0440.

A restricted or blocked EVAP canister vent path is detected by drawing vacuum into the EVAP system. The PCM turns OFF the EVAP vent solenoid and the EVAP purge solenoid, EVAP vent solenoid Open, EVAP purge PWM 0 percent. The PCM monitors the fuel tank pressure sensor input. With the EVAP vent solenoid open, any vacuum in the system should decrease quickly unless the vent is blocked. A blockage is caused by the following conditions:

    •  A faulty EVAP vent solenoid, stuck closed
    •  A plugged, kinked, or pinched vent hose
    •  A shorted EVAP vent solenoid driver circuit
    •  A plugged evaporative canister

If any of the above conditions are present, DTC P0446 sets.

The PCM checks for conditions that cause the EVAP system to purge continuously by commanding the EVAP vent solenoid ON and the EVAP purge solenoid OFF, EVAP vent solenoid CLOSED, EVAP purge PWM 0 percent. If the fuel tank pressure level increases during the test, a continuous purge flow condition is indicated. This can be caused by the following conditions:

    •  The EVAP purge solenoid is leaking
    •  The EVAP purge solenoid driver circuit is grounded

If any of the above conditions are present, DTC P1441 sets.

Refer to the appropriate DTCs for further diagnostic procedures regarding the EVAP system.

Visual Check of Evaporative Emission Canister

    • Replace the canister if the canister is cracked or damaged.
    • Replace the canister and inspect the fuel lines and the fuel line routing if fuel is leaking from the canister.