GM Service Manual Online
For 1990-2009 cars only

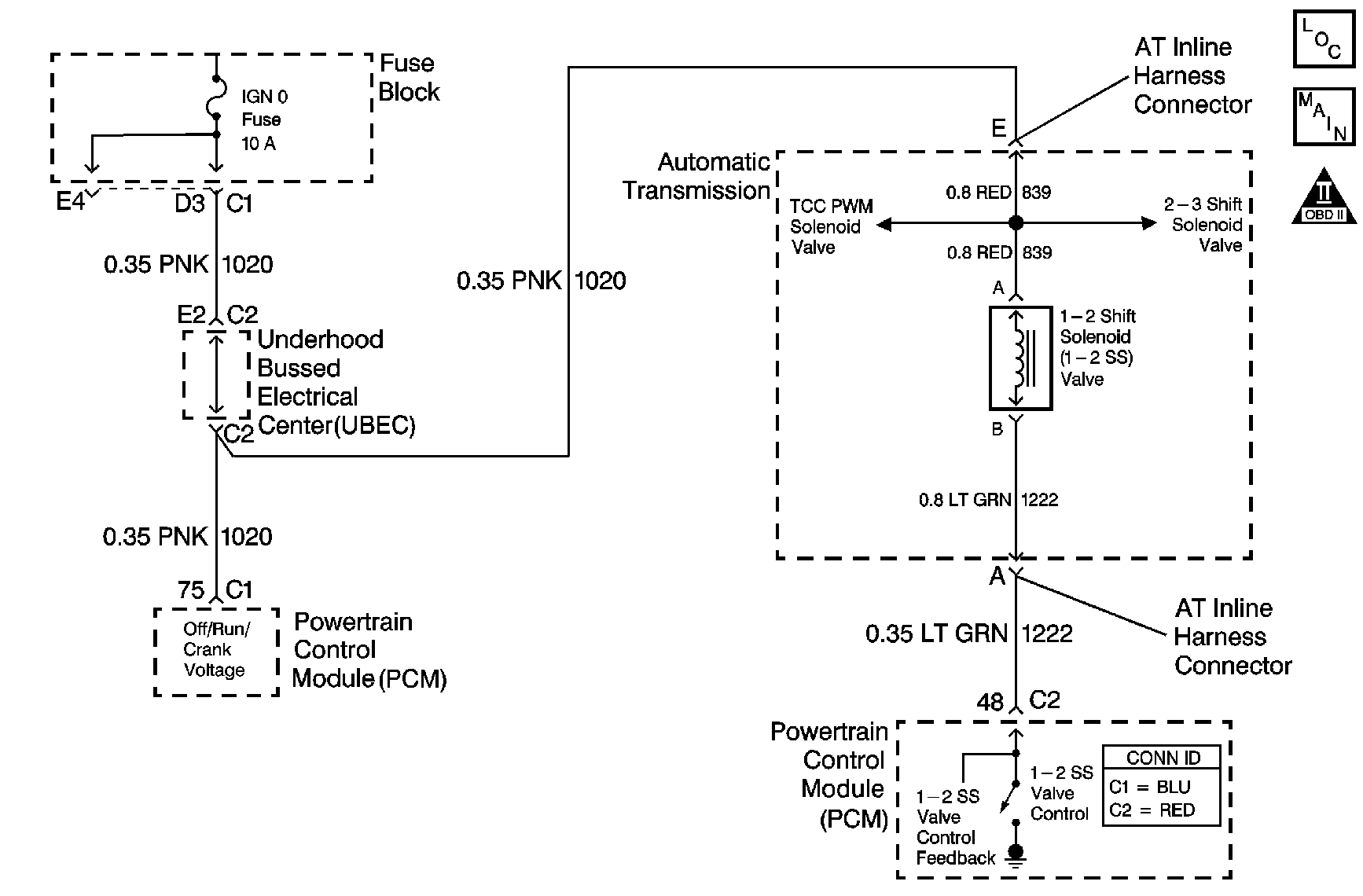
Object Number: 740710  Size: MF
Master Electrical Component List
Automatic Transmission Controls Schematics
OBD II Symbol Description Notice

Circuit Description

The 1-2 shift solenoid (SS) valve controls the fluid flow action on the 1-2 and the 3-4 shift valves. The 1-2 SS valve is a normally-open exhaust valve that is used with the 2-3 SS valve to allow for four different shifting combinations. The 1-2 SS valve attaches to the control valve body within the transmission. The ignition voltage goes directly to the 1-2 SS valve. The PCM controls the 1-2 SS valve by providing the ground path through the 1-2 shift solenoid valve control circuit.

When the powertrain control module (PCM) detects a continuous open or short in the 1-2 SS valve circuit or the 1-2 SS valve, then DTC P0753 sets. DTC P0753 is a type C DTC. For California emissions vehicles and vehicles under 8600 GVW, DTC P0753 is a type A DTC.

Conditions for Running the DTC

    • The system voltage is 8.0-18.0 volts.
    • The engine runs more than 400 RPM for greater than 7 seconds.

Conditions for Setting the DTC

All conditions for running the DTC are met, and either of the following conditions occur for 4.3 out of 5 seconds.

    • The PCM commands the solenoid on, and the voltage input remains high (B+).
    • The PCM commands the solenoid off and the voltage input remains low.

Action Taken When the DTC Sets

    • For California emission equipped vehicles, the PCM illuminates the malfunction indicator lamp (MIL) during the second consecutive trip in which the Conditions for Setting the DTC are met. For Non-California emission equipped vehicles, the MIL is not illuminated.
    • The PCM commands maximum line pressure.
    • The PCM freezes shift adapts.
    • The PCM inhibits 3-2 downshifts above 40 km/h (25 mph).
    • The PCM records the operating conditions when the Conditions for Setting the DTC are met. The PCM stores this information as Freeze Frame (Calif. only) and Failure Records (Calif. and Federal).
    • The PCM stores the DTC P0753 in PCM history during the second consecutive trip (Calif.) or the first trip (Federal) in which the Conditions for Setting the DTC are met.

Conditions for Clearing the MIL/DTC

    • For California emissions, the PCM turns OFF the MIL during the third consecutive trip in which the diagnostic test runs and passes.
    • A scan tool can clear the MIL/DTC.
    • For California emissions, the PCM clears the DTC from PCM history if the vehicle completes 40 warm-up cycles without an emission related diagnostic fault occurring.
    • For Federal emissions, the PCM clears the DTC from PCM history if the vehicle completes 40 warm-up cycles without a non-emission related diagnostic fault occurring.
    • The PCM cancels the DTC default actions when the fault no longer exists and the ignition switch is OFF long enough in order to power down the PCM.

Diagnostic Aids

    • An open ignition feed on the Off/Run/Crank voltage circuit (CKT 1020) can cause multiple DTCs to set. Refer to Shift Solenoid Valve State and Gear Ratio .
    • DTC P0753 defaults to an elevated line pressure condition which may result in TCC partial apply. This may induce idle surge and engine stall.

Test Description

The numbers below refer to the step numbers on the diagnostic table.

  1. This step tests the function of the 1-2 SS valve and the internal wiring harness.

  2. This step tests the power to the 1-2 SS valve from the ignition through the fuse.

  3. This step tests the ability of the PCM and the wiring to control the ground circuit.

  4. This step measures the resistance of the automatic transmission wiring harness assembly and the 1-2 SS valve.

DTC P0753

Step

Action

Value(s)

Yes

No

1

Did you perform the Powertrain Diagnostic System Check?

--

Go to Step 2

Go to Diagnostic System Check - Engine Controls (6.0 L) or Diagnostic System Check - Engine Controls (8.1 L) in Engine Controls

2

  1. Install a Scan Tool .
  2. Turn ON the ignition, with the engine OFF.
  3. Important: Before clearing the DTCs, use the scan tool in order to record the Freeze Frame and Failure Records. Using the Clear Info function erases the Freeze Frame and Failure Records from the PCM.

  4. Record the Freeze Frame and Failure Records.
  5. Clear the DTCs.

Were DTCs P0753, P0758, or P1860 also set?

--

Go to Step 3

Go to Step 4

3

  1. Inspect the transmission fuse.
  2. If you find an open fuse, inspect the following components for a short to ground:
  3. • Off/Run/Crank voltage circuit (CKT 1020)
    • The 1-2 shift solenoid
    • The 2-3 shift solenoid
    • The TCC PWM solenoid
    • The automatic transmission wiring harness assembly
  4. Repair the circuit, the solenoid, and replace the harness if necessary.

Refer to Wiring Repairs in Wiring Systems or to Wiring Harness Replacement.

Did you find and correct the condition?

--

Go to Step 17

Go to Step 4

4

Using the transmission output control function on the scan tool, command the 1-2 SS valve ON and OFF three times while listening to the bottom of the transmission pan. Use a stethoscope if needed.

Does the solenoid click when commanded?

--

Go to Intermittent Conditions in Engine Controls

Go to Step 5

5

  1. Turn OFF the ignition.
  2. Disconnect the transmission 20-way connector. Additional DTCs will set.
  3. Install the J 44152 jumper harness (20 pins) on the engine harness connector.
  4. Turn ON the ignition, with the engine OFF.
  5. Connect a 12 volt test lamp from the J 44152 cavity E to ground.

Does the test lamp illuminate?

--

Go to Step 7

Go to Step 6

6

Repair the open or high resistance in the Off/Run/Crank voltage circuit (CKT 1020) to the 1-2 SS valve.

Refer to Circuit Testing and Wiring Repairs in Wiring Systems.

Did you find and correct the condition?

--

Go to Step 17

--

7

  1. Install a 12 volt test lamp between cavities E and A of the J 44152 .
  2. Using the transmission output control function, command the 1-2 SS valve ON and OFF three times.

Does the test lamp illuminate when you command the shift solenoid ON and turn off when you command the shift solenoid OFF?

--

Go to Step 10

Go to Step 8

8

Test the 1-2 shift solenoid valve control circuit (CKT 1222) of the 1-2 SS valve for an open or short to ground.

Refer to Circuit Testing and Wiring Repairs in Wiring Systems.

Did you find and correct the condition?

--

Go to Step 17

Go to Step 9

9

Replace the PCM.

Refer to Powertrain Control Module Replacement (6.0 L) or Powertrain Control Module Replacement (8.1 L) in Engine Controls.

Did you complete the replacement?

--

Go to Step 17

--

10

  1. Turn OFF the ignition.
  2. Install J 44152 on the transmission 20-way connector (Automatic Transmission Connector End View).
  3. With the J 39200 digital multimeter (DMM) and the J 35616 connector test adapter kit , measure the resistance between terminals A and E.

Does the resistance measure within the specified values?

19-31 ohms

Go to Step 12

Go to Step 11

11

  1. Disconnect the automatic transmission wiring harness assembly from the 1-2 SS valve.
  2. Measure the resistance of the 1-2 SS valve.

Does the resistance measure within the specified values?

19-31 ohms

Go to Step 15

Go to Step 16

12

Measure the resistance between terminal A and ground. Use the J 39200 DMM.

Does the resistance measure greater than the specified value?

250 K ohms

Go to Step 14

Go to Step 13

13

  1. Disconnect the automatic transmission wiring harness assembly from the 1-2 SS valve.
  2. Measure the resistance from the component's terminals to ground.

Do both readings measure greater than the specified value?

250 K ohms

Go to Step 15

Go to Step 16

14

Measure the resistance between terminal A and all other terminals, except terminals B, E, and S of the J 44152 .

Refer to Automatic Transmission Inline Harness Connector End View .

Is the resistance between terminal A and any other terminal, except terminals B, E, and S less than the specified value?

--

Go to Step 15

Go to Intermittent Conditions in Engine Controls

15

Replace the automatic transmission wiring harness assembly.

Refer to Wiring Harness Replacement.

Did you complete the replacement?

--

Go to Step 17

--

16

Replace the 1-2 SS valve.

Refer to Control Valve Body Replacement .

Did you complete the replacement?

--

Go to Step 17

--

17

Perform the following procedure in order to verify the repair:

  1. Select DTC.
  2. Select Clear Info.
  3. Select the parameters 1-2 Solenoid and 1-2 Solenoid Open/Short to GND, and 1-2 Solenoid Short to Volts.
  4. Operate the vehicle under the following conditions:
  5. • The PCM commands the 1-2 SS valve ON, and the 1-2 Solenoid Short to Volts is NO.
    • The PCM commands the 1-2 SS valve OFF, and the 1-2 Solenoid Open/Short to GND is NO.
    • All conditions met for 5 seconds.
  6. Select Specific DTC.
  7. Enter DTC P0753.

Has the test run and passed?

--

System OK

Go to Step 1