GM Service Manual Online
For 1990-2009 cars only

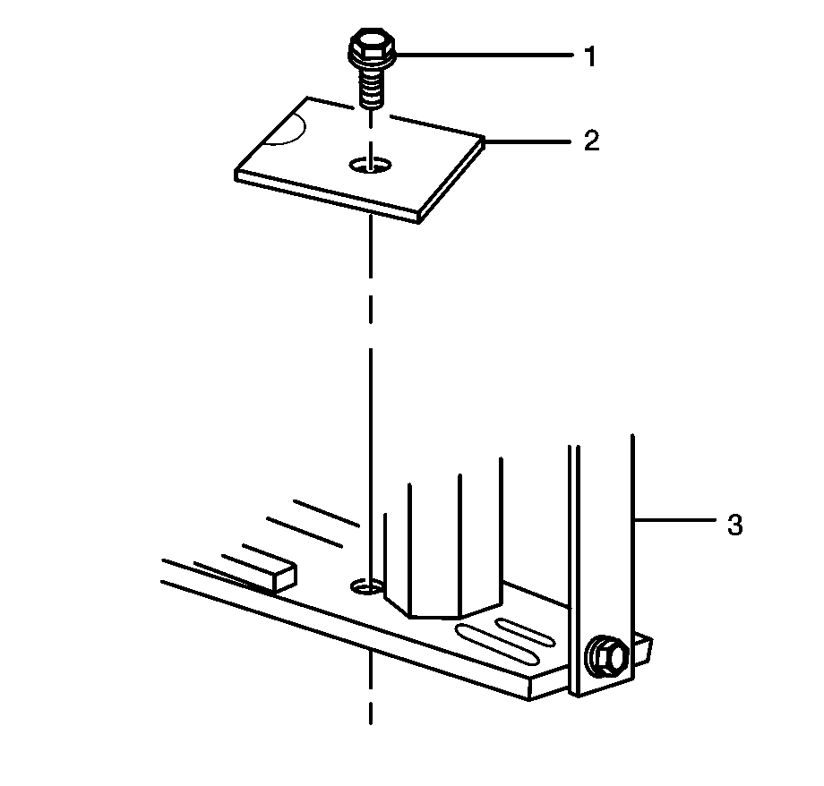
Removal Procedure

    Caution: Refer to Vehicle Lifting Caution in the Preface section.


    Object Number: 1700812  Size: SH

    Important: Ensure that the vehicle is unloaded prior to reinforcement replacement.

  1. Raise and support the vehicle. Refer to Lifting and Jacking the Vehicle in General Information in 2005 C/K Truck Service Manual.
  2. Remove body mount bolt (1).
  3. Remove the upper reinforcement (2) from the radiator core support (3).

Installation Procedure


    Object Number: 1700812  Size: SH
  1. Install the upper reinforcement (2) onto the radiator core support (3).
  2. Perform the following procedure before installing the bolts.
  3. • Remove all traces of the original adhesive patch.
    • Clean the threads of the bolt with denatured alcohol or equivalent and allow to dry.
    • Apply Threadlocker GM P/N 12345493 (Canadian P/N 10953488).

    Notice: Refer to Fastener Notice in the Preface section.

  4. Install the body mount bolt (1).
  5. Tighten
    Tighten body mount bolt to 70 N·m (52 lb ft).

  6. Lower the vehicle. Refer to Lifting and Jacking the Vehicle in General Information in 2005 C/K Truck Service Manual.