Removal Procedure
- Remove the rear nut securing gun rack to the floor.
- Loosen the inner rear front seat bolts enough to slide back.
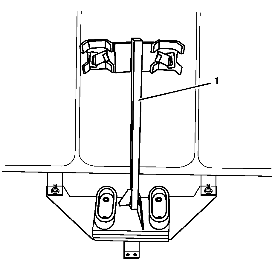
- Remove the gun rack (1) from vehicle.
Installation Procedure
- Install the gun rack (1) and slide under the front seat bolts.
- Align the rear gun rack hole with stud in the floor.
Notice: Refer to Fastener Notice in the Preface section.
- Install the nut on the stud and tighten.
Tighten
| • | Tighten the rear nut to 20 N·m (15 lb ft). |
| • | Tighten the front bolts to 55 N·m (41 lb ft). |