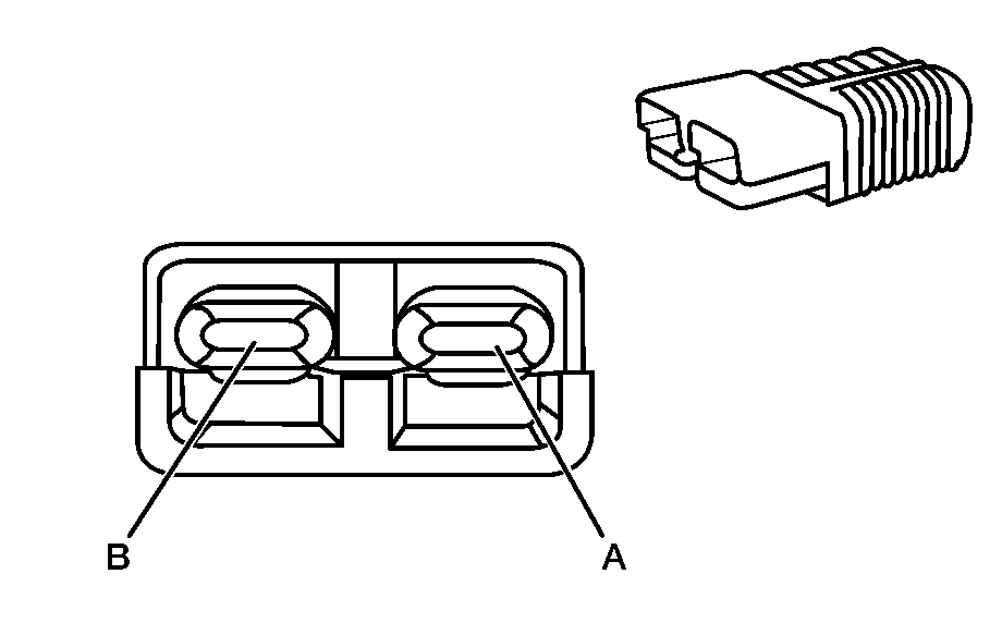
| |||||||
|---|---|---|---|---|---|---|---|
Connector Part Information |
| ||||||
Pin | Wire Color | Circuit No. | Function | ||||
A | BN | 241 | Ignition 3 Voltage | ||||
B | BK | 550 | Ground | ||||
| |||||||
|---|---|---|---|---|---|---|---|
Connector Part Information |
| ||||||
Pin | Wire Color | Circuit No. | Function | ||||
1 | WH | 1-BCO | Ground | ||||
2 | WH | 2-BCO | BCO Status | ||||
3 | WH | 3-BCO | BCO Control - A | ||||
4 | WH | 4-BCO | BCO Control - B | ||||
5 | WH | 5-BCO | Battery Positive Voltage | ||||
| |||||||
|---|---|---|---|---|---|---|---|
Connector Part Information |
| ||||||
Pin | Wire Color | Circuit No. | Function | ||||
A | PU | 420 | Cruise Control Release Signal | ||||
B | BN/WH | 379 | CPP Switch Signal | ||||
C | PK | 639 | Ignition 1 Voltage | ||||
D | D-GN | 1433 | Clutch Start Switch Signal | ||||
E | BN | 441 | Ignition 3 Voltage | ||||
F | GY | 48 | CPP Switch Signal | ||||
| |||||||
|---|---|---|---|---|---|---|---|
Connector Part Information |
| ||||||
Pin | Wire Color | Circuit No. | Function | ||||
1 | WH | 1-CS | Current Sensor Signal - A | ||||
2 | WH | 2-CS | Current Sensor Signal - B | ||||
3 | WH | 3-CS | Compensating Coil Voltage | ||||
4 | WH | 4-CS | Low Reference | ||||
| |||||||
|---|---|---|---|---|---|---|---|
Connector Part Information |
| ||||||
Pin | Wire Color | Circuit No. | Function | ||||
1 | WH | 1-FAN | Fan Speed Signal | ||||
2 | WH | 2-FAN | Low Reference | ||||
3 | -- | -- | Not Used | ||||
4 | WH | 4-FAN | 5-Volt Reference | ||||
| |||||||
|---|---|---|---|---|---|---|---|
Connector Part Information |
| ||||||
Pin | Wire Color | Circuit No. | Function | ||||
1 | WH | 1-NTC-1 | Temperature Sensor Signal - 1 | ||||
2 | WH | 1-NTC-2 | Temperature Sensor Signal - 2 | ||||
3-7 | -- | -- | Not Used | ||||
8 | WH | 2-BCO | BCO Control - A | ||||
9 | WH | 4-BCO | BCO Control - B | ||||
10 | WH | 2-BCO | BCO Status | ||||
11 | WH | 1-BCO | Ground | ||||
12 | WH | 2-CS | Current Sensor Signal - A | ||||
13 | WH | 3-CS | Compensating Coil Voltage | ||||
14 | WH | 5-BCO | Battery Positive Voltage | ||||
15 | WH | 2-FAN | Low Reference | ||||
16 | -- | -- | Not Used | ||||
17 | WH | 2-NTC-2 | Low Reference | ||||
18 | WH | 2-NTC-1 | Low Reference | ||||
19 | WH | 2-NTC-3 | Low Reference | ||||
20 | WH | 1-NTC-3 | Temperature Sensor Signal - 3 | ||||
21 | WH | 1-R2 | Voltage Sensor Signal - 2 | ||||
22 | -- | -- | Not Used | ||||
23 | WH | 1-R1 | Voltage Sensor Signal - 1 | ||||
24 | WH | 1-R4 | Voltage Sensor Signal - 4 | ||||
25 | WH | 1-R3 | Voltage Sensor Signal - 3 | ||||
26 | -- | -- | Not Used | ||||
27 | WH | 1-CS | Current Sensor Signal - A | ||||
28 | WH | 4-CS | Low Reference | ||||
29 | WH | 4-FAN | 5-Volt Reference | ||||
30 | WH | 1-FAN | Fan Speed Signal | ||||
| |||||||
|---|---|---|---|---|---|---|---|
Connector Part Information |
| ||||||
Pin | Wire Color | Circuit No. | Function | ||||
1-14 | -- | -- | Not Used | ||||
15 | WH | 1-CAR | High Speed GMLAN Serial Data (+) | ||||
16-17 | -- | -- | Not Used | ||||
18 | WH | 7-CAR | Ignition 1 Voltage | ||||
19-23 | -- | -- | Not Used | ||||
24 | WH | GND-CAR | Ground | ||||
25-38 | -- | -- | Not Used | ||||
39 | WH | 2-CAR | High Speed GMLAN Serial Data (-) | ||||
40-41 | -- | -- | Not Used | ||||
42 | WH | 8-CAR | Ignition 0 Voltage | ||||
43-47 | -- | -- | Not Used | ||||
48 | WH | 3-CAR | Battery Positive Voltage | ||||
| |||||||
|---|---|---|---|---|---|---|---|
Connector Part Information |
| ||||||
Pin | Wire Color | Circuit No. | Function | ||||
L-H | -- | -- | Not Used | ||||
| |||||||
|---|---|---|---|---|---|---|---|
Connector Part Information |
| ||||||
Pin | Wire Color | Circuit No. | Function | ||||
1 | BN | 25 | Charge Indicator Control | ||||
2 | GY | 23 | Generator Field Duty Cycle Signal | ||||
| |||||||
|---|---|---|---|---|---|---|---|
Connector Part Information |
| ||||||
Pin | Wire Color | Circuit No. | Function | ||||
A | D-BU | 5668 | Engine On Signal (JC4) | ||||
-- | -- | Not Used | |||||
B | BN | 25 | Charge Indicator Control | ||||
C | GY | 23 | Generator Field Duty Cycle Signal | ||||
D | -- | -- | Not Used | ||||
| |||||||
|---|---|---|---|---|---|---|---|
Connector Part Information |
| ||||||
Pin | Wire Color | Circuit No. | Function | ||||
A | -- | -- | Unavailable | ||||
B | BN | 2524 | Generator 2 Turn On Signal | ||||
C-D | -- | -- | Unavailable | ||||
| |||||||
|---|---|---|---|---|---|---|---|
Connector Part Information |
| ||||||
Pin | Wire Color | Circuit No. | Function | ||||
A | -- | -- | Unavailable | ||||
B | BN | 25 | Charge Indicator Control | ||||
C | GY | 23 | Generator Field Duty Cycle Signal | ||||
D | -- | -- | Unavailable | ||||
| |||||||
|---|---|---|---|---|---|---|---|
Connector Part Information |
| ||||||
Pin | Wire Color | Circuit No. | Function | ||||
A | RD/WH | 4740 | Battery Positive Voltage | ||||
B | GY | 23 | Generator Field Duty Cycle Controll | ||||
C | RD/WH | 4740 | Battery Positive Voltage | ||||
D | BN | 25 | Charge Indicator Control | ||||
E | -- | -- | Not Used | ||||
F | BK/WH | 451 | Ground | ||||
G | D-BU | 5668 | Engine On Signal (JC4) | ||||
H | BK/WH | 451 | Ground | ||||
J | PU | 5428 | Generator Regulator Control (Earliy Build) | ||||
K | OG/BK | 6752 | Class 2 Serial Data | ||||
| |||||||
|---|---|---|---|---|---|---|---|
Connector Part Information |
| ||||||
Pin | Wire Color | Circuit No. | Function | ||||
1 | OG | 1940 | Battery Positive Voltage | ||||
2 | PK | 1020 | Ignition 0 Voltage | ||||
3-7 | -- | -- | Not Used | ||||
8 | PK/BK | 109 | Hood Ajar Switch Signal | ||||
9 | PU | 5681 | APO Switch Signal | ||||
10-11 | -- | -- | Not Used | ||||
12 | PK | 1939 | Ignition 1 Voltage | ||||
13-27 | -- | -- | Not Used | ||||
28 | PU/WH | 5687 | Class 2 Serial Data | ||||
29 | BK/WH | 451 | Ground | ||||
30-33 | -- | -- | Not Used | ||||
34 | OG/BK | 1057 | Low Reference | ||||
35-39 | -- | -- | Not Used | ||||
40 | TN/WH | 2500 | High Speed GMLAN Serial Data (+) | ||||
41 | TN | 2501 | High Speed GMLAN Serial Data (-) | ||||
42 | -- | -- | Not Used | ||||
43 | BK/WH | 451 | Ground | ||||
44 | -- | -- | Not Used | ||||
45 | YE | 5680 | APO Switch Indicator Control | ||||
46-47 | -- | -- | Not Used | ||||
48 | PK/WH | 5537 | Transmission Pump Relay Control | ||||
49 | PU/WH | 5539 | Power Maintain Relay Coil Control | ||||
50 | -- | -- | Not Used | ||||
51 | WH | 5542 | Auxiliary Heater Pump Relay Control | ||||
52 | BN/WH | 5682 | Low Reference | ||||
53 | -- | -- | Not Used | ||||
54 | TN/WH | 2500 | High Speed GMLAN Serial Data (+) | ||||
55 | TN | 2501 | High Speed GMLAN Serial Data (-) | ||||
56 | -- | -- | Not Used | ||||
| |||||||
|---|---|---|---|---|---|---|---|
Connector Part Information |
| ||||||
Pin | Wire Color | Circuit No. | Function | ||||
A | -- | -- | Not Used | ||||
B | -- | -- | Not Used | ||||
| |||||||
|---|---|---|---|---|---|---|---|
Connector Part Information |
| ||||||
Pin | Wire Color | Circuit No. | Function | ||||
A | BK | 50 | Ground | ||||
B | RD | 102 | Battery Positive Voltage | ||||
| |||||||
|---|---|---|---|---|---|---|---|
Connector Part Information |
| ||||||
Pin | Wire Color | Circuit No. | Function | ||||
A | RD | 5084 | High Voltage Battery (+) | ||||
B | BK | 5691 | High Voltage Battery (-) | ||||
| |||||||
|---|---|---|---|---|---|---|---|
Connector Part Information |
| ||||||
Pin | Wire Color | Circuit No. | Function | ||||
1 | TN/WH | 2500 | High Speed GMLAN Serial Data (+) | ||||
2 | TN/WH | 2500 | High Speed GMLAN Serial Data (+) | ||||
3-6 | -- | -- | Not Used | ||||
7 | YE/BK | 625 | Starter Enable Relay Control | ||||
8 | PK | 1020 | Ignition 0 Voltage | ||||
9 | L-BU/BK | 647 | Medium Resolution Engine Speed Signal | ||||
10-11 | -- | -- | Not Used | ||||
12 | WH | 2368 | Cooling Fan Clutch Supply Voltage | ||||
13 | TN | 2501 | High Speed GMLAN Serial Data (-) | ||||
14 | TN | 2501 | High Speed GMLAN Serial Data (-) | ||||
15-20 | -- | -- | Not Used | ||||
21 | WH | 121 | Engine Speed Signal | ||||
22-23 | -- | -- | Not Used | ||||
24 | PK | 2014 | Coolant Pump Relay Control | ||||
| |||||||
|---|---|---|---|---|---|---|---|
Connector Part Information |
| ||||||
Pin | Wire Color | Circuit No. | Function | ||||
A | -- | -- | Not Used | ||||
B | WH | 5685 | APO Neutral | ||||
C | OG | 5595 | High Voltage Interlock Loop Signal - 2 | ||||
D | BK | 50 | Ground | ||||
E | PU | 5087 | High Voltage Interlock Loop Signal - 1 | ||||
F | D-GN | 5686 | Ground | ||||
G | BK | 5683 | APO Phase A | ||||
| |||||||
|---|---|---|---|---|---|---|---|
Connector Part Information |
| ||||||
Pin | Wire Color | Circuit No. | Function | ||||
1 | WH | 1-NTC-1 | Temperature Sensor Signal - 1 | ||||
2 | WH | 2-NTC-1 | Low Reference | ||||
| |||||||
|---|---|---|---|---|---|---|---|
Connector Part Information |
| ||||||
Pin | Wire Color | Circuit No. | Function | ||||
1 | WH | 1-NTC-2 | Temperature Sensor Signal - 2 | ||||
2 | WH | 2-NTC-2 | Low Reference | ||||
| |||||||
|---|---|---|---|---|---|---|---|
Connector Part Information |
| ||||||
Pin | Wire Color | Circuit No. | Function | ||||
1 | WH | 1-NTC-3 | Temperature Sensor Signal - 3 | ||||
2 | WH | 2-NTC-3 | Low Reference | ||||
| |||||||
|---|---|---|---|---|---|---|---|
Connector Part Information |
| ||||||
Pin | Wire Color | Circuit No. | Function | ||||
A | WH | 1-R1 | Voltage Sensor Signal - 1 | ||||
| |||||||
|---|---|---|---|---|---|---|---|
Connector Part Information |
| ||||||
Pin | Wire Color | Circuit No. | Function | ||||
A | WH | 1-R2 | Voltage Sensor Signal - 2 | ||||
| |||||||
|---|---|---|---|---|---|---|---|
Connector Part Information |
| ||||||
Pin | Wire Color | Circuit No. | Function | ||||
A | WH | 1-R3 | Voltage Sensor Signal - 3 | ||||
| |||||||
|---|---|---|---|---|---|---|---|
Connector Part Information |
| ||||||
Pin | Wire Color | Circuit No. | Function | ||||
A | WH | 1-R4 | Voltage Sensor Signal - 4 | ||||
| Table 1: | 24V Generator Relay |
| Table 2: | Generator Connector |
| Table 3: | Vehicle Load Disconnect Switch |
| Table 4: | Winch Prep Connector - Front |
| Table 5: | Winch Prep Connector - Rear |
| |||||||
|---|---|---|---|---|---|---|---|
Connector Part Information |
| ||||||
Pin | Wire Color | Circuit No. | Function | ||||
30 | BN | 8008 | Operator Field Duty Cycle Signal | ||||
85 | PK | 8002 | UBEC Cavity A3 | ||||
86 | BK | 150 | Ground | ||||
87 | RD/BK | 8009 | 24V Battery Supply Voltage | ||||
| |||||||
|---|---|---|---|---|---|---|---|
Connector Part Information |
| ||||||
Pin | Wire Color | Circuit No. | Function | ||||
A | -- | -- | Not Used | ||||
B | YE | 8014 | Generator Field Duty Cycle Signal | ||||
C-D | -- | -- | Not Used | ||||
| |||||||
|---|---|---|---|---|---|---|---|
Connector Part Information |
| ||||||
Pin | Wire Color | Circuit No. | Function | ||||
1 | RD | 900 | 12V Supply to Underhood BUS Electrical Center | ||||
2 | RD | 19 | 12V Power Supply | ||||
3 | RD/BK | 8009 | 24V Supply to Generator | ||||
4 | RD | 900 | 24V Power Supply | ||||
| |||||||
|---|---|---|---|---|---|---|---|
Connector Part Information |
| ||||||
Pin | Wire Color | Circuit No. | Function | ||||
A | RD | 32 | Supply Voltage | ||||
B | BK | 13 | Ground | ||||
| |||||||
|---|---|---|---|---|---|---|---|
Connector Part Information |
| ||||||
Pin | Wire Color | Circuit No. | Function | ||||
A | RD | 32 | Supply Voltage | ||||
B | BK | 13 | Ground | ||||