GM Service Manual Online
For 1990-2009 cars only

SEAT BACK CONTACT WITH REAR OF CAB

SUBJECT: SEAT BACK CONTACT WITH REAR OF CAB (INSTALL SEAT ADJUSTER STOP KIT)

MODELS: 1995 TOPKICK/KODIAK WITH HIGH BACK SUSPENSION DRIVER OR PASSENGER SEATS (RPO'S AQR AND AQT OR SEO ASA) VEHICLES BUILT PRIOR TO THE FOLLOWING VIN BREAKPOINTS:

PLANT DIVISION MODEL VIN JANESVILLE GMC 6H MODEL SJ514373 JANESVILLE GMC 7H MODEL SJ514355 JANESVILLE CHEVROLET 6H MODEL SJ108918 JANESVILLE CHEVROLET 7H MODEL SJ108913

CONDITION:

SOME VEHICLES MAY EXPERIENCE A CONTACT CONDITION OF THE DRIVER OR PASSENGER SEAT(S) WITH THE REAR OF THE CAB.

CAUSE:

THE COMBINATION OF THE HIGH BACK OF THE SEAT ASSEMBLY AND ITS RECLINE ANGLE ALLOWS POSSIBLE FIRM CONTACT WITH THE REAR OF THE CAB WHEN THE SEAT IS IN THE MOST REARWARD AND FULLY RECLINED POSITION.

CORRECTION:

TO REDUCE THE POSSIBILITY OF CONTACT, IT IS NECESSARY TO INSTALL A SEAT ADJUSTER STOP KIT. THE KIT CONSISTS OF TWO STRAPS, TWO BOLTS AND TWO NUTS.

SERVICE PROCEDURE

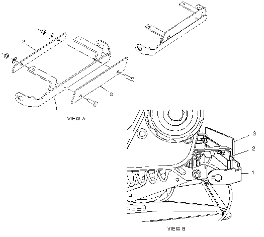
REFER TO FIGURE 1, VIEWS A AND B. 1. MOVE THE SEAT TO ITS MOST FORWARD, HIGHEST AND LEAST RECLINED POSITION. 2. POSITION THE NARROW STRAP (ITEM 2) UNDERNEATH THE SEAT BELT BAR "L" BRACKETS (ITEM 1) ON THE INSIDE OF THE SEAT BELT BAR. THE STRAP BOLT HOLES MUST BE POSITIONED TOWARD THE TOP OF THE STRAP. 3. POSITION THE WIDE STRAP (ITEM 3) SO IT RESTS ON THE TOP EDGE OF THE SEAT BELT BAR. THE BOLT HOLES MUST BE POSITIONED TOWARD THE BOTTOM OF THE STRAP. 4. INSTALL TWO BOLTS AND NUTS. TORQUE THE NUTS TO 24 N.M (18 LB FT).

NOTICE: AFTER REPAIR IS PERFORMED, THE SEAT BACK MAY LIGHTLY CONTACT THE REAR OF THE CAB DUE TO SEAT DEFLECTION AND LEG ROOM MAY BE REDUCED.

PARTS INFORMATION

NATIONAL KIT P/N DESCRIPTION QTY

428815-01 SEAT ADJUSTER STOP KIT 1

TO OBTAIN REPAIR KITS, CONTACT NATIONAL SEATING COMPANY, WARRANTY DEPARTMENT AT 1-800-222-7328, EXTENSION 149 BETWEEN THE HOURS OF 8:00 A.M. AND 4:30 P.M. EASTERN STANDARD TIME MONDAY THROUGH FRIDAY. KITS WILL BE PROVIDED AT NO COST.

WHEN CALLING NATIONAL, PROVIDE LAST 8 DIGITS OF VIN.

WARRANTY INFORMATION

DEALERS SHOULD SUBMIT A WARRANTY CLAIM ON EACH VEHICLE COMPLETED PER NORMAL CLAIM PROCESSING. AS THE SEAT ADJUSTER STOP KIT IS SUPPLIED AT NO COST, NO PART NUMBER FOR THE KIT IS TO BE CLAIMED. A 40 PERCENT PARTS HANDLING ALLOWANCE OF $3.62 MAY BE SUBMITTED AS A NET ITEM.

FOR VEHICLES REPAIRED UNDER WARRANTY, USE:

LABOR OP DESCRIPTION LABOR TIME C6010 INSTALL SEAT ADJUSTER STOP KIT-PASSENGER 0.2 HR. C6011 INSTALL SEAT ADJUSTER STOP KIT-DRIVER 0.2 HR.

FIGURES: 1

CAPTIONS: FIGURE 1 - SEAT ADJUSTER STOP KIT 1) L BRACKET 2) NARROW STRAP 3) WIDE STRAP


Object Number: 83701  Size: FS

GENERAL MOTORS BULLETINS ARE INTENDED FOR USE BY PROFESSIONAL TECHNICIANS, NOT A "DO-IT-YOURSELFER". THEY ARE WRITTEN TO INFORM THOSE TECHNICIANS OF CONDITIONS THAT MAY OCCUR ON SOME VEHICLES, OR TO PROVIDE INFORMATION THAT COULD ASSIST IN THE PROPER SERVICE OF A VEHICLE. PROPERLY TRAINED TECHNICIANS HAVE THE EQUIPMENT, TOOLS, SAFETY INSTRUCTIONS AND KNOW-HOW TO DO A JOB PROPERLY AND SAFELY. IF A CONDITION IS DESCRIBED, DO NOT ASSUME THAT THE BULLETIN APPLIES TO YOUR VEHICLE, OR THAT YOUR VEHICLE WILL HAVE THAT CONDITION. SEE A GENERAL MOTORS DEALER SERVICING YOUR BRAND OF GENERAL MOTORS VEHICLE FOR INFORMATION ON WHETHER YOUR VEHICLE MAY BENEFIT FROM THE INFORMATION.

COPYRIGHT 1995 GENERAL MOTORS CORPORATION. ALL RIGHTS RESERVED.