GM Service Manual Online
For 1990-2009 cars only

The cooling system uses a wax pellet-type thermostat. The thermostat performs the following functions:

    • Controls the flow of coolant
    • Provides fast engine warm-up
    • Regulates the coolant temperature

Object Number: 13706  Size: SH

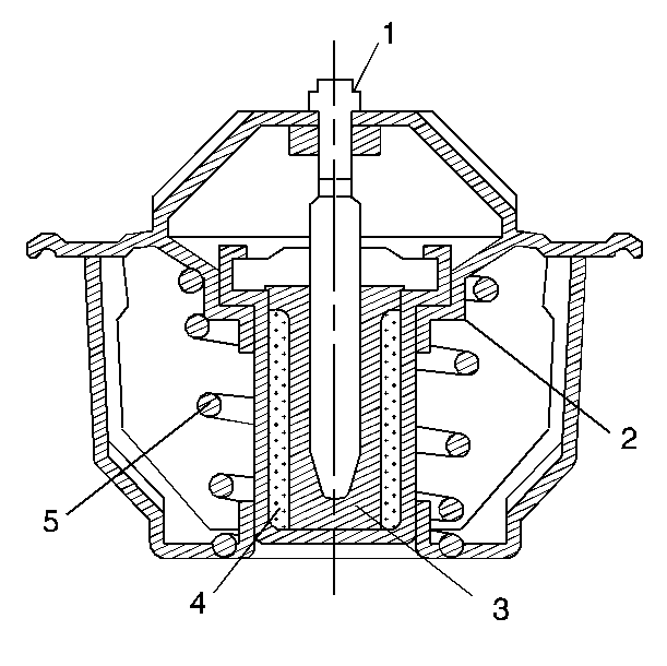
A wax pellet element (4) in the thermostat expands when heated, and contracts when cooled. The pellet element connects through a piston (1) to a valve (2). When the pellet element is heated, pressure is exerted against a rubber diaphragm (3) which forces the valve to open. As the element is cooled, the contraction allows a spring (5) to close the valve. While the coolant is cold, the valve remains closed. This prevents circulation of coolant through the radiator. At this point, coolant is only allowed to circulate throughout the engine in order to quickly warm the engine.

As the engine warms, the pellet element expands and the thermostat valve opens. This permits coolant to flow through the radiator, where the heat dissipates through the radiator tube walls. This opening and closing of the thermostat regulates the coolant flow through the engine block and radiator in order to keep the engine within the correct temperature range.