GM Service Manual Online
For 1990-2009 cars only
Makes
🢒
Chevrolet
🢒
1998
🢒
Chevy P12 Chassis
🢒
Engine
🢒
Engine Electrical
🢒 Engine Electrical Component Views
Figure
1:
Battery Cable Routing
(1)
To G109
(2)
Starter Solenoid Nut
(3)
Starter Motor
(4)
Battery
(5)
Negative Battery Terminal
(6)
Positive Battery Terminal
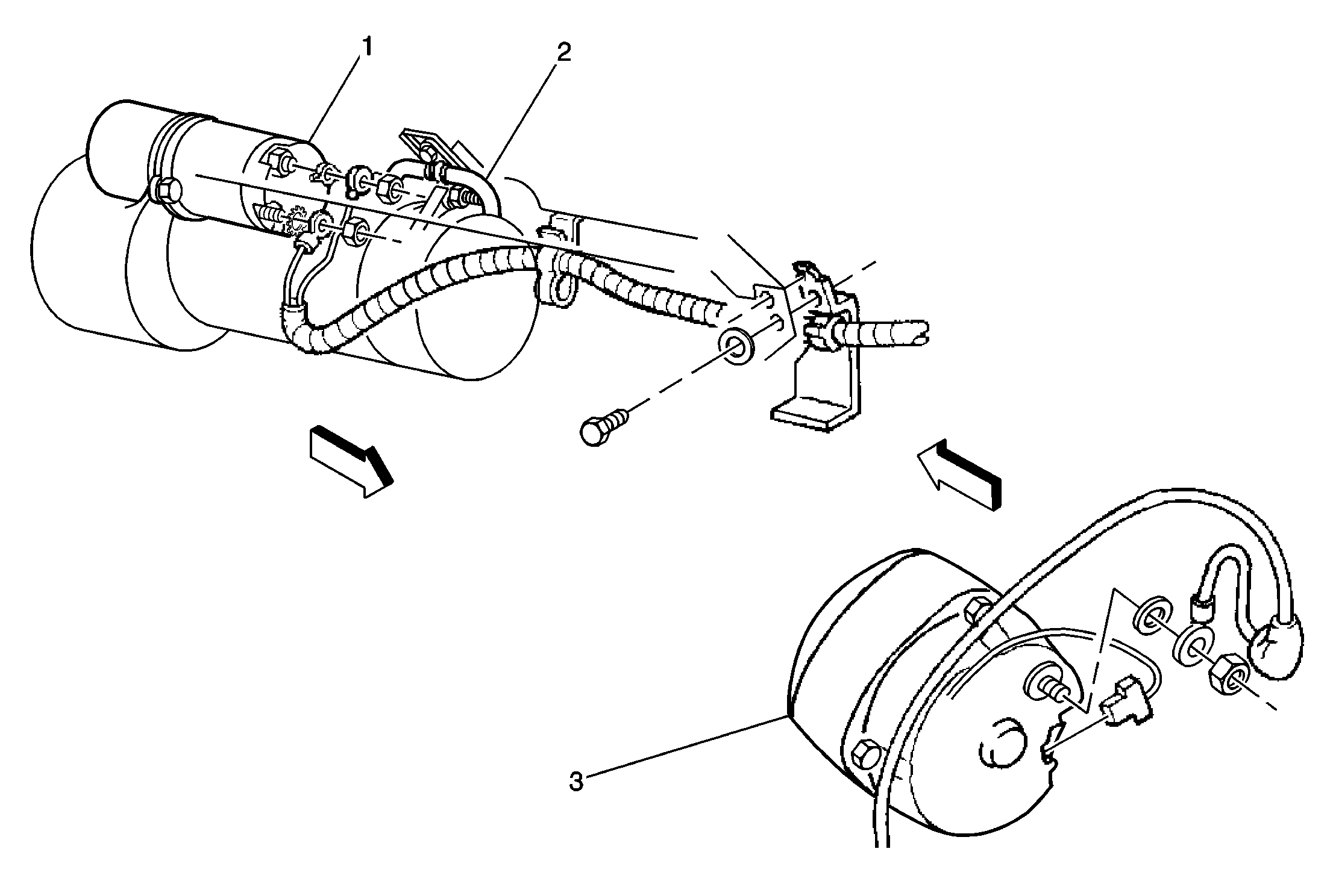
Figure
2:
Starter, Generator
(1)
Starter Motor
(2)
Positive Battery Cable
(3)
Generator