GM Service Manual Online
For 1990-2009 cars only

Removal Procedure

    Caution: Unless directed otherwise, the ignition and start switch must be in the OFF or LOCK position, and all electrical loads must be OFF before servicing any electrical component. Disconnect the negative battery cable to prevent an electrical spark should a tool or equipment come in contact with an exposed electrical terminal. Failure to follow these precautions may result in personal injury and/or damage to the vehicle or its components.

  1. Disconnect the negative battery cable.
  2. Caution: To avoid any vehicle damage, serious personal injury or death when major components are removed from the vehicle and the vehicle is supported by a hoist, support the vehicle with jack stands at the opposite end from which the components are being removed and strap the vehicle to the hoist.

  3. Raise and suitably support the vehicle.
  4. Drain the cooling system. Refer to Cooling System Draining and Filling in Engine Cooling.
  5. Important: The knock sensor is located in the engine block. The knock sensors are installed in a hole that is exposed to engine coolant. Care should be exercised when servicing these sensors.

  6. Remove bank 1 knock sensor shield.
  7. Remove the wiring harness connector from bank 1 knock sensor.

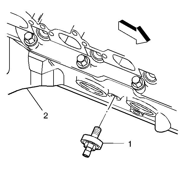
  8. Object Number: 213399  Size: SH
  9. Remove bank 1 knock sensor (2) from the engine block (1).

Installation Procedure


    Object Number: 213399  Size: SH

    Notice: Replacement components must be the correct part number for the application. Components requiring the use of the thread locking compound, lubricants, corrosion inhibitors, or sealants are identified in the service procedure. Some replacement components may come with these coatings already applied. Do not use these coatings on components unless specified. These coatings can affect the final torque, which may affect the operation of the component. Use the correct torque specification when installing components in order to avoid damage.

  1. Install and tighten the bank 1 knock sensor (2) into the engine block (1).
  2. Tighten
    Tighten the knock sensor to 19 N·m (14 lb ft).

  3. Install the wiring harness connector to the bank 1 knock sensor.
  4. Install and the tighten bank 1 knock sensor shield to the engine block.
  5. Tighten
    Tighten the shield to 40 N·m (29 lb ft).

  6. Refill the cooling system. Refer to Cooling System Draining and Filling in Engine Cooling.
  7. Lower the vehicle.
  8. Connect the negative battery cable.

Removal Procedure Bank 2

    Caution: Unless directed otherwise, the ignition and start switch must be in the OFF or LOCK position, and all electrical loads must be OFF before servicing any electrical component. Disconnect the negative battery cable to prevent an electrical spark should a tool or equipment come in contact with an exposed electrical terminal. Failure to follow these precautions may result in personal injury and/or damage to the vehicle or its components.

  1. Disconnect the negative battery cable.
  2. Caution: To avoid any vehicle damage, serious personal injury or death when major components are removed from the vehicle and the vehicle is supported by a hoist, support the vehicle with jack stands at the opposite end from which the components are being removed and strap the vehicle to the hoist.

  3. Raise and suitably support the vehicle.
  4. Drain the cooling system. Refer to Cooling System Draining and Filling in Engine Cooling.
  5. Important: The knock sensor is located in the engine block. The knock sensors are installed in a hole that is exposed to engine coolant. Care should be exercised when servicing these sensors.

  6. Remove bank 2 knock sensor shield.
  7. Remove the wiring harness connector from bank 2 knock sensor.

  8. Object Number: 213404  Size: SH
  9. Remove bank 2 knock sensor (1) from the engine block (2).

Installation Procedure Bank 2


    Object Number: 213404  Size: SH

    Notice: Replacement components must be the correct part number for the application. Components requiring the use of the thread locking compound, lubricants, corrosion inhibitors, or sealants are identified in the service procedure. Some replacement components may come with these coatings already applied. Do not use these coatings on components unless specified. These coatings can affect the final torque, which may affect the operation of the component. Use the correct torque specification when installing components in order to avoid damage.

  1. Install the bank 2 knock sensor (1) into the engine block (2).
  2. Tighten
    Tighten the knock sensor to 19 N·m (14 lb ft).

  3. Install the wiring harness connector to the bank 2 knock sensor.
  4. Notice: Use the correct fastener in the correct location. Replacement fasteners must be the correct part number for that application. Fasteners requiring replacement or fasteners requiring the use of thread locking compound or sealant are identified in the service procedure. Do not use paints, lubricants, or corrosion inhibitors on fasteners or fastener joint surfaces unless specified. These coatings affect fastener torque and joint clamping force and may damage the fastener. Use the correct tightening sequence and specifications when installing fasteners in order to avoid damage to parts and systems.

  5. Install the bank 2 knock sensor shield to the engine block.
  6. Tighten
    Tighten the shield to 40 N·m (29 lb ft).

  7. Refill the cooling system. Refer to Cooling System Draining and Filling in Engine Cooling.
  8. Lower the vehicle.
  9. Connect the negative battery cable.