GM Service Manual Online
For 1990-2009 cars only
Table 1: Cruise Control Disengage Definitions
Table 2: Cruise Control System Check

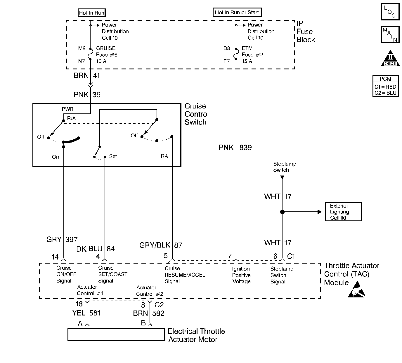
Object Number: 327766  Size: LF
Engine Controls Components
Cell 20: Throttle Actuator Control (TAC) Module
OBD II Symbol Description Notice
Handling ESD Sensitive Parts Notice

Circuit Description

The Cruise Control system is a speed control system that maintains a desired vehicle speed under normal driving conditions. The cruise control system has the capability of the following:

    • Cruise
    • Coast
    • Resume speed
    • Accelerate
    • Raise (Tap-up) the vehicle speed by 1.6 km/h (1 mph)
    • Lower (Tap-down) the vehicle speed by 1.6 km/h (1 mph)

The Throttle Actuater Control (TAC) module controls the cruise system. When the cruise control switch is in the ON position and you push the cruise SET/COAST switch, the TAC module maintains the current vehicle speed. If the engine load varies, the TAC module commands the throttle blade to the appropriate position in order to maintain the desired vehicle speed.

The cruise control system consists of the following components:

    • Throttle Actuator Control (TAC) Module
    • Throttle Actuator Control Motor
    • Cruise Control Actuator Lever

Conditions for Enabling the Cruise System

    • The Cruise switch is in the ON position.
    • Ignition voltage is present to the cruise actuator lever.
    • The vehicle speed is greater than 39 km/h (24 mph).
    • The brake pedal is not depressed.
    • The transmission is in a forward gear.
    • The engine is not in Engine Coolant Over Temperature-Fuel Disabled mode.
    • The cruise SET/COAST switch has been pushed and released.

Conditions for Disabling the Cruise System

    • The Cruise switch is turned to the OFF position.
    • Ignition voltage is interrupted to the cruise actuator lever.
    • The vehicle speed is less than 32 km/h (20 mph).
    • The brake pedal is depressed.
    • The engine is in Engine Coolant Over Temperature-Fuel Disabled mode.
    • The transmission is placed into neutral.
    • A problem with brake pedal switches or circuits that the TAC module interprets as the pedal is applied.

Diagnostic Aids

Use the scan tool in order to monitor the Cruise Disengage History. This parameter lists the last 8 cruise disengage events. Refer to Cruise Disengage History table for a description of each condition.

The cruise control system disables for the current ignition cycle if an intermittent condition exists.

Cruise Control Disengage Definitions

Scan Tool Display

Definition

Accel (Acceleration) Rate

The vehicle acceleration is greater than the expected acceleration rate which is calculated by the PCM

Brake Switches

The TAC module detects one of the brake switches active (TCC Brake Switch/Cruise Control Brake Switch or Stop Lamp Switch)

Clutch Switch

The TAC module detects the clutch switch active

Coast Speed Low

The Set/Coast switch is pushed and held until vehicle speed drops below 32 km/h (20 mph)

Vehicle speed below 32 km/h (20 mph) will disable the cruise system.

CC (Cruise Control) Switch Position

The TAC module will not allow cruise with the current position of the cruise switches

Cruise Off

The TAC module does not detect that the cruise enable switch is active

Decel (Deceleration) Rate

The vehicle deceleration is greater than the expected deceleration rate which is calculated by the PCM

High Speed

The PCM detects that the vehicle speed is greater than 265 km/h (165 mph)

Low Speed

The PCM detects that the vehicle speed is less than 39 km/h (24 mph) when cruise enable is attempted

No History

The No History parameter is displayed when a battery disconnect occurs

Over Set Speed

The TAC module detects that the vehicle speed is greater than the cruise memory speed by more than a predetermined amount or, the vehicle speed is greater than a predetermined value during a transient maneuver, such as, Resume, Accel, Tap-up or Tap-downs etc.

Pedal Initialization

The PCM does not detect the brake or clutch switches active during an ignition cycle

PCM Error

An internal PCM fault is detected

PCM Inhibit

The PCM detects one of the following conditions:

    • The transmission is not in gear
    • The Engine Coolant Over Temperature-Fuel Disabled mode is active
    • The TAC module detects a Resume/Accel switch fault
    • The TAC module detects a Set/Coast switch fault
    • The PCM detects a Vehicle Speed sensor fault
    • A brake or clutch switch fault is detected
    • An internal PCM fault is detected

S/C (Set/Coast) On, CC (Cruise Control) Off

The TAC module detects the Cruise Set/Coast signal is ON

When the switch is pushed (Cruise Coast Mode), this parameter will be displayed. If a fault is present with the Cruise Set/Coast signal circuit, this parameter will be displayed.

S/C On-Speed High

This parameter is displayed when the Set/Coast switch is applied (tap down vehicle speed) and the vehicle speed is greater than the cruise memory speed by more than a predetermined value. For example, if the cruise control system is set to maintain a vehicle speed of 48 km/h (30 mph) then the vehicle is accelerated to 80 km/h (50 mph) and you depress the Set/Coast again, the S/C On-Speed High message appears in the Cruise Control Disengage History

TAC Inhibit

The TAC module has detected that an Electronic Throttle Control fault is active

Traction Loss

The TAC module detects the vehicle is in a Traction Control event

Two CC Commands

The TAC module detects the Set/Coast and Resume/Accel switches are active at the same time

Under Set Speed

The TAC module detects that the vehicle speed is less than the cruise memory speed by more than a predetermined amount or, the vehicle speed is less than a predetermined value during a transient maneuver, such as, Resume, Accel, Tap-up or Tap-downs etc.

Cruise Control System Check

Step

Action

Value(s)

Yes

No

1

Did you perform the Powertrain On-Board Diagnostic (OBD) System Check?

--

Go to Step 2

Go to Powertrain On Board Diagnostic (OBD) System Check

2

Are DTCs P0500, P0601, P0606, or any Throttle Actuator Control system faults set?

--

Go to Applicable DTC Table

Go to Step 3

3

Is the cruise control fuse open?

--

Go to Step 9

Go to Step 4

4

  1. Turn ON the ignition leaving the engine OFF.
  2. Connect a scan tool.
  3. Turn ON the cruise switch.
  4. Monitor the CC Brake Switch parameter using the scan tool on the Cruise Control data list.
  5. Apply the brake.

Does the scan tool display CC Brake Switch Applied when the brake pedal was pressed?

--

Go to Step 5

Go to CC Brake switch Diagnosis

5

Monitor the Cruise Switch parameter on the Cruise Control data list using the scan tool.

Does the scan tool display Cruise Switch on?

--

Go to Step 6

Go to Step 14

6

  1. Monitor the Cruise Set/Coast parameter on the Cruise Control data list using the scan tool.
  2. Push the Cruise Set/Coast switch in.

Does the scan tool display Cruise Set/Coast ON when the switch was pushed in?

--

Go to Step 7

Go to Step 18

7

  1. Monitor the Cruise Resume/Accel parameter on the Cruise Control data list using the scan tool.
  2. Push the Cruise Resume/Accel switch in.

Does the scan tool display Cruise Resume/Accel as ON when the switch was pushed in?

--

System OK

Go to Step 21

8

  1. Turn OFF the ignition.
  2. Disconnect the Cruise Control switch electrical connector.
  3. Probe the cruise ON/OFF signal circuit, fuse side of the circuit, using a test lamp J 35616-200 connected to B+.

Does the test lamp illuminate?

--

Go to Step 30

Go to Step 10

9

Probe the cruise ON/OFF signal circuit (TAC side of the circuit) using a test lamp J 35616-200 connected to B+.

Does the test lamp illuminate?

--

Go to Step 11

Go to Step 12

10

Test lamp still connected to the cruise ON/OFF signal circuit (TAC side of the circuit), disconnect the appropriate TAC module connector.

Did the test lamp go OFF when the TAC module was disconnected?

--

Go to Step 28

Go to Step 25

11

  1. Replace the fuse for the cruise control circuit.
  2. Push the Cruise Set/Coast switch ON.

Did the fuse open when the switch was pushed in?

--

Go to Step 13

Go to Step 12

12

Push the Cruise Resume/Accel switch ON.

Did the fuse open when the switch was pushed in?

--

Go to Step 13

Intermittent short to ground. Go to Diagnostic Aids

13

Repair the grounded circuit between the TAC module and the Cruise Control Lever. Refer to Body and Accessories/Wiring Systems.

Is the action complete?

--

System OK

--

14

  1. Turn OFF the ignition.
  2. Disconnect the Cruise Control switch electrical connector.
  3. Turn ON the ignition leaving the engine OFF.
  4. Probe the cruise ON/OFF signal circuit, fuse side of the circuit, using a test lamp J 35616-200 connected to ground.

Does the test lamp illuminate?

--

Go to Step 15

Go to Step 24

15

Using a fused jumper wire connected to B+, probe the cruise ON/OFF signal circuit (TAC module side of the circuit) and monitor the Cruise Switch parameter.

Does the scan tool display Cruise Switch on?

--

Go to Step 27

Go to Step 16

16

  1. Disconnect the appropriate TAC module connector. Refer to Electronic Throttle Actuator Control Module Replacement .
  2. Check continuity of the Cruise ON/OFF signal circuit using a DMM J 39200 .

Is continuity indicated on the DMM?

--

Go to Step 26

Go to Step 17

17

Repair the Cruise ON/OFF signal circuit for an open. Refer to Body and Accessories/Wiring Systems.

Is the action complete?

--

System OK

--

18

  1. Turn OFF the ignition.
  2. Disconnect the Cruise Control switch electrical connector.
  3. Turn ON the ignition leaving the engine OFF.
  4. Probe the Cruise Set/Coast signal circuit (TAC side) using a fused jumper wire connected to B+.
  5. Monitor the Cruise Set/Coast parameter on the scan tool.

Does the scan tool display the Cruise Set/Coast parameter as ON when the voltage was applied?

--

Go to Step 27

Go to Step 19

19

  1. Disconnect the appropriate TAC module connector. Refer to Electronic Throttle Actuator Control Module Replacement .
  2. Check continuity of the Cruise Set/Coast signal circuit using a DMM J 39200 .

Is continuity indicated on the DMM?

--

Go to Step 26

Go to Step 20

20

Repair the Cruise Set/Coast signal circuit for an open. Refer to Body and Accessories/Wiring Systems.

Is the action complete?

--

System OK

--

21

  1. Turn OFF the ignition.
  2. Disconnect the Cruise Control switch electrical connector.
  3. Turn ON the ignition leaving the engine OFF.
  4. Probe the Cruise Resume/Accel signal circuit (TAC side) using a fused jumper wire connected to B+.
  5. Monitor the Cruise Set/Coast parameter on the scan tool.

Does the scan tool display the Cruise Resume/Accel parameter as ON when the voltage was applied?

--

Go to Step 27

Go to Step 22

22

  1. Disconnect the appropriate TAC module connector. Refer to Electronic Throttle Actuator Control Module Replacement .
  2. Check continuity of the Cruise Resume/Accel signal circuit using a DMM J 39200 .

Is continuity indicated on the DMM?

--

Go to Step 26

Go to Step 23

23

Repair the Cruise Resume/Accel signal circuit for an open. Refer to Body and Accessories/Wiring Systems.

Is the action complete?

--

System OK

--

24

Repair the open circuit between the Cruise Control Lever and the fuse block. Refer to Body and Accessories/Wiring Systems.

Is the action complete?

--

System OK

--

25

  1. Repair the grounded circuit between the Cruise Control Lever and the TAC module. Refer to Body and Accessories/Wiring Systems.
  2. Replace the fuse. Refer to Body and Accessories/Wiring Systems.

Is the action complete?

--

System OK

--

26

  1. Inspect the circuit for being grounded.
  2. Repair as necessary if the circuit is grounded. Refer to Body and Accessories/Wiring Systems.

Did you find a problem and correct it?

--

System OK

Go to Step 28

27

Replace the Cruise Control Lever (multi-function lever). Refer to Steering/Steering Wheel and Column.

Is the action complete?

--

System OK

--

28

  1. Inspect the TAC module electrical harness terminals for proper terminal tension. Refer to Body and Accessories/Wiring Systems.
  2. Repair as necessary.

Did you find a problem and correct it?

--

System OK

Go to Step 29

29

Replace the TAC module. Refer to Electronic Throttle Actuator Control Module Replacement .

Is the action complete?

--

System OK

--

30

  1. Repair the grounded circuit between the Cruise Control Lever and the Instrument Panel Electrical Center.
  2. Replace the fuse. Refer to Body and Accessories/Wiring Systems.

Is the action complete?

--

System OK

--