GM Service Manual Online
For 1990-2009 cars only

Removal Procedure


    Object Number: 214727  Size: SH
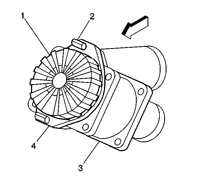
  1. Release the hold down tabs (2, 4).
  2. Remove the air cleaner cover (1).
  3. Remove the filter. Hold the air cleaner housing and remove the filter by pulling and twisting the filter away from the housing (3).
  4. Clean the air cleaner housing (3).

Installation Procedure


    Object Number: 214727  Size: SH
  1. Install the filter.
  2. Install the new filter by pushing it all the way down until it seals against the bottom of the air cleaner housing (3).
  3. Install the air cleaner cover by snapping into place (1, 2, 4).