GM Service Manual Online
For 1990-2009 cars only

Purpose

The exhaust gas tecirculation (EGR) system lowers the oxides of nitrogen (NOx) emission levels created by the high combustion temperatures.

Operation

The EGR valve will open when the conditions of operation have been met. This allows the exhaust gasses to re-enter the combustion chamber. When too much exhaust gas is allowed to enter the chamber, the proper combustion will not occur. For this reason, only very little exhaust gas is allowed to re-enter the combustion chamber.


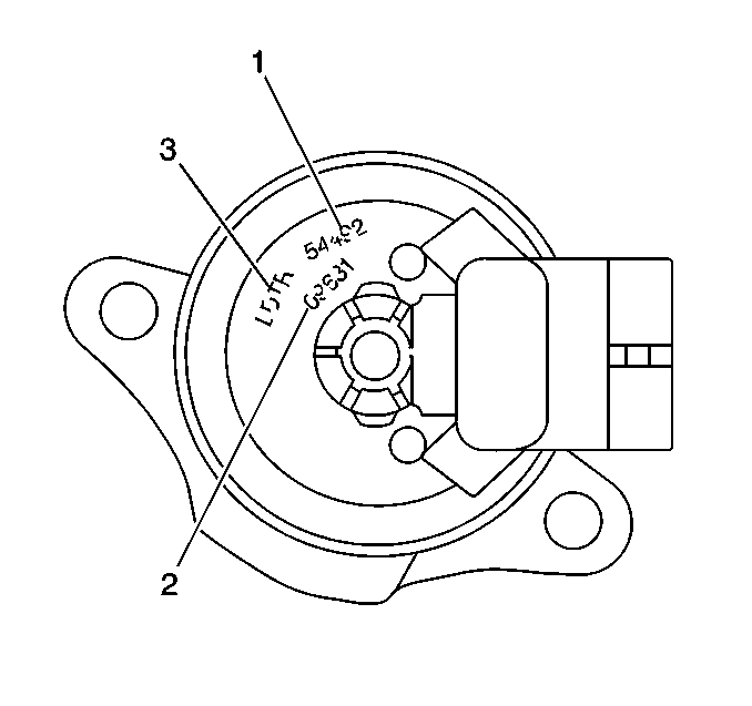
Object Number: 12808  Size: SH
(1)Last 5 Digits of Assembly Part Number
(2)Julian Date (3 Digits) Last Digit of Year Shift Number
(3)Plant Code Letters

The linear exhaust gas recirculation (EGR) valves look like a small motor.


Object Number: 13596  Size: SH

The control module command exclusively operates the linear EGR valve (1). The control module monitors the following various engine parameters:

    • The throttle position (TP) sensor
    • The manifold absolute pressure (MAP)
    • The engine coolant temperature (ECT) sensor
    • The EGR Pintle position sensor

Output messages are then sent to the EGR system indicating the proper amount of exhaust gas (2) recirculation [with intake air (3)] necessary in order to lower the combustion temperatures. This electronic metering of exhaust gas is ten times faster than the vacuum-operated models as well as an improved diagnostic capabilities.

Positioned at the top of the linear EGR assembly are 5 terminals.

    • A is the pulse width modulated negative signal from the control module.
    • B is the sensor ground.
    • C is the sensor output.
    • D is the +5 volts supply.
    • E is the positive from ignition.

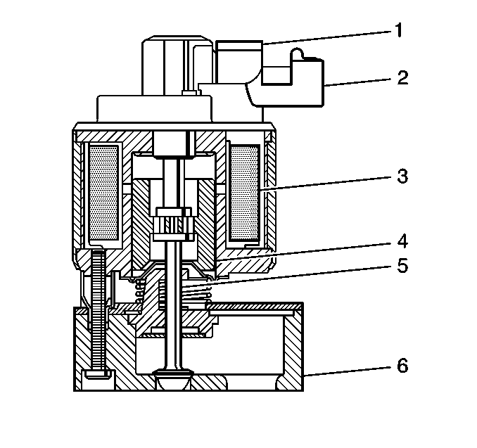
Object Number: 12809  Size: SH

A 12 volt current which enters the valve through an electrical connector (terminal E) energizes the solenoid (bobbin and coil) assembly (3). The 12 volt current then flows through the solenoid assembly to the control module and creates an electromagnetic field. This field causes the armature assembly (4,6) to be pulled upward, lifting the pintle (5) a variable amount off the base.

The exhaust gas then flows from the exhaust manifold through the orifice into the intake manifold. The pintle position sensor (2,1-sensor cap) reads the height of the pintle, and the control module closes the loop on a desired position versus the actual position read. This changes the pulse width modulated command to the solenoid accordingly, until the actual pintle position equals the desired pintle position.

The linear EGR valve is unique in that the control module continuously monitors the pintle position. The control module adjusts the pintle position in order to obtain accurate flow, making linear EGR a Closed Loop system.

When the solenoid is de-energized (the control module breaks the circuit), the pintle seals against the orifice, blocking the exhaust flow to the intake manifold.