GM Service Manual Online
For 1990-2009 cars only

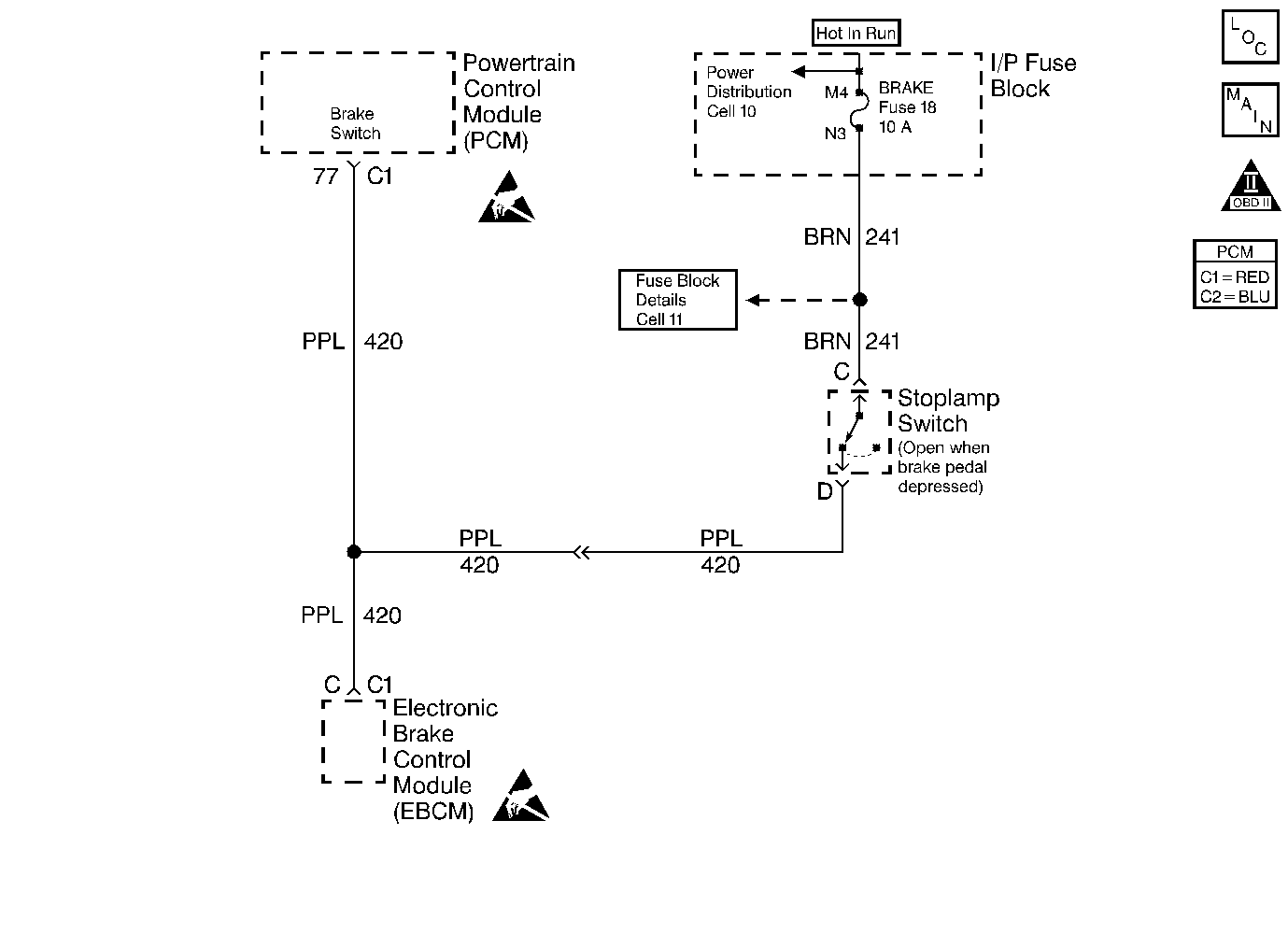
Object Number: 321922  Size: MF
Engine Controls Components
Cell 20: A/C, ABS, and Start Interfaces
OBD II Symbol Description Notice
Handling ESD Sensitive Parts Notice
Handling ESD Sensitive Parts Notice

Circuit Description

The cruise control brake switch is a normally closed switch. When the cruise control brake switch is closed, the powertrain control module (PCM) senses the ignition voltage on the cruise control brake switch signal circuit.

Test Description

The number(s) below refer to the step number(s) on the diagnostic table.

  1. This step determines if the fault is present.

  2. This step checks for a cruise control brake switch circuit for being shorted to B+.

Step

Action

Value(s)

Yes

No

1

Was the On-Board Diagnostic (OBD) System Check performed?

--

Go to Step 2

Go to Powertrain On Board Diagnostic (OBD) System Check

2

  1. Install a scan tool.
  2. Start the engine.
  3. Using the scan tool, monitor the cruise control (CC) brake switch.
  4. Depress the brake pedal approximately one quarter of the way to the floor.

Does the display indicate Applied?

--

Go to Symptoms

Go to Step 3

3

  1. Turn the engine OFF.
  2. Disconnect the cruise control brake switch.
  3. Turn the ignition ON.
  4. Using the scan tool monitor and the cruise control (CC) brake switch.

Does the display indicate Applied?

--

Go to Step 4

Go to Step 6

4

  1. Turn the ignition OFF.
  2. Disconnect the PCM connector located on the opposite side as the manufacturer's logo.
  3. Turn the ignition ON.
  4. Install the brown connector from the J 35616 connector test adapter kit into the cruise control brake switch signal circuit.
  5. Using a J 39200 digital multimeter measure the voltage on the cruise control brake switch signal circuit.

Is the voltage greater than the specified value?

0.5 V

Go to Step 5

Go to Step 7

5

Repair the short to voltage on the cruise control brake switch signal circuit?

Is the action complete?

--

Go to Step 8

--

6

Replace the cruise control brake travel switch.

Is the action complete?

--

Go to Step 8

--

7

Replace the PCM.

The replacement PCM must be programmed.

Is the action complete?

--

Go to Step 8

--

8

Operate the vehicle within the conditions under which he original symptom was noted.

Does the system now operate properly?

--

System OK

Go to Step 2