GM Service Manual Online
For 1990-2009 cars only

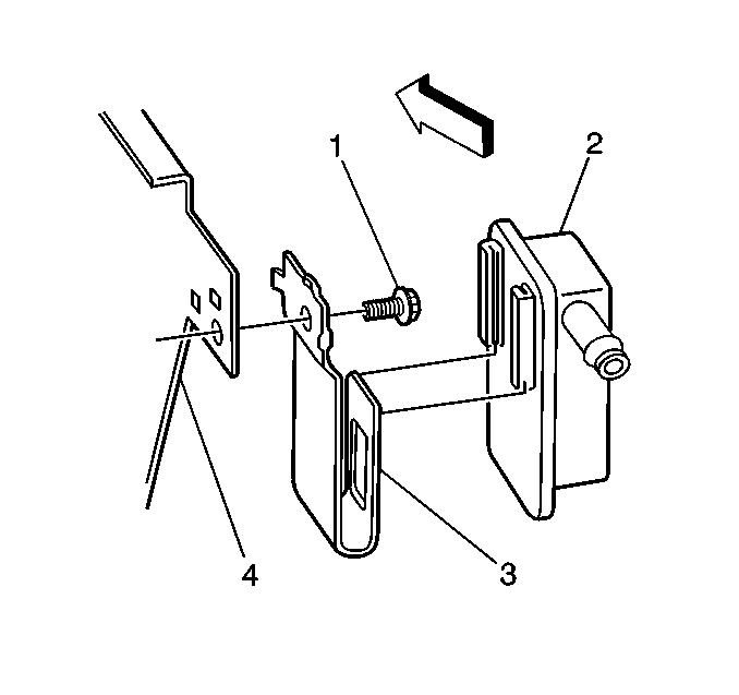
Removal Procedure


    Object Number: 202744  Size: SH
  1. Remove the hose from the vent assembly (2).
  2. Remove the vent assembly (2) from the bracket (3).

Installation Procedure


    Object Number: 202744  Size: SH
  1. Install the vent assembly (2) to the bracket (3).
  2. Notice: Use the correct fastener in the correct location. Replacement fasteners must be the correct part number for that application. Fasteners requiring replacement or fasteners requiring the use of thread locking compound or sealant are identified in the service procedure. Do not use paints, lubricants, or corrosion inhibitors on fasteners or fastener joint surfaces unless specified. These coatings affect fastener torque and joint clamping force and may damage the fastener. Use the correct tightening sequence and specifications when installing fasteners in order to avoid damage to parts and systems.

  3. If replacing the bracket (3), install the bolt (1) and bracket (3) to the frame (4) and tighten the bolt (1).
  4. Tighten
    Tighten the bracket bolt to 8 N·m (6 lb ft).

  5. Install the hose to the vent assembly (2).