GM Service Manual Online
For 1990-2009 cars only

Steering Column Replacement Process

Removal Procedure

Notice: Once the steering column is removed from the vehicle, the column is extremely susceptible to damage. Dropping the column assembly on the end could collapse the steering shaft or loosen the plastic injections, which maintain column rigidity. Leaning on the column assembly could cause the jacket to bend or deform. Any of the above damage could impair the columns collapsible design. Do NOT hammer on the end of the shaft, because hammering could loosen the plastic injections, which maintain column rigidity. If you need to remove the steering wheel, refer to the Steering Wheel Replacement procedure in this section.

Important: The front wheels of the vehicle must be maintained in the straight ahead position and the steering column must be in the LOCK position before disconnecting the steering column or intermediate shaft. Failure to follow these procedures will cause improper alignment of some components during installation.

  1. Remove the steering wheel. Refer to Steering Wheel Replacement .
  2. Remove the ignition lock cylinder. Refer toIgnition and Key Alarm Switch Assembly - Disassemble - Off Vehicle .

  3. Object Number: 247473  Size: SH
  4. Disconnect the transmission control/range selector assembly bracket from the top of the upper steering column support.
  5. Remove the parking brake auto apply switch connector, if damaged or malfunctioning. Refer to Park Brake Pull Switch Replacement in Park Brake.
  6. Remove the parking brake pull button switch connector from its bracket on the upper steering column support. Refer to Park Brake Pull Switch Replacement in Park Brake.
  7. Remove the steering wheel. Refer to Steering Wheel Replacement .

  8. Object Number: 247474  Size: SH
  9. Remove the instrument panel harness connectors and the ground wire, including:
  10. • the fuse block (1)
    • the strap (3) and the tape (2).
    • the instrument panel wiring harness extension connector (4).
    • the steering column harness connector (5).
    • the daytime running lamp connector (6).
    • the calibrator connector (7).
    • the DRL module connector (8) and bag (9).
    • the extension wiring harness connector (10).
    • the ground harness terminal (11).

    Object Number: 247476  Size: SH
  11. Remove the steering column mounting bracket nuts to the upper steering support studs.
  12. Remove the steering column mounting bracket nuts to the floor and dash support panel assembly studs.

  13. Object Number: 247475  Size: SH
  14. Remove the upper steering column support bolts.
  15. Remove the upper steering column support.

  16. Object Number: 247472  Size: SH
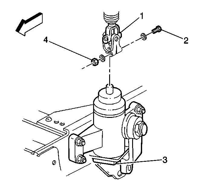
  17. Remove the coupler bolt from the upper shaft assembly to the steering column shaft connection.
  18. Remove the steering column.

Installation Procedure


    Object Number: 247472  Size: SH
  1. Install the steering column while carefully aligning into the lower steering coupler.
  2. Notice: Use the correct fastener in the correct location. Replacement fasteners must be the correct part number for that application. Fasteners requiring replacement or fasteners requiring the use of thread locking compound or sealant are identified in the service procedure. Do not use paints, lubricants, or corrosion inhibitors on fasteners or fastener joint surfaces unless specified. These coatings affect fastener torque and joint clamping force and may damage the fastener. Use the correct tightening sequence and specifications when installing fasteners in order to avoid damage to parts and systems.

    Tighten
    Tighten the coupler bolt of the upper shaft assembly to the steering column shaft connection to 61 N·m (45 lb ft).


    Object Number: 247475  Size: SH
  3. Handstart the following components:
  4. • The upper support bracket side bolts.
    • The upper support bracket rear bolts.

    Object Number: 247476  Size: SH
  5. Handstart the following components:
  6. • The steering column mounting nuts to the upper steering column support studs.
    • The steering column mounting bracket nuts to the floor and dash panel assembly studs.

    Object Number: 247475  Size: SH
  7. Tighten the rear and side steering column upper support bracket bolts.
  8. Tighten
    Tighten the bolts to 50 N·m (37 lb ft).

  9. Tighten the steering column mounting bracket nuts to the upper support studs and the floor and dash panel assembly studs.
  10. Tighten
    Tighten the steering column mounting bracket nuts to 30 N·m (22 lb ft).


    Object Number: 247474  Size: SH
  11. Install the electrical connectors and the ground wire as follows:
  12. • the fuse block (1)
    • the strap (3) and the tape (2) to secure the fuse block
    • the instrument panel wiring harness extension connector (4)
    • the steering column harness connector (5)
    • the DRL connector (6)
    • the calibrator connector (7)
    • the DRL module connector (8) with bag (9) and secure with tape
    • the extension wiring harness connector (10)
    • the ground harness terminal (11)
  13. Loosely attach the ground wire terminal bolt and washer.
  14. Tighten
    Tighten the ground wire terminal bolt and washer to 5 N·m (44 lb in).

  15. Install the pull button switch connector. Refer to Park Brake Pull Switch Replacement in Park Brake.

  16. Object Number: 247473  Size: SH
  17. Install the park brake auto apply switch, if damaged or malfunctioning. Refer to Park Brake Pull Switch Replacement in Park Brake.
  18. Install the transmission control/range selector assembly.
  19. Tighten
    Tighten the transmission control assembly bracket bolts to 5 N·m (44 lb in).

  20. Install the ignition lock cylinder. Refer to Ignition and Key Alarm Switch Assembly - Assemble - Off Vehicle .
  21. Install the parking brake pull button switch. Refer to Park Brake Pull Switch Replacement .
  22. Install the steering wheel. Refer to Steering Wheel Replacement .

Steering Column Replacement Column Coupling Replacement

Removal Procedure

    Important: The following procedure should be not only be used when replacing worn or damaged upper and lower steering gear shaft components, but should also be used as a steering wheel alignment procedure.


    Object Number: 247471  Size: MH
  1. Set the front wheels in the straight-ahead position and the steering wheel in the LOCKED position.
  2. Mark the relationship of the upper steering gear coupling shaft to the steering shaft, the lower steering gear coupling shaft to the upper steering gear coupling shaft , and the cardan joint yoke to the steering gear input shaft to be sure of proper installation.
  3. Remove the coupler bolt from the upper steering gear shaft assembly to the steering column shaft connection.
  4. Remove the upper steering gear shaft boot.
  5. Remove the upper steering gear shaft bracket.
  6. Remove the upper-to-lower steering gear shaft coupler bolt.
  7. Remove the upper steering gear shaft assembly.

  8. Object Number: 227947  Size: SH
  9. Remove the cardan joint nut (1) and the washer.
  10. Remove the cardan joint bolt (2) and the washer.
  11. Gently pry the cardan joint from the steering gear (3) input shaft. A slight tapping of the yoke may be required.

Installation Procedure


    Object Number: 227947  Size: SH

    Notice: Use the correct fastener in the correct location. Replacement fasteners must be the correct part number for that application. Fasteners requiring replacement or fasteners requiring the use of thread locking compound or sealant are identified in the service procedure. Do not use paints, lubricants, or corrosion inhibitors on fasteners or fastener joint surfaces unless specified. These coatings affect fastener torque and joint clamping force and may damage the fastener. Use the correct tightening sequence and specifications when installing fasteners in order to avoid damage to parts and systems.

  1. Make a cardan joint notch correction(s) at this time if the steering column was determined to be misaligned (more than 5 degrees) from the steering wheel centerline.
  2. Otherwise follow the alignment marks on the cardan joint (1) and the steering gear input shaft.
  3. Position the cardan joint on to the steering gear.
  4. Install the cardan joint washer and the bolt (2).
  5. Tighten
    Tighten the cardan nut to 61N·m  (45 lb ft).


    Object Number: 247471  Size: MH
  6. Install the coupler bolt connecting the lower steering gear shaft assembly with the upper steering gear shaft assembly following the alignment marks.
  7. Tighten
    Tighten the bolt to 61 N·m (45 lb ft).

  8. Secure the upper shaft assembly to steering support.
  9. Tighten
    Tighten the bolts to 50 N·m (37 lb ft).

  10. Install the boot.
  11. Tighten
    Tighten the bolts to 9 N·m (80 lb in).

  12. Attach the upper steering shaft assembly bolt to the steering column shaft connection following alignment marks.
  13. Tighten
    Tighten the bolt to 61 N·m (45 lb ft).