GM Service Manual Online
For 1990-2009 cars only

Object Number: 200188  Size: SH

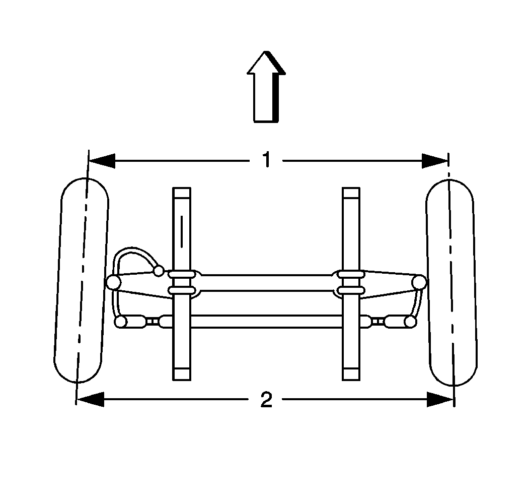
Measure toe-in at the following locations:

    • From the center of the tire treads or from the inboard side of the tires
    • At the front and the rear of the axle
    • At the horizontal axis of the wheel

When setting the toe-in adjustment, neutralize the front suspension. Ensure that all component parts are in the same relative position when making the adjustment as they will be when in operation. In order to neutralize the suspension, roll the vehicle 3.5-4.5 meters (12-15 ft). When the vehicle is rolled forward, all normal tolerances in the suspension and the steering linkage are in the correct operating position. Neutralize the front suspension if the vehicle has been raised.

  1. Loosen the tie rod end clamps.
  2. Turn the tie rod using a pipe wrench until the wheels have the proper toe-in.
  3. Set
    Angular toe-in (set) should be 0.06-0.02 degrees per wheel or 0.03 in-0.01 in linear sum toe-in.

    Notice: Use the correct fastener in the correct location. Replacement fasteners must be the correct part number for that application. Fasteners requiring replacement or fasteners requiring the use of thread locking compound or sealant are identified in the service procedure. Do not use paints, lubricants, or corrosion inhibitors on fasteners or fastener joint surfaces unless specified. These coatings affect fastener torque and joint clamping force and may damage the fastener. Use the correct tightening sequence and specifications when installing fasteners in order to avoid damage to parts and systems.

  4. Tighten the tie rod end clamp nuts.
  5. Tighten
    Tighten the tie rod end clamp nuts to 75 N·m (55 lb ft).