GM Service Manual Online
For 1990-2009 cars only

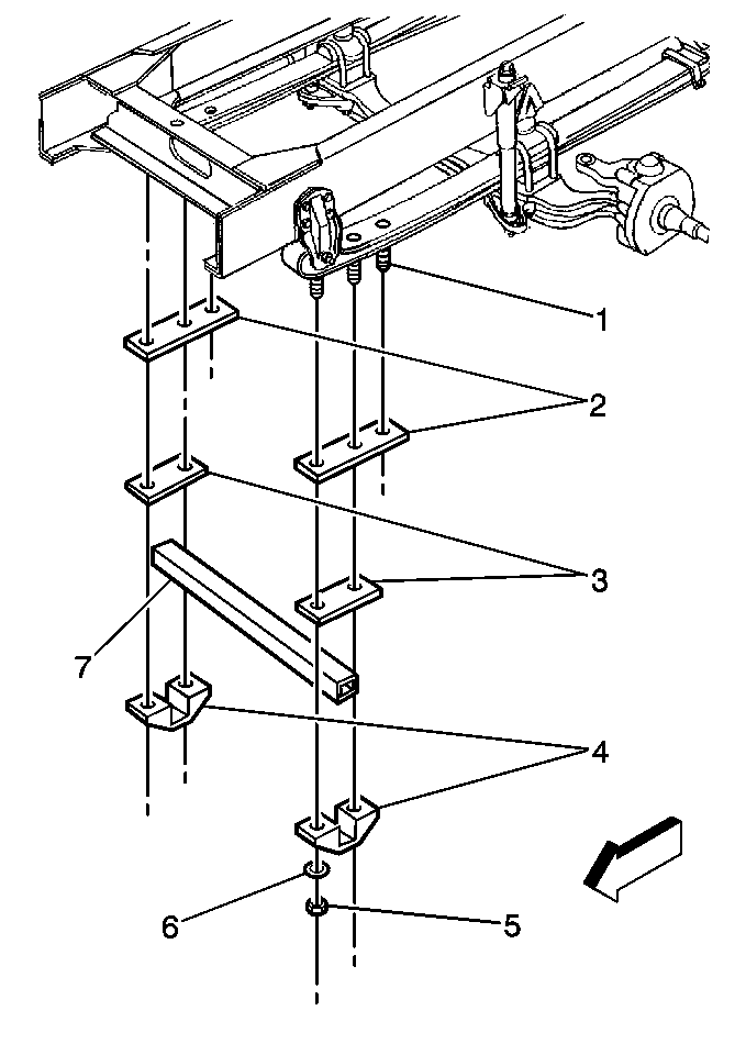
Removal Procedure

Remove the following components from the springs:


    Object Number: 214490  Size: MH
  1. Remove the nuts (5).
  2. Remove the washers (6).
  3. Remove the shaft mounting brackets (4).
  4. Remove the stabilizer shaft (7).
  5. Remove the shims (2,3).

Installation Procedure

Install the following components to the springs:


    Object Number: 214490  Size: MH
  1. Install the shims (2,3).
  2. Install the stabilizer shaft (7).
  3. Install the shaft mounting brackets (4).
  4. Install the washers (6).
  5. Install the nuts (5).
  6. Notice: Use the correct fastener in the correct location. Replacement fasteners must be the correct part number for that application. Fasteners requiring replacement or fasteners requiring the use of thread locking compound or sealant are identified in the service procedure. Do not use paints, lubricants, or corrosion inhibitors on fasteners or fastener joint surfaces unless specified. These coatings affect fastener torque and joint clamping force and may damage the fastener. Use the correct tightening sequence and specifications when installing fasteners in order to avoid damage to parts and systems.

  7. Tighten the stabilizer nuts (5) alternately and evenly until the shaft mounting brackets (4) contact the lower shim (3).
  8. Tighten
    Tighten the stabilizer nuts to 170 N·m (125 lb ft).