GM Service Manual Online
For 1990-2009 cars only

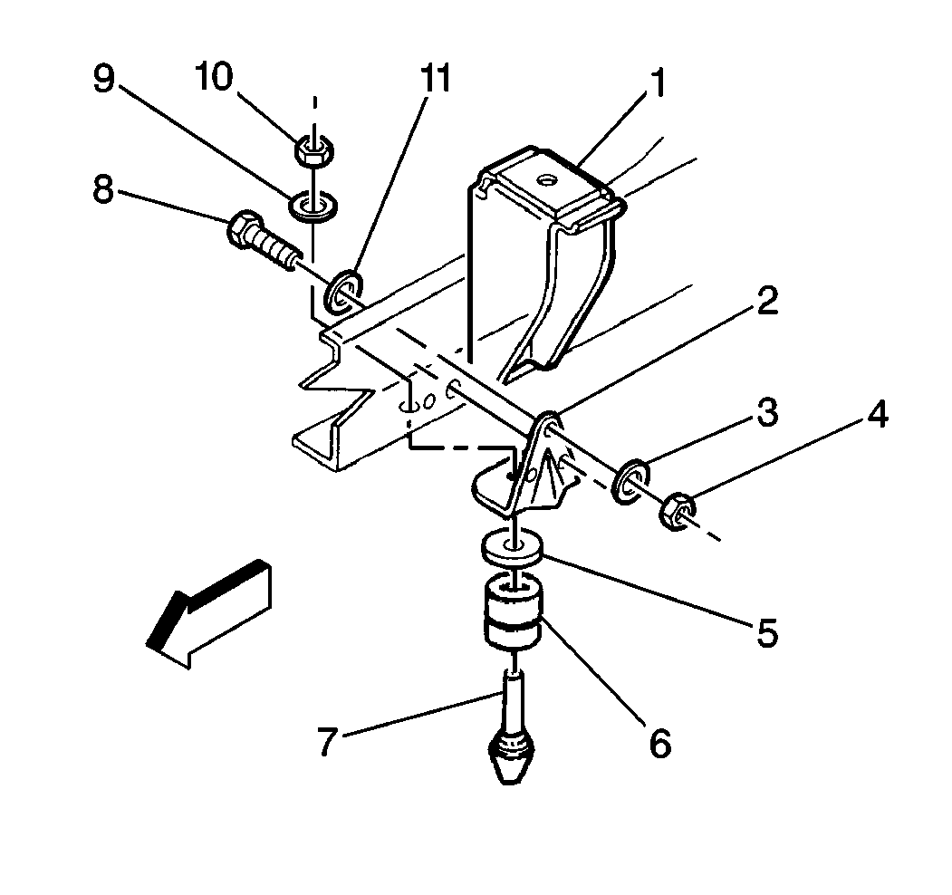
Removal Procedure


    Object Number: 201855  Size: SH
  1. Remove the nut (10) and the washer (9).
  2. Remove the bump stop (7) and the bumper (6).
  3. Remove the spacer (5), if equipped.
  4. Remove the following components:
  5. • The nuts (4)
    • The washers (3, 11)
    • The bolts (8)
  6. Remove the bumper bracket (2) from the frame (1).

Installation Procedure


    Object Number: 201855  Size: SH
  1. Install the bumper bracket (2) to the frame (1).
  2. Install the following components:
  3. • The bolts (8)
    • The washers (3, 11)
    • The nuts (4)
  4. Install the bump stop (7) through the bumper (6).
  5. Install a spacer (5) on the bumper.
  6. Install the bump stop through the bracket (2) and the frame (1).
  7. Notice: Use the correct fastener in the correct location. Replacement fasteners must be the correct part number for that application. Fasteners requiring replacement or fasteners requiring the use of thread locking compound or sealant are identified in the service procedure. Do not use paints, lubricants, or corrosion inhibitors on fasteners or fastener joint surfaces unless specified. These coatings affect fastener torque and joint clamping force and may damage the fastener. Use the correct tightening sequence and specifications when installing fasteners in order to avoid damage to parts and systems.

  8. Install the washer (9) and the nut (10).
  9. Tighten

        • Tighten the spring bumper mounting nut (4) to 68 N·m (50 lb ft).
        • Tighten the bump stop nut (10) to 40 N·m (30 lb ft).