GM Service Manual Online
For 1990-2009 cars only

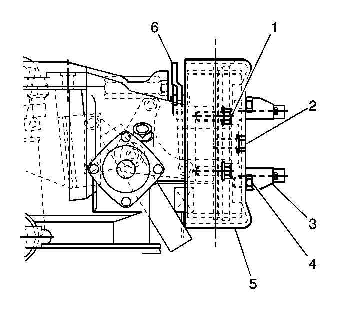
Removal Procedure


    Object Number: 474135  Size: SH
  1. Remove the front propeller shaft from the yoke assembly (3) and remove the drum (5). Refer to Brake Drum Replacement .
  2. Remove the retainer and the pin to remove the adjuster assembly from the parking brake adjustment cam lever (6).
  3. Remove the transmission yoke bolt (2) and washer and remove the yoke.

  4. Object Number: 474165  Size: SH
  5. Remove the bolts of the backing plate assembly.

  6. Object Number: 474864  Size: SH
  7. Remove the backing plate assembly including the brake shoes and the springs.
  8. Remove the cam lever from the backing plate.

  9. Object Number: 176295  Size: SH
  10. Remove the springs (3, 5) and the shoes (2) from the brake assembly.
  11. Inspect the linings for contamination and excessive wear. Refer to Parking Brake Shoe Inspection for minimum lining thickness.
  12. Inspect all other parts for discoloration because of heat or stress. Replace the parts if necessary.
  13. Inspect the brake drum for scoring and heat spots. Refer to Brake Drum Inspection .

Installation Procedure


    Object Number: 176295  Size: SH

    Important: Lubricate the brake support plate on the six surfaces that contact the brakes shoes with a thin coat of GM P/N 1051344 or the equivalent. Do not allow the lubricant to contact the brake linings.

  1. Install the parking brake shoes (2) to the backing plate with the springs.
  2. Install the cam lever to the backing plate.

  3. Object Number: 474135  Size: SH

    Notice: Use the correct fastener in the correct location. Replacement fasteners must be the correct part number for that application. Fasteners requiring replacement or fasteners requiring the use of thread locking compound or sealant are identified in the service procedure. Do not use paints, lubricants, or corrosion inhibitors on fasteners or fastener joint surfaces unless specified. These coatings affect fastener torque and joint clamping force and may damage the fastener. Use the correct tightening sequence and specifications when installing fasteners in order to avoid damage to parts and systems.

  4. Install the backing plate assembly which includes the brake shoes.
  5. Tighten
    Tighten the bolts to 121 N·m (89 lb ft).

  6. Install the transmission yoke (3) with the bolt (2) and the washer.
  7. Tighten
    Tighten the bolt with washer to 152 N·m (112 lb ft).

  8. Install the adjuster assembly to the parking brake adjustment lever (6) with the pin and retainer.
  9. Install the drum (5) tightening the bolts with the ignition in the OFF position, and install the propeller shaft. Refer to Brake Drum Replacement .
  10. Adjust the parking brake. Refer to Parking Brake Shoe Adjustment and Park Brake Cable Service/Adjustment .