GM Service Manual Online
For 1990-2009 cars only
Makes
🢒
Chevrolet
🢒
1998
🢒
Chevy P12 Chassis
🢒
Brakes
🢒
Antilock Brake System
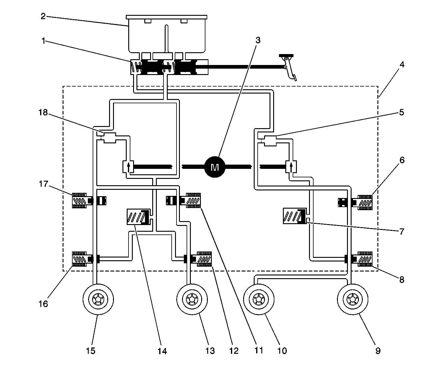
🢒 Brake Pressure Modulator Valve Hydraulic Flow Chart
Figure
1:
BPMV Hydraulic Flow
(1)
Master Cylinder
(2)
Master Cylinder Reservoir
(3)
Pump
(4)
Brake Pressure Modulator Valve (BPMV)
(5)
Damper
(6)
Rear Isolation Valve
(7)
Accumulator
(8)
Rear Dump Valve
(9)
Right Rear Brake
(10)
Left Rear Brake
(11)
Left Front Isolation Valve
(12)
Left Front Dump Valve
(13)
Left Front Brake
(14)
Accumulator
(15)
Right Front Brake
(16)
Right Front Dump Valve
(17)
Right Front Isolation Valve
(18)
Damper
Figure
2:
Isolation Mode
(1)
Master Cylinder Reservoir
(2)
Master Cylinder
(3)
Ambient Pressure
(4)
Master Cylinder Pressure
(5)
Hold Pressure
(6)
Accumulator Pressure
(7)
Combination Valve
(8)
Rear Isolation Valve
(9)
Rear Dump Valve
(10)
Rear Wheels
(11)
Rear Accumulator
(12)
Rear Pump
(13)
To Front Channels
(14)
Brake Pressure Modulator Valve (BPMV)
Figure
3:
Dump Mode
(1)
Master Cylinder Reservoir
(2)
Master Cylinder
(3)
Ambient Pressure
(4)
Master Cylinder Pressure
(5)
Hold Pressure
(6)
Accumulator Pressure
(7)
Combination Valve
(8)
Rear Isolation Valve
(9)
Rear Dump Valve
(10)
Rear Wheels
(11)
Rear Accumulator
(12)
Rear Pump
(13)
To Front Channels
(14)
Brake Pressure Modulator Valve (BPMV)
Figure
4:
Reapply Mode
(1)
Master Cylinder Reservoir
(2)
Master Cylinder
(3)
Ambient Pressure
(4)
Master Cylinder Pressure
(5)
Hold Pressure
(6)
Accumulator Pressure
(7)
Combination Valve
(8)
Rear Isolation Valve
(9)
Rear Dump Valve
(10)
Rear Wheels
(11)
Rear Accumulator
(12)
Rear Pump
(13)
To Front Channels
(14)
Brake Pressure Modulator Valve (BPMV)