GM Service Manual Online
For 1990-2009 cars only

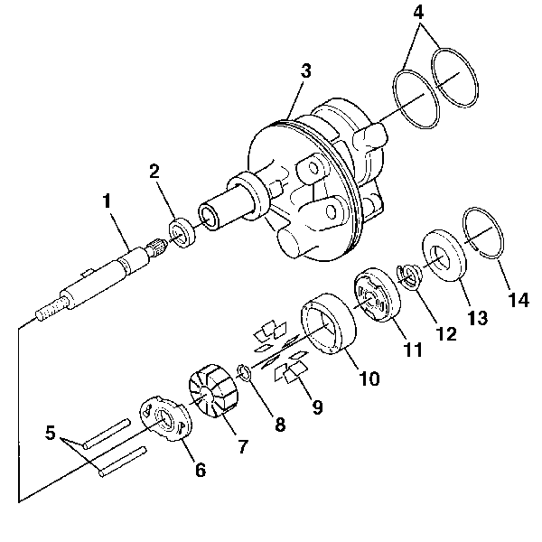
Disassembly Procedure


    Object Number: 298002  Size: SH
  1. To disassemble the pump reservoir, refer to Power Steering Fluid Reservoir Replacement - Off Vehicle .
  2. Remove the end plate retaining ring (14).
  3. Remove the end plate (13).
  4. Remove the pressure plate spring (12).
  5. Using a rubber mallet, tap lightly on the drive shaft (1) in order to remove the pressure plate (11).
  6. Remove the pump ring (10).
  7. Remove the pump vanes (9).
  8. Remove the following items from the pump housing as an assembly:
  9. • The drive shaft (1)
    • The pump rotor (7)
    • The thrust plate (6)
  10. Remove the shaft retaining ring (8).
  11. Remove the pump rotor (7) from the thrust plate (6).
  12. Remove the thrust plate (6).
  13. Remove the drive shaft (1).
  14. Remove the dowel pins (5).
  15. Remove the O-ring seals (4).

Assembly Procedure


    Object Number: 298002  Size: SH

    Important: Use new seals and drive shaft retaining ring when assembling pump.

  1. Lubricate the O-ring seals (4) with power steering fluid.
  2. Install the O-ring seals (4) to the pump housing assembly (3).
  3. Install the dowel pins (5) to the pump housing assembly (3).
  4. Install the thrust plate (6) and the pump rotor (7) on drive shaft.
  5. Install the drive shaft (1).
  6. Secure the drive shaft (1) with the retaining ring (8).
  7. Install the drive shaft (1), pump rotor (7) and thrust plate assembly (6) to the pump housing (3).
  8. Install the pump vanes (9) to the pump rotor (7).

  9. Object Number: 298005  Size: SH
  10. Install the pump ring to pump housing with the identification arrows on the top edge of pump ring facing outward (1).

  11. Object Number: 298002  Size: SH
  12. Install the pressure plate (11).
  13. Install the pressure plate spring (12).
  14. Install the end plate (13).
  15. Install the end plate retaining ring (14).
  16. To assemble the pump reservoir, refer to Power Steering Fluid Reservoir Replacement - Off Vehicle .