GM Service Manual Online
For 1990-2009 cars only
  1. Turn off the engine.
  2. Wipe the power steering system dry.
  3. Check the fluid level in the reservoir. Adjust as necessary.
  4. Notice: Do not hold the steering wheel against the stop. This may damage the pump.

  5. Start the engine. Turn the steering wheel from stop to stop several times.

  6. Object Number: 247466  Size: SH
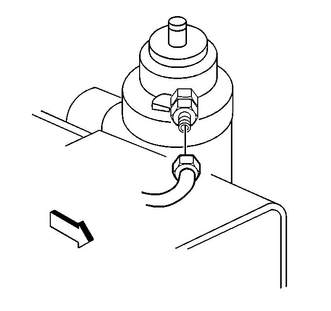
  7. Check for leakage around the hose fitting nut. If the nut threads are damaged replace the nut.
  8. Notice: Use the correct fastener in the correct location. Replacement fasteners must be the correct part number for that application. Fasteners requiring replacement or fasteners requiring the use of thread locking compound or sealant are identified in the service procedure. Do not use paints, lubricants, or corrosion inhibitors on fasteners or fastener joint surfaces unless specified. These coatings affect fastener torque and joint clamping force and may damage the fastener. Use the correct tightening sequence and specifications when installing fasteners in order to avoid damage to parts and systems.

  9. Install the hose fitting nut.
  10. Tighten
    Tighten the fitting nut to 42.5 N·m (31.5 lb ft).


    Object Number: 247453  Size: SH
  11. Tighten or replace the clamp.

  12. Object Number: 247445  Size: SH
  13. Make sure the power steering fluid is at the correct level. Ensure the cap is on tight. Check the cap for leakage.
  14. Replace the cap if there is leakage.
  15. Check the reservoir for cracks and bends.
  16. Replace the reservoir and tighten or replace the clamp if you find cracks or bends.

  17. Object Number: 247468  Size: SH
  18. Check the steering gear adapter fitting (top) for leakage.
  19. Tighten the hose fitting nut.
  20. Tighten
    Tighten the nut to 42.5 N·m (31.5 lb ft).

  21. Unscrew the nut and replace the seal if leakage persists.

  22. Object Number: 247460  Size: SH
  23. Check the hose fitting nut at the steering gear adapter for leakage.
  24. Tighten the hose fitting nut.
  25. Tighten
    Tighten the hose fitting nut to 42.5 N·m (31.5 lb ft).