GM Service Manual Online
For 1990-2009 cars only

Key Identification and Usage

The lock cylinder keyway is designed so that other model keys will not enter a current model lock cylinder. A single key, double cut, is used for the vehicle ignition key.

The key identification is obtained from the four-character key code stamped on the knockout portion of the key head. Knock the plugs out of the key head after code numbers have been recorded. The code list, available to owners of key cutting equipment from equipment suppliers, determines the lock combinations from the code numbers.

If the code numbers are not available from the records or from the knockout plug, lay the key on the key code diagram in order to determine the lock combinations (the tumbler numbers and the position arrangement).

Cutting Keys


Object Number: 65495  Size: SH

After the code has been determined from the code list or the key code diagram, perform the following steps:

  1. Cut a blank key to the proper level (1) of each of the tumbler positions (2).
  2. Inspect the key operation in the lock cylinder.

Replacement Lock Cylinders

New lock cylinders (except ignition lock cylinders) are available from the service parts warehouse with new lock cylinder locking bars. The tumblers are also available and must be assembled into the cylinder as recommended. For additional information, refer to the following.

Lock Cylinder Tumbler Operation

All lock tumblers are shaped alike with the exception of the notched position on one side. As the key is inserted into the lock cylinder, the tumblers are lowered to the correct height so that notches on each tumbler are at the same level. When the notches on all six tumblers line up, two small springs push the side bar into the notches, allowing the cylinder to turn in the cylinder bore. Five types of tumblers are used in making the lock combinations, and each is coded and stamped with a number between 1 and 5.

Assembling and Coding Ignition Lock Cylinders

Tools Required

J 41340 Lock Cylinder Staking and Holding Fixture


    Object Number: 65496  Size: SH
  1. Determine the tumbler numbers/arrangement:
  2. 1.1. Place the tip of the key directly over the tip of the illustrated key.
    1.2. Inspect that the diagram outlines the key.
    1.3. Starting with position 1 (open end of cylinder), find and record the lowest level (tumbler number) that is visible.
    1.4. Repeat the previous step for positions 2-10.

    Object Number: 65498  Size: SH
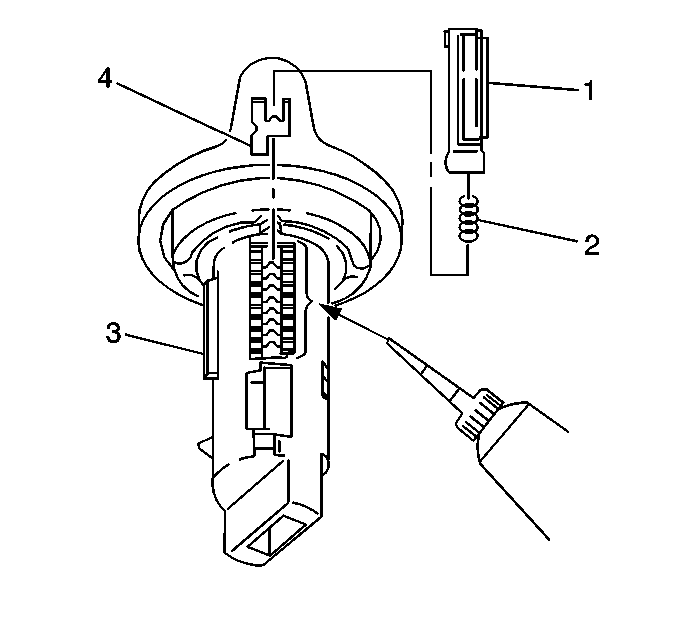
  3. Starting with position 1, insert the tumblers (4) into their corresponding slots in the coded order.
  4. Using your fingers, pull out the side bar (3) until the tumblers fall completely into place.
  5. Insert one tumbler spring (2) above each tumbler (4).
  6. Lubricate the tumblers using Superlube® GM P/N 12346241 or equivalent.
  7. Insert the spring retainer (1) prongs into the slots at the end of each cylinder.

  8. Object Number: 65499  Size: SH
  9. Press down the retainer (1) until fully seated in the depression.

  10. Object Number: 65501  Size: SH
  11. Inspect for proper tumbler installation:
  12. 8.1. Hold the spring retainer (2) in position.
    8.2. Insert the key (1) into the cylinder.
    8.3. The side bar (3) should drop down flush with the cylinder diameter if properly installed.
    8.4. Disassemble and assemble properly as needed.
  13. Remove the key.

  14. Object Number: 65502  Size: SH
  15. Secure the cylinder in the J 41340 .
  16. 10.1. Inspect that the spring retainer is facing up and positioned directly under the punch slots.
    10.2. Push the cylinder into the J 41340 until butted with the cylinder bezel.
    10.3. Tighten the holding screw.

    Object Number: 65503  Size: SH
  17. Stake the bezel end of the retainer in place:
  18. 11.1. Hold the flat side of the punch, part of J 41340 , squarely against the face of the cylinder bezel.
    11.2. Stake the lock cylinder metal over the retainer corners.

    Object Number: 65504  Size: SH
  19. Stake the other end of the retainer:
  20. 12.1. Remove the punch, part of J 41340 .
    12.2. Rotate the punch, part of J 41340 , 180 degrees.
    12.3. Hold the punch, part of J 41340 , squarely against the end of the punch slot on J 41340 .
    12.4. Stake the metal over the other end of the retainer.

    Object Number: 65505  Size: SH
  21. Loosen the holding screw.
  22. Remove the cylinder from the J 41340 .
  23. Inspect that the retainer is properly staked. Restake as needed.
  24. Lubricate the cylinder retainer slot.
  25. Insert the following parts into the cylinder retainer slot:
  26. • The retainer spring (2)
    • The retainer (3)

    Important: Use a paste type grease, not a spray, for the following step.

  27. Lubricate the following parts with GM P/N 12345996 or equivalent as needed:
  28. • The detent pins (1)
    • The cylinder retainer (3)