GM Service Manual Online
For 1990-2009 cars only
Makes
🢒
Chevrolet
🢒
1998
🢒
Chevy P12 Chassis
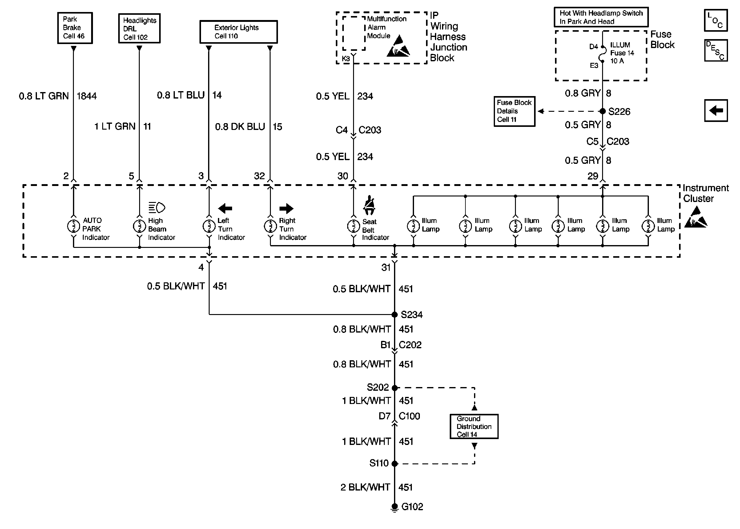
🢒 Cell 81: Indicators and Illumination Lamps
Cell 81: Indicators and Illumination Lamps
Cell 81: Indicators and Illumination Lamps
Instrument Cluster Components
Instrument Cluster Circuit Description
Cell 81: Gauges
Cell 11: ILLUM, RADIO BATT, CIG LTR, AUX PWR, and STOP HZRD fuses, PWR ACCY 1 CKT BRKR
Cell 46
Cell 102: DRL Control Module
Cell 110: Forward Lamps
Handling ESD Sensitive Parts Notice
Handling ESD Sensitive Parts Notice
Cell 14: G102