GM Service Manual Online
For 1990-2009 cars only

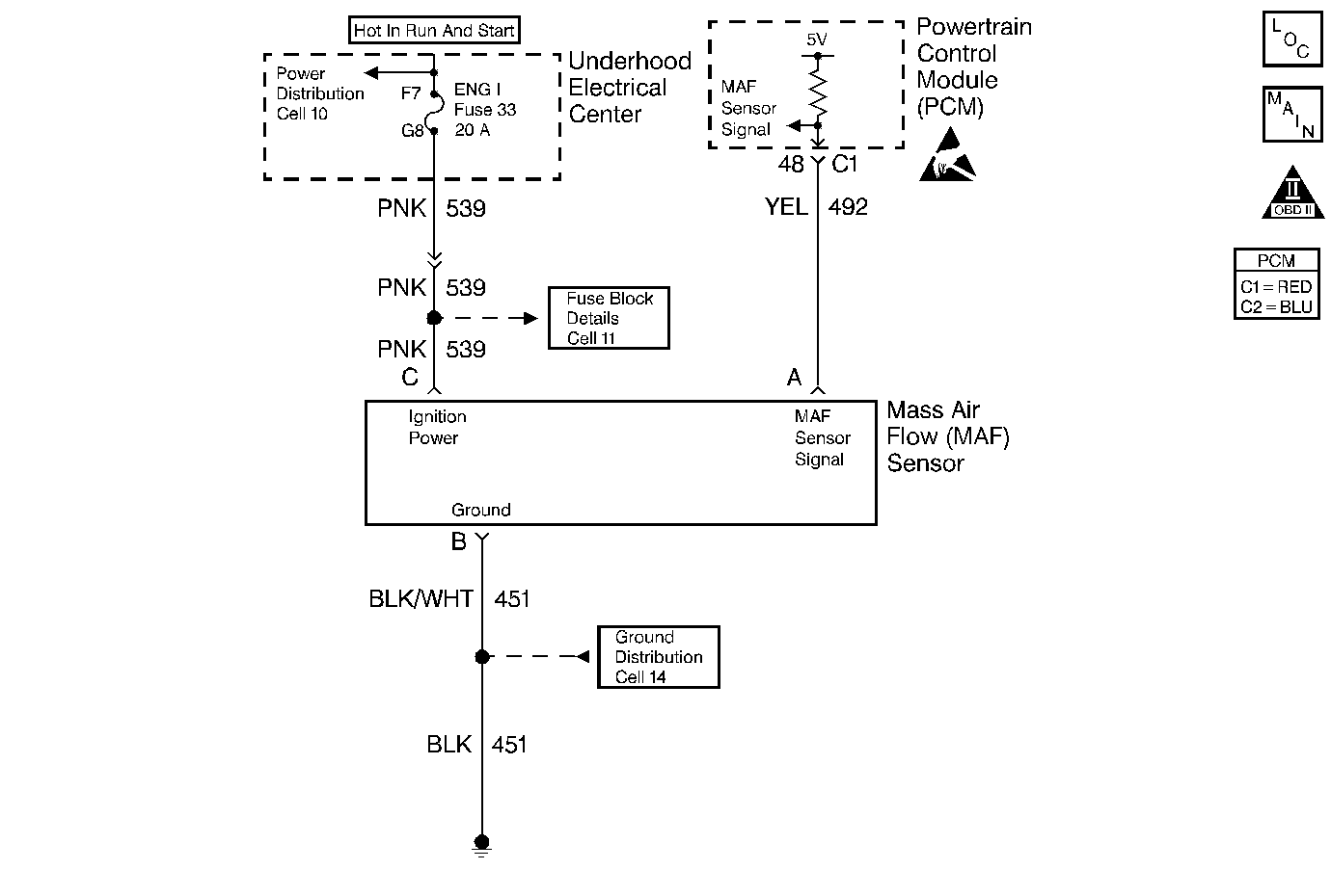
Object Number: 214754  Size: MF
Engine Controls Components
Cell 20: EVAP Purge Valve, MAF Sensor, and Instrument Cluster
OBD II Symbol Description Notice
Handling ESD Sensitive Parts Notice

Circuit Description

The Mass Air Flow (MAF) sensor measures the amount of air that is ingested by the engine. The direct measurement of air entering the engine is more accurate than calculating the airflow from speed/density (MAP, IAT, and RPM ). The MAF sensor has a battery feed, ground and signal circuit. The MAF sensor used on this vehicle is a hot wire type and is used to measure the air flow rate. The MAF output frequency is a function of the power required to keep the air flow sensing elements (hot wires) at a fixed temperature above ambient temperature. Air flowing through the sensor cools the sensing elements. The amount of cooling is proportional to the amount of air flow. As the air flow increases, a greater amount of current is required to maintain the hot wires at a constant temperature. The MAF sensor converts the changes in current draw to a frequency signal which is read by the PCM. The PCM calculates air flow (gram per seconds) based on this signal. The PCM monitors the MAF sensor frequency and can determine if the sensor is stuck low, high, or not providing the airflow value expected for a given operating condition. Another possibility the signal appears to be stuck based on a lack of signal variation expected during normal operation. This diagnostic checks for too low of an airflow rate. When the PCM detects that the MAF sensor grams per second is below a predetermined value.

Conditions for Setting the DTC

    • The engine is OFF
    • The ignition is ON for 2 seconds

High Frequency Test

    • The engine speed is greater than 300 RPM.
    • Engine Run Time is greater than 2.0 second.
    • System voltage is greater than 11 volts.
    • Throttle Position is less than 90%.
    • Engine vacuum is less than 90 kPa (difference between baro and map).
    • Mass Air Flow frequency is greater than 11000 Hz.
    • Above conditions present for greater than 2.0 seconds.

Action Taken When the DTC Sets

    • The PCM turns on the Malfunction Indicator Lamp (MIL) after 2 consecutive driving cycles with the fault active.
    • The PCM will utilize speed density (RPM, MAP, IAT) for fuel management.
    • The PCM will record operating conditions at the time the diagnostic fails. The first time the diagnostic fails, this information will be stored in Failure Records. If the diagnostic reports a failure on the second consecutive drive trip, the operating conditions at the time of failure will be written to Freeze Frame and the Failure record will be updated.

Conditions for Clearing the MIL/DTC

    • The PCM turns the MIL OFF after 3 consecutive drive trips when the test has Run and Passed and not Failed.
    • A history DTC will clear if no fault conditions have been detected for 40 warm-up cycles (coolant temperature has risen 22°C (40°F) from the startup coolant temperature and the engine coolant temperature exceeds 70°C (160°F) during the same ignition cycle).
    • Use the scan tool Clear Information function.
    • A last test failed (Current DTC) will clear when the diagnostic runs and does not fail.
    • Disconnect the PCM battery feed for 30 seconds.

Diagnostic Aids

Important: Water entering the air intake system that reaches the MAF sensor could cause this DTC to set. The water rapidly cools the hot wires in the sensor, causing a false indication of excessive airflow. Inspect the air intake system for evidence (witness marks) of water intrusion.

Inspect for poor connections at the PCM. Perform the following procedures:

    •  Inspect harness connectors for the following conditions:
       - Backed out terminals
       - Improper mating
       - Broken locks
       - Improperly formed or damaged terminals
       - Poor terminal to wire connection
    • Inspect for a misrouted harness. Inspect the MAF sensor harness in order to ensure that it is not routed too close to high voltage wires such as spark plug leads.
    • Inspect for a damaged harness. Inspect the wiring harness for damage. If the harness appears to be OK, observe the scan tool while moving the connectors and the wiring harnesses related to the MAF sensor. A change in the display indicates the location of the fault.
    • Inspect for any unmetered air. Unmetered air may cause this DTC to set. Inspect for the following conditions:
       - An engine vacuum leak
       - The PCV system for vacuum leaks
       - An incorrect PCV valve
       - The oil dip stick not fully seated
       - The engine oil fill cap loose or missing

For any test that requires probing the PCM or component harness connectors, use the connector test adapter kit J 35616 . Using this kit prevents any damage to the harness connector terminals.

Test Description

The numbers below refer to the step numbers on the diagnostic table.

  1. Monitoring the MAF sensor frequency will determine if the fault is present or the malfunction is intermittent. A poor connection at the MAF sensor or at the fuse causes this DTC to set. For any test that requires probing the PCM or component harness connectors, use the Connector Test Adapter Kit J 35616 . Using this kit will prevent any damage to the harness connector terminals.

  2. Using the Freeze Frame and/or Failure Records data may aid in locating an intermittent condition. If you cannot duplicate the DTC, the information included in the Freeze Frame and/or Failure Records data can help determine how many miles since the DTC set. The Fail Counter and Pass Counter can also help determine how many ignition cycles the diagnostic reported a pass and/or a fail. Operate the vehicle within the same freeze frame conditions (RPM, load, vehicle speed, temperature etc.) that you observed. This will isolate when the DTC failed. For any test that requires probing the PCM or component harness connectors, use the Connector Test Adapter Kit J 35616 . Using this kit prevents any damage to the harness connector terminals.

  3. This step checks for electro-magnetic interference on the MAF sensor signal circuit. There should be no signal indicated on the scan tool with the sensor disconnected.

Step

Action

Value(s)

Yes

No

1

Did you perform the Powertrain On-Board Diagnostic (OBD) System Check?

--

Go to Step 2

Go to Powertrain On Board Diagnostic (OBD) System Check

2

  1. Idle the engine.
  2. Monitor the MAF sensor display on the Engine 2 Data List of the scan tool.

Is the MAF sensor frequency above the specified value?

11,000 Hz

Go to Step 4

Go to Step 3

3

  1. Turn ON the ignition leaving the engine OFF.
  2. Review the Freeze Frame and/or Failure Records data for this DTC and observe the parameters.
  3. Turn OFF the ignition for 15 seconds.
  4. Start the engine.
  5. Operate the vehicle within the conditions required for this diagnostic to run, and as close to the conditions recorded in the Freeze Frame/Failure Records as possible. Special operating conditions that you need to meet before the PCM will run this diagnostic, where applicable, are listed in Conditions for Running the DTC.
  6. Select the Diagnostic Trouble Code (DTC) option, the Specific DTC option, then enter the DTC number using the scan tool.

Does the scan tool indicate that this diagnostic failed this ignition?

--

Go to Step 4

Go to Diagnostic Aids

4

  1. Turn OFF the ignition.
  2. Disconnect the MAF sensor connector.
  3. Idle the engine.
  4. Monitor the MAF sensor frequency using the scan tool.

Does scan tool indicate a MAF sensor frequency?

--

Go to Step 7

Go to Step 5

5

  1. Check for a poor connection at the MAF sensor harness terminals.
  2. Replace the faulty terminal(s) if you find a poor connection. Refer to Body and Accessories/Wiring Systems.

Did you find and correct the condition?

--

Go to Step 10

Go to Step 6

6

Replace the MAF sensor. Refer to Mass Airflow Sensor Replacement .

Is the action complete?

--

Go to Step 10

--

7

  1. Check the MAF sensor harness for incorrect routing at the following locations:
  2. • Near secondary ignition wires or components.
    • Other high current components. Such as solenoids, relays, and motors.
  3. Correct the harness routing if you find incorrect routing.

Did you find and correct the condition?

--

Go to Step 10

Go to Step 8

8

  1. Check the MAF sensor signal circuit terminal connections at the PCM connector located on the opposite side of the manufacturer's logo.
  2. Replace the faulty terminal(s) if you find a poor connection. Refer to Body and Accessories/Wiring Systems.

Did you find and correct the condition?

--

Go to Step 10

Go to Step 9

9

Important:: Program the replacement PCM. Refer to Powertrain Control Module Replacement .

Replace the PCM.

Is the action complete?

--

Go to Step 10

--

10

  1. Select the Diagnostic Trouble Code (DTC) option and the Clear DTC Information option using the scan tool.
  2. Idle the engine at the normal operating temperature.
  3. Select the Diagnostic Trouble Code (DTC) option and the Specific DTC option, then enter the DTC number using the scan tool.
  4. Operate the vehicle within the Conditions for Running the DTC as specified in the supporting text, if applicable.

Does the scan tool indicate that this test ran and passed?

--

Go to Step 11

Go to Step 2

11

Select the Capture Info option and the Review Info option using the scan tool.

Does the scan tool display any DTCs that you have not diagnosed?

--

Go to the applicable DTC table.

System OK