GM Service Manual Online
For 1990-2009 cars only

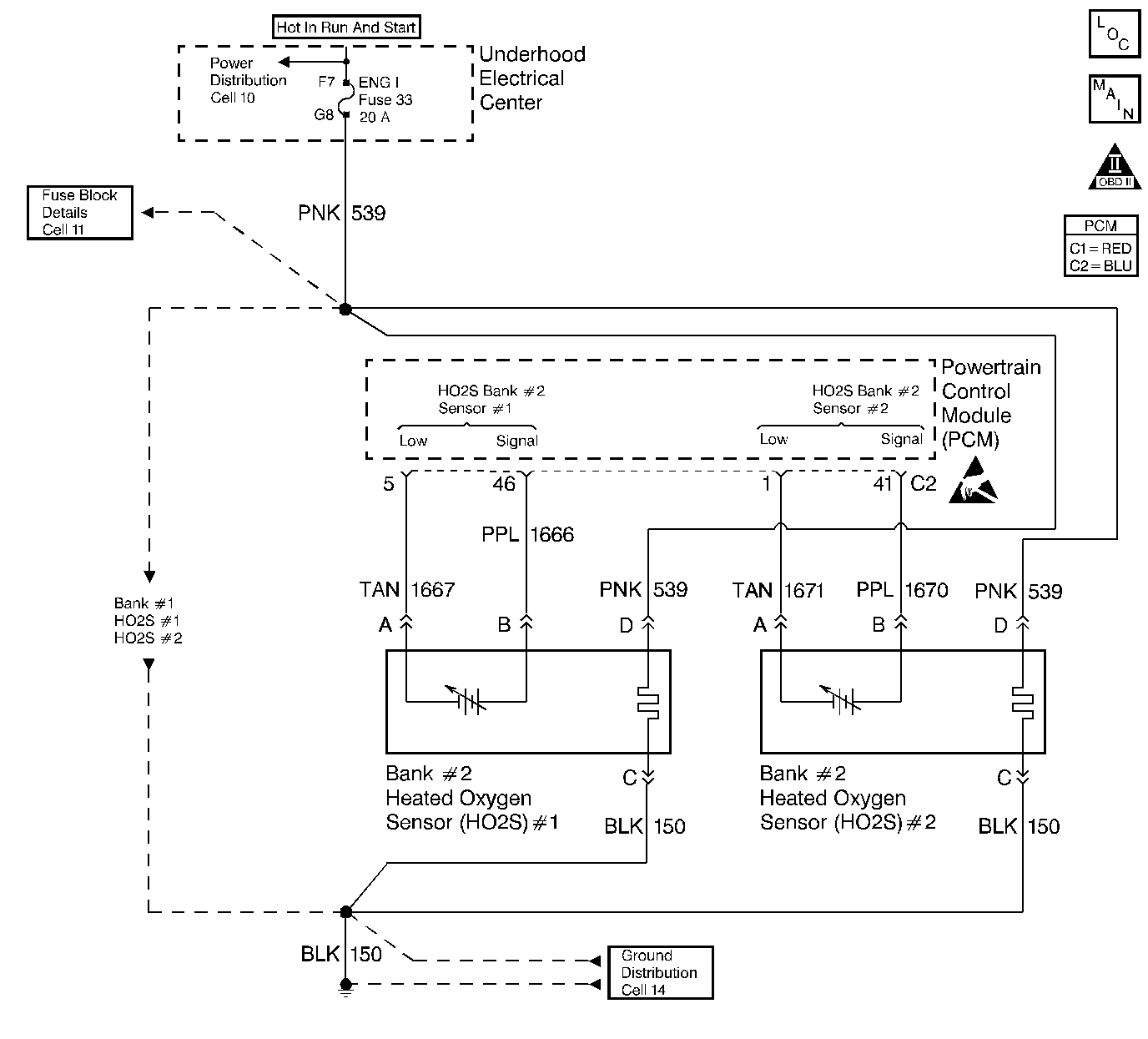
Circuit Description


Object Number: 214936  Size: LF
Engine Controls Components
Cell 20: Heated Oxygen Sensors
OBD II Symbol Description Notice
Handling ESD Sensitive Parts Notice

The PCM supplies a voltage of about 450 mV between the HO2S high and low signal circuits. The oxygen sensor varies the voltage over a range from about 1000 mV when the exhaust is rich, down through about 10 mV when the exhaust is lean.

The PCM monitors and stores the heated oxygen sensor (HO2S) voltage information. The PCM evaluates the HO2S voltage samples in order to determine the amount of time the HO2S voltage was out of range. The PCM compares the stored HO2S voltage samples taken within each sample period and determines if majority of the samples are out of the operating range.

The PCM monitors the HO2S voltage for being fixed below a predetermined voltage. This DTC will set if the PCM detects the voltage is below a predetermined voltage.

Conditions for Setting the DTC

Criteria 1

    • DTCs P0102, P0103, P0112, P0113, P0117, P0118, P0335, P0336, P1120, P1220, P1221, not set.
    • The engine coolant temperature is greater than 60°C (140°F).
    • The ignition voltage is greater than 9.0  volts.
    • The fuel system is operating in Closed Loop.
    • The fuel trim learn is enabled.
    • The air/fuel ratio is between 14.5:1 and 14.7:1.
    • The TP angle is between 10% and 26%.
    • The HO2S signal voltage remains below 40 mV.
    • The Criteria 1 conditions are present for 40 seconds.

OR

Criteria 2

    • DTCs P0102, P0103, P0112, P0113, P0117, P0118, P0335, P0336, P1120, P1220, P1221, not set.
    • The ignition voltage is greater than 9.0 volts.
    • The Power Enrichment mode is enabled for greater than 1.0 second.
    • The HO2S signal voltage remains below 420 mV.
    • The Criteria 2 conditions are present for 4.5 seconds during the Power Enrichment mode.

Action Taken When the DTC Sets

    • The PCM illuminate the Malfunction Indicator Lamp (MIL) on the second consecutive drive trip that the diagnostic runs and fails, if the diagnostic fails under the same conditions (load, RPM, temperature, etc.) as the previous ignition cycle that the test ran and failed..
    • The first time the diagnostic fails, the PCM records the operating conditions in Faiture Records.
    • The second consecutive drive trip that that this diagnostic fails under the same conditions (load, RPM, temperature, etc.) as the previous ignition cycle that the test ran and failed, the PCM stores this information in Freeze Frame. The PCM copies any data previously stored in Freeze Frame and copies the data into the Failure Records. The PCM then overwrites the Freeze Frame and the PCM updates the HO2S data in the Failure Records.
    • Open Loop Fueling.

Conditions for Clearing the MIL/DTC

    • The PCM turns the MIL OFF after three consecutive drive trips that the diagnostic runs and does not fail within the same conditions that the DTC last failed.

       Important: If the last failure was during a non-typical driving condition, the MIL may remain ON longer than the three drive trips. Review the Freeze Frame/Failure Records for the last failure conditions.

    • A History DTC clears after forty consecutive warm-up cycles, if this or any other emission related diagnostic does not report any failures.
    • A last test failed (Current DTC) clears when the diagnostic runs and does not fail.
    • The PCM battery voltage is interrupted.
    • Use a scan tool in order to clear the MIL/DTC.

Diagnostic Aids

Important: Remove any debris from the PCM connector surfaces before servicing the PCM. Inspect the PCM connector gaskets when diagnosing/replacing the modules. Ensure that the gaskets are installed correctly. The gaskets prevent water intrusion into the PCM.

    • Heated Oxygen Sensor (HO2S) wire: Sensor pigtail may be in contact with the exhaust manifold or the exhaust system.
    • An oxygen supply inside the HO2S is necessary for proper operation. The HO2S wires provides the supply of oxygen. Inspect the HO2S wires and connections for breaks or contamination. Refer to Body and Accessories/Wiring Systems.
    • Check for intermittent ground in signal wire between connector and sensor.
    • Lean injector(s): Perform the Injector Balance Test.
    • Fuel contamination: Water near the in-tank fuel pump inlet can be delivered to the injectors. The water causes a lean exhaust and can set a DTC.
    • Fuel pressure: System will be lean if fuel pressure is low. Refer to Fuel System diagnosis.
    • Exhaust leaks: An exhaust leak near the HO2S can cause a lean condition.
    • Vacuum or crankcase leaks can cause a lean condition.
    • If the above are OK, the HO2S may be at fault.

For an intermittent condition, refer to Symptoms .

Test Description

The numbers below refer to the step numbers on the diagnostic table.

  1. If the HO2S voltage is fix well below 200 Mv, this indicates a short to battery ground or chassis ground. If the voltage is fix near or above 200 Mv, this indicates a short to a PCM ground. When the HO2S voltage is fix near 200 Mv, indicates the DTC set when the fuel system was in a Power Enrichment mode of operation.

    The engine must be at the normal operating temperature before performing this test. For any test that requires probing the PCM or a component harness connector, use the Connector Test Adapter Kit J 35616 . Using this kit prevents damage to the harness connector terminals.

  2. Using the Freeze Frame and/or Failure Records data may aid in locating an intermittent condition. If you can not duplicate the DTC, the information included in the Freeze Frame and/or Failure Records data can help determine how many miles since the DTC set. The Fail Counter and Pass Counter can also be used to determine how many ignition cycles the diagnostic reported a pass and/or a fail. Operate the vehicle within the same freeze frame conditions (RPM, load, vehicle speed, temperature etc.) that the PCM recorded. This will isolate when the DTC failed.

  3. Grounding the low side circuit of the HO2S should cause the HO2S voltage to display a bias voltage. A voltage staying near 0.0 volts indicates the low circuit is open, or the high circuit is open or grounded.

  4. Disconnecting the PCM allows using a DMM J 39200 in order in order to check continuity of the circuits. This aids in locating an open or shorted circuit.

Step

Action

Value(s)

Yes

No

1

Did you perform the Powertrain On-Board Diagnostic (OBD) System Check?

--

Go to Step 2

Go to Powertrain On Board Diagnostic (OBD) System Check

2

Important: Check the HO2S for being secure before proceeding with this DTC. A sensor that is loose could cause this DTC to set.

  1. Install a scan tool.
  2. Idle the engine at the normal operating temperature.
  3. Operate the vehicle within the parameters specified under Conditions for Running the DTC in the supporting text.
  4. Monitor the HO2S voltage display on the Engine 1 Data List using the scan tool.

Is the HO2S voltage less than the specified value?

40 mV

Go to Step 4

Go to Step 3

3

  1. Turn ON the ignition leaving the engine OFF.
  2. Review the Freeze Frame and/or Failure Records data for this DTC and observe the parameters.
  3. Turn OFF the ignition for 15 seconds.
  4. Idle the engine.
  5. Operate the vehicle within the conditions required for this diagnostic to run, and as close to the conditions recorded in Freeze Frame/Failure Records as possible. Special operating conditions that need to be met before the PCM will run this diagnostic, where applicable, are listed in Conditions for Running the DTC.
  6. Select the Diagnostic Trouble Code (DTC) option and the Specific DTC option, then enter the DTC number using the scan tool.

Does the scan tool indicate that this diagnostic failed this ignition?

--

Go to Step 4

Go to Diagnostic Aids

4

  1. Disconnect the HO2S.
  2. Jumper the HO2S low circuit (PCM side) to a ground.

Does the scan tool indicate the HO2S voltage is within the specified range?

350-550 mV

Go to Diagnostic Aids

Go to Step 5

5

  1. Turn OFF the ignition.
  2. Disconnect the PCM connector. Refer to Powertrain Control Module Replacement .
  3. Check the HO2S signal circuit for a short to ground or a short to the sensor ground circuit.

Is the HO2S signal circuit shorted?

--

Go to Step 6

Go to Step 7

6

Repair the HO2S signal circuit. Refer to Body and Accessories/Wiring Systems.

Is the action complete?

--

Go to Step 8

--

7

Important:: Program the replacement PCM. Refer to Powertrain Control Module Replacement .

Replace the PCM.

Is the action complete?

--

Go to Step 8

--

8

  1. Select the Diagnostic Trouble Code (DTC) option and the Clear DTC Information option using the scan tool.
  2. Idle the engine at the normal operating temperature.
  3. Select the Diagnostic Trouble Code (DTC) option and the Specific DTC option, then enter the DTC number using the scan tool.
  4. Operate the vehicle within the Conditions for Running the DTC as specified in the supporting text, if applicable.

Does the scan tool indicate that this test ran and passed?

--

Go to Step 9

Go to Step 2

9

Select the Capture Info option and the Review Info option using the scan tool.

Does the scan tool display any DTCs that you have not diagnosed?

--

Go to the applicable DTC table

System OK