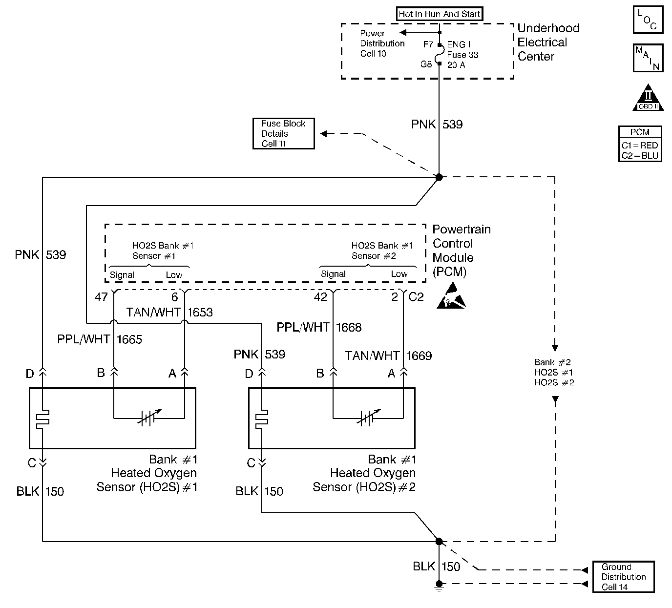
The PCM supplies a voltage of about 450 mV between the HO2S high and low signal circuits. The oxygen sensor varies the voltage over a range from about 1000 mV when the exhaust is rich, down through about 10 mV when the exhaust is lean.
The PCM monitors and stores the heated oxygen sensor (HO2S) voltage information. The PCM evaluates the HO2S voltage samples in order to determine the amount of time the HO2S voltage was out of range. The PCM compares the stored HO2S voltage samples taken within each sample period and determines if majority of the samples are out of the operating range.
The PCM monitors the HO2S voltage for being fixed above a predetermined voltage. If the PCM detects the voltage is above a predetermined voltage, this DTC will set .
| • | DTCs P0102, P0103, P0112, P0113, P0117, P0118, P0335, P0336, P1120, P1220, P1221, not set. |
| • | The engine coolant temperature is greater than 60°C (140°F). |
| • | The ignition voltage is greater than 9.0 volts. |
| • | The fuel system operating in Closed Loop. |
| • | The fuel trim learn is enabled. |
| • | The air/fuel ratio is between 14.5:1 and 14.7:1. |
| • | The HO2S signal voltage remains above 775 mV. |
| • | The Criteria 1 conditions are present for 31 seconds. |
OR
| • | DTCs P0102, P0103, P0112, P0113, P0117, P0118, P0335, P0336, P1120, P1220, P1221, not set. |
| • | The ignition voltage is greater than 9.0 volts. |
| • | Deceleration Fuel Cut-off mode is enabled for greater than 1.0 second. |
| • | The HO2S signal voltage remains above 540 mV . |
| • | The Criteria 2 condition are present for 4.5 seconds during Deceleration Fuel Cut-off . |
| • | The PCM illuminate the malfunction indicator lamp (MIL) on the second consecutive drive trip that the diagnostic runs and fails, if the diagnostic fails under the same conditions (load, RPM, temperature, etc.) as the previous ignition cycle that the test ran and failed. |
| • | The first time the diagnostic fails, the PCM records the operating conditions in Failure Records. |
| • | The second consecutive drive trip that this diagnostic fails under the same conditions (load, RPM, temperature, etc.) as the previous ignition cycle that the test ran and failed, the PCM stores this information in Freeze Frame. The PCM copies any data previously stored in Freeze Frame and copies the data into the Failure Records. The PCM then overwrites the Freeze Frame and the PCM updates the HO2S data in the Failure Records. |
| • | Open Loop Fueling. |
| Important: If the last failure was during a non-typical driving condition, the MIL may remain ON longer than the three drive trips. Review the Freeze Frame and Failure Records for the last failure conditions. |
| • | The PCM turns the MIL OFF after 3 consecutive drive trips that the diagnostic runs and does not fail within the same conditions that the DTC last failed. |
| • | A History DTC clears after 40 consecutive warm-up cycles, if this or any other emission related diagnostic does not report any failures. |
| • | A last test failed (Current DTC) clears when the diagnostic runs and does not fail. |
| • | The PCM battery voltage is interrupted. |
| • | Use a scan tool in order to clear the MIL/DTC. |
Important: Remove any debris from the PCM connector surfaces before servicing the PCM. Inspect the PCM connector gaskets when diagnosing/replacing the PCM. Ensure that the gaskets are installed correctly. The gaskets prevent water intrusion into the PCM.
| • | Check the HO2S electrical connections for evidence of water intrusion. Water present in the connector causes the B+ supply to the heater to bleed over to the signal circuit. |
| • | Fuel pressure: The system goes rich if the pressure is too high. The PCM compensates for some increase. However, if the fuel pressure is too high, a DTC may set. Refer to Fuel System Diagnosis . |
| • | Rich injector(s): Perform the Injector Balance Test. |
| • | Leaking injector: Refer to the Fuel System Diagnosis . |
| • | Evaporative emissions (EVAP) canister purge. Check for fuel saturation. If full of fuel, check the canister control and hoses. Refer to Evaporative Emission Control System Operation Description . |
| • | MAF sensor: Disconnect the MAF sensor and see if the rich condition is corrected. If so, check for proper installation. If installed OK, replace the MAF sensor. If the MAF sensor is installed backwards, the system goes rich. The plastic portion of the sensor has arrows cast into it indicating proper air flow direction. The arrows must point towards the engine. |
| • | An oxygen supply inside the HO2S is necessary for proper operation. The HO2S wires provides the supply of oxygen. Inspect the HO2S wires and connections for breaks or contamination. Refer to Body and Accessories/Wiring Systems. |
| • | Check for a leaking fuel pressure regulator diaphragm by checking the line to the regulator for fuel. |
| • | TP sensor: An intermittent TP sensor output causes the system to go rich, due to a false indication of the engine accelerating. For an intermittent condition, refer to Symptoms . |
The numbers below refer to the step numbers on the diagnostic table.
The engine must be at the normal operating temperature before performing this test. For any test that requires probing the PCM or a component harness connector, use the Connector Test Adapter Kit J 35616 . Using this kit prevents damage to the harness connector terminals.
Using the Freeze Frame and/or Failure Records data may aid in locating an intermittent condition. If you can not duplicate the DTC, the information included in the Freeze Frame and/or Failure Records data can help determine how many miles since the DTC set. The Fail Counter and Pass Counter can also aid in determining how many ignition cycles the diagnostic reported a pass and/or a fail. Operate the vehicle within the same freeze frame conditions (RPM, load, vehicle speed, temperature etc.) that the PCM recorded. This will isolate when the DTC failed. Refer to Symptoms .
Grounding the low side circuit of the HO2S should cause the HO2S voltage to display a bias voltage.
Review the system mechanization. Check for a short between the HO2S signal circuit and any other wires powered by this fuse that run together inside the same harness.
Step | Action | Value(s) | Yes | No |
|---|---|---|---|---|
1 | Did you perform the Powertrain On-Board Diagnostic (OBD) System Check? | -- | ||
Is the HO2S voltage greater than the specified value? | 775 mV | |||
Does the scan tool indicate that this diagnostic failed this ignition? | -- | Go to Diagnostic Aids | ||
4 |
Does the voltage drop to within the specified range when the power to the heater is disconnected? | 350-550 mV | ||
Does the scan tool indicate the HO2S voltage within the specified range? | 350-550 mV | |||
6 |
Does the voltage drop to within the specified range when the power to the heater is disconnected? | 350-550 mV | ||
7 |
Is a voltage present? | -- | Go to Diagnostic Aids | |
8 | Repair the short to voltage in the HO2S signal circuit. Refer to Body and Accessories/Wiring Systems. Is the action complete? | -- | -- | |
Repair the short between the HO2S signal circuit and the HO2S heater B+ circuit. Refer to Body and Accessories/Wiring Systems. Is the action complete? | -- | |||
10 | Replace the HO2S. Refer to Heated Oxygen Sensor Replacement - Bank 1 . Is the action complete? | -- | -- | |
11 |
Important:: Program the replacement PCM. Refer to Powertrain Control Module Replacement . Replace the PCM. Is the action complete? | -- | -- | |
12 |
Does the scan tool indicate that this test ran and passed? | -- | ||
13 | Select the Capture Info option and the Review Info option using the scan tool. Does the scan tool display any DTCs that you have not diagnosed? | -- | Go to the applicable DTC table | System OK |