GM Service Manual Online
For 1990-2009 cars only

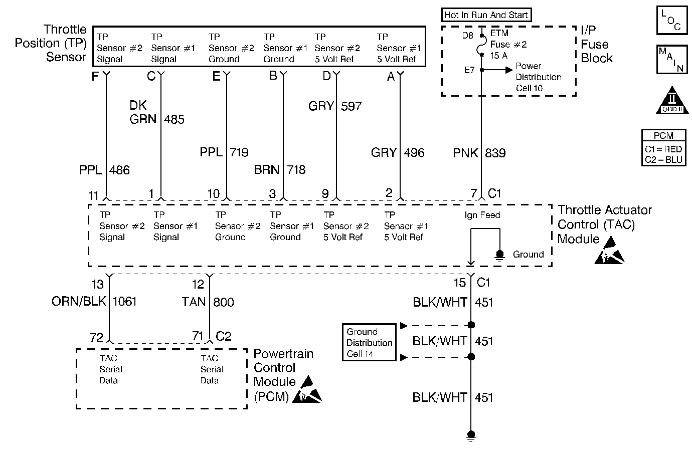
Object Number: 215100  Size: MF
Engine Controls Components
Cell 20: Throttle Actuator Control (TAC) Module
OBD II Symbol Description Notice
Handling ESD Sensitive Parts Notice
Handling ESD Sensitive Parts Notice

Circuit Description

The Accelerator Pedal Position (APP) sensor is mounted on the accelerator pedal assembly. The sensor is actually three individual Accelerator Pedal Position sensors within one housing. Three separate signal, ground and 5.0 volt reference circuits are used to connect the Accelerator Pedal Sensor assembly and the Throttle Actuator Control (TAC) Module. If only one APP sensor DTC is set, the redundant APP systems allow the Throttle Actuator Control (TAC) system to continue operating normally. This DTC sets if the PCM detects a problem with more than one APP sensor. One APP sensor DTC will not cause the Reduced Engine Power message to be displayed. Two APP sensor DTCs for the same sensor also will not cause the Reduced Engine Power message to be displayed. However, if two or more DTCs are set involving more than one APP sensor, this DTC will set. The Reduced Engine Power message is displayed.

Conditions for Setting the DTC

    • DTCs P1517, P1518 are not set.
    • Ignition switch in the crank or run position.
    • Ignition voltage greater than 5.23 volts.
    • Two or more APP sensors are out of range or all three APP sensors disagree or one APP sensor is out of range and the other two APP sensors disagree.
    • All above conditions met for less than 1 second.

Action Taken When the DTC Sets

    • The PCM will illuminate the Malfunction Indicator Lamp (MIL) and the Reduced Engine Power light will be on when the diagnostic fails.
    • The PCM will record operating conditions at the time the diagnostic fails. This information will be stored in the Freeze Frame and/or Failure Records.
    • If no other TAC System DTCs are set, the TAC System will operate in Reduced Engine Power mode, and this DTC will be stored. If certain TAC System DTCs are set at the same time, the TAC System will either default to a more tightly restricted mode of operation if it is determined that limited safe operation is possible, or command engine shut down.

Conditions for Clearing the MIL/DTC

    • The PCM will turn the MIL off after three consecutive drive trips that the diagnostic runs and does not fail.
    • A History DTC will clear after forty consecutive warm-up cycles, if no failures are reported by this or any other emission related diagnostic.
    • A last test failed (Current DTC) will clear when the diagnostic runs and does not fail.
    • PCM battery voltage is interrupted.

       Important:: The clear DTC info function may have to be performed twice in order to clear a Throttle Actuator Control System DTC.

    • Using a Scan tool.

Diagnostic Aids

An intermittent may be caused by the following:

    • Poor connections. Check for adequate terminal tension. Refer to Body and Accessories/Wiring Systems for proper procedure.
    • Corrosion
    • Mis-routed harness.
    • Rubbed through wire insulation.
    • Broken wire inside the insulation.
    • Inspect the TAC module connectors for signs of water intrusion. When this occurs, multiple DTCs should be set and no circuit or component problems can be located.
    • Refer to Intermittents under service category Symptoms .
    • If a repair is completed and the DTC was cleared using a scan tool on the same ignition cycle, the default action will not clear until an ignition cycle has occurred.

Test Description

The numbers below refer to the step numbers on the diagnostic table.

  1. When the problems are corrected which are causing the APP sensor DTCs to set, the status of this DTC will change to History.

    When the TAC module detects a problem within the TAC System, more than one TAC System related DTC may set. This is due to the many redundant tests run continuously on this system. Locating and repairing one individual problem may correct more than one DTC. Keep this in mind when reviewing captured DTC info.

DTC P1125 - Accelerator Pedal Position (APP) Sensor System

Step

Action

Value(s)

Yes

No

1

Did you perform the Powertrain On-Board Diagnostic (OBD) System Check?

--

Go to Step 2

Go to Powertrain On Board Diagnostic (OBD) System Check

2

This DTC indicates that two or more APP sensor DTCs are also set. Review DTCs. Go to the APP sensor DTCs that are set and perform those diagnostic procedures.

--

--

--