GM Service Manual Online
For 1990-2009 cars only

Tools Required

    • J 21363 Intermediate Clutch Inner Seal Protector
    • J 23327 Clutch Spring Compressor
    • J 38734 Intermediate Clutch Piston Compressor Adapter
    • J 38735-1 Solid Seal Installer
    • J 38735-2 Seal Sizer
    • J 38735-3 Seal Pusher
    • J 36850 TRANSJELâ„¢

    Object Number: 54646  Size: SH
  1. Install the oil cooler fitting seal (690) into the center support (640).

  2. Object Number: 28706  Size: SH
  3. Lubricate the new inner (637) and outer (638) intermediate clutch piston seals and seal pockets in the housing with DEXRON III® transmission fluid.
  4. Install the inner (637) and outer (638) intermediate clutch piston seals onto the intermediate clutch piston (636) with the seal lip facing away from the spring pockets.

  5. Object Number: 54571  Size: SH
  6. Install the intermediate clutch piston (636) onto the center support (640) using the J 21363 . A fine gauge feeler blade can be used to assist with the piston outer seal installation.
  7. Remove J 21363 .

  8. Object Number: 28709  Size: SH
  9. Install the intermediate clutch piston spring and retainer assembly (635). Align the springs with the pockets in the intermediate clutch piston.
  10. Install the intermediate clutch piston retainer ring (634) using J 38734 and J 23327 .
  11. Remove the tools.

  12. Object Number: 28711  Size: SH
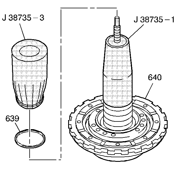
  13. Preheat the new direct clutch housing oil seals (639) in hot tap water to aid installation.
  14. Place J 38735-1 over the center support hub. Adjust J 38735-1 to the bottom seal groove.
  15. Place one new seal onto J 38735-1 .
  16. Use J 38735-3 to push the seal into the lower seal groove.
  17. Remove the tools.

  18. Object Number: 28716  Size: SH
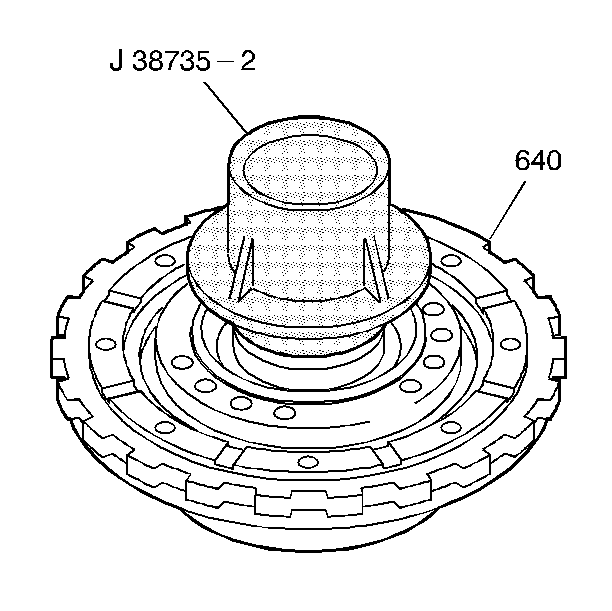
  19. Place the small bevel end of J 38735-2 over the seal.
  20. Leave J 38735-2 in place for at least one minute to allow the oil seal to return to the proper size.
  21. Use J 36850 or the equivalent in order to keep the seals in place.
  22. Remove J 38735-2 .

  23. Object Number: 28717  Size: SH
  24. Repeat the installation procedure for the remaining seals. Adjust J 38735-1 for each seal groove.
  25. Place the large bevel end of J 38735-2 over the oil seals.
  26. Leave J 38735-2 in place for at least one minute to allow the oil seals to return to the proper size.
  27. Use J 36850 or the equivalent in order to keep the seals in place.