GM Service Manual Online
For 1990-2009 cars only

Notice: Do not subject a throttle body assembly which contains the following components to an immersion cleaner or a strong solvent:

   • Throttle position (TP) sensor
   • Idle air control (IAC) valve
   • Sealed throttle shaft bearings
The cleaners will damage the electric components or sensors.

The cleaners will damage some of these components that contain seals or O-rings.

Solvents can wash away or break down the grease used on non-serviceable throttle shaft bearings.

Never use a wire brush or scraper to clean the throttle body. A wire brush or sharp tools may damage the throttle body components.

Do not use a cleaner that contains methyl ethyl ketone. This extremely strong solvent may damage components and is not necessary for this type of cleaning.

Removal Procedure

  1. Disconnect the negative battery cable.

  2. Object Number: 239863  Size: SH
  3. Remove the air inlet duct fastener and duct. Refer to Air Cleaner Inlet Duct Replacement .
  4. Disconnect the IAC valve and TP sensor electrical connectors.
  5. Disconnect the throttle, and cruise control cables. Refer to Accelerator Control Cable Replacement
  6. Remove the accelerator cable bracket bolts and bracket.

  7. Object Number: 18299  Size: SH
  8. Remove the wiring harness fastener nut and throttle body retaining studs

  9. Object Number: 18302  Size: SH
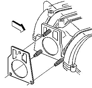
  10. Remove the throttle body assembly.

  11. Object Number: 18303  Size: SH
  12. Remove the gasket and discard.
  13. Notice: Use care when cleaning the old gasket from the aluminum surfaces in order to prevent damage to the sealing surfaces.

  14. Clean the gasket surface of the intake manifold.

Installation Procedure


    Object Number: 18303  Size: SH
  1. Install the new gasket.

  2. Object Number: 18302  Size: SH
  3. Install the throttle body assembly.

  4. Object Number: 18299  Size: SH

    Notice: Use the correct fastener in the correct location. Replacement fasteners must be the correct part number for that application. Fasteners requiring replacement or fasteners requiring the use of thread locking compound or sealant are identified in the service procedure. Do not use paints, lubricants, or corrosion inhibitors on fasteners or fastener joint surfaces unless specified. These coatings affect fastener torque and joint clamping force and may damage the fastener. Use the correct tightening sequence and specifications when installing fasteners in order to avoid damage to parts and systems.

  5. Install the throttle body retaining studs and wiring harness fastener and nuts.
  6. Tighten
    Tighten to 25 N·m (18 lb ft).

  7. Connect the throttle and cruise control cables. Refer to Accelerator Control Cable Replacement .
  8. Install the accelerator cable bracket and bolts.
  9. Connect the IAC valve and TP sensor electrical connectors.

  10. Object Number: 239863  Size: SH
  11. Install the air inlet duct and retaining clamps.
  12. Tighten
    Tighten the nut to 2 N·m (18 lb in).

  13. Connect the negative battery cable.
  14. With the engine OFF, check to see that the accelerator pedal is free. Depress the pedal to the floor and release.