GM Service Manual Online
For 1990-2009 cars only
Makes
🢒
Chevrolet
🢒
1998
🢒
Chevy P32 RV/Van Chassis
🢒
Suspension
🢒
Wheel Alignment
🢒 Front Camber Adjustment
Determine the camber angle using the alignment equipment.
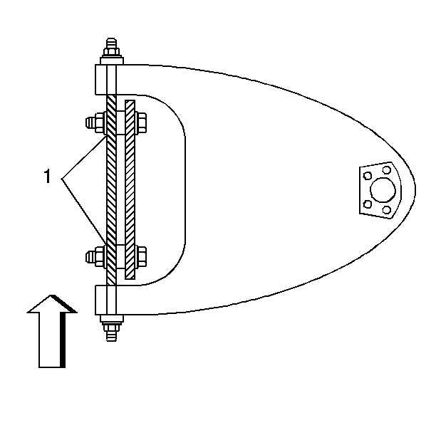
Add or subtract the shims from both the front (1) and the rear bolts (1) in order to effect a change.